侧动式除应力分弦滑块的制作方法

本技术涉及复合弓配件结构种类设计研发与生产制造领域,特别是侧动式除应力分弦滑块。
背景技术:
1、侧窗式复合弓的分弦器,可以划分为:固定式、弹性式、滑动式、浮动式这四类。其中,浮动分弦器的本质结构是分弦滑轮安置在一个铰链结构上,设计师通过利用铰链的运动特性,预设定了副揽的位移轨迹,未拉弓时,副揽被分弦器上的滑轮拉至一侧以给箭只让出空间,而在随着射手拉弓,分弦器在预设轨迹内移动,与弹性分弦器相比,不会因为弹片的弹力增加额外的分弦应力,因此不会对弓片产生额外的牵扯力,而由于浮动分弦器是依据机械结构运动,也不会有弹性分弦器的弹片老化失效问题;实际应用中,副揽的移动更接近自然受力状态,所增益的效果不仅让现代复合弓的分弦应力得到了良好的解决,还提升了弓的性能,浮动分弦器最大程度降低了弓片偏转力、副揽与副轮的摩擦力,所节约的能量全部转换到箭只上,取得拉力更轻,而箭速更高的成果,而且对拉弓体感上,使得拉弓更顺滑;而目前市面上浮动分弦器的缺点一方面是,结构较为复杂从而导致成本位居所有分弦器结构榜首,另一方面,浮动分弦器的尺寸和形状不具备通用性。
2、现有技术中国专利文件cn212133444u公布了一种转动分弦器和装配该转动分弦器的复合弓,其中通过在不接触副缆避免副缆磨损的同时使开弓过程中副缆中的内侧缆向两端运动产生的拉力转型为外侧缆固定点向中心线方向垂直角度的拉力,从而使开弓后外侧两根缆之间的间距减小,并在回弹之后回归原始间距,不影响箭支通过性。但在实际应用中,该机构是典型的中窗弓,副揽处于弓两侧,它的原始弓型具备4根副揽,此专利这个分弦器的功能,是将两侧副揽撑开,达到让箭羽通过的目的,不具备对侧窗弓单侧副揽引导轨迹的功能
3、只能适用于少部分副揽结构与其类似的符合工伤,并不具有普遍性,
技术实现思路
1、针对上述情况,为克服现有技术之缺陷,本实用新型提供了侧动式除应力分弦滑块,有效的解决了现有技术中的浮动分弦器结构较为复杂从而导致成本居高不下,不具备通用性的问题。
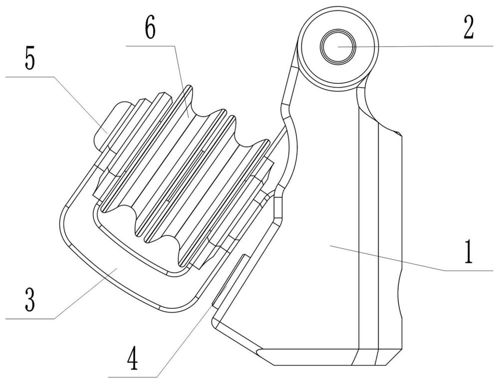
2、其解决的技术方案是,包括套装在分弦杆上的主体架,主体架左侧有浮动架,浮动架呈开口朝向右上方的u形,浮动架的右侧板的上端与主体架上端之间经转轴铰接在一起,浮动架能绕着转轴上下摆动;主体架下端设有可调节缓冲停止点,浮动架内安装有销轴,销轴上套装有能转动的滑轮,滑轮与副揽接触。
3、所述的可调节缓冲停止点为可调节左侧伸出的长度。
4、所述的可调节缓冲停止点为螺钉,螺钉经螺纹结构与主体旋拧在一起。
5、所述的滑轮与销轴之间安装有轴承。
6、本实用新型结构巧妙,能够简单且有效地适应于在各种类型的复合弓上的最佳操作,将浮动分弦单元作为一个独立模块化的部件,使用外套的方式固定在分弦杆上,使得原本具备分弦杆的复合弓都可以使用依据本专利实施例的产品,而且由于具备模块化,在后期的技术提升方面,可以随时替换更新,来达到升级的目的;本申请利用巧妙的设计原理,实现浮动分弦的目的,具有独创性、功能性和简易性。
技术特征:
1.侧动式除应力分弦滑块,其特征在于,包括套装在分弦杆上的主体架(1),主体架(1)左侧有浮动架(3),浮动架(3)呈开口朝向右上方的u形,浮动架(3)的右侧板的上端与主体架(1)上端之间经转轴(2)铰接在一起,浮动架(3)能绕着转轴(2)上下摆动;主体架(1)下端设有可调节缓冲停止点(4),浮动架(3)内安装有销轴(5),销轴(5)上套装有能转动的滑轮(6),滑轮(6)与副揽接触。
2.根据权利要求1所述的侧动式除应力分弦滑块,其特征在于,所述的可调节缓冲停止点(4)为可调节左侧伸出的长度。
3.根据权利要求1所述的侧动式除应力分弦滑块,其特征在于,所述的可调节缓冲停止点(4)为螺钉,螺钉经螺纹结构与主体旋拧在一起。
4.根据权利要求1所述的侧动式除应力分弦滑块,其特征在于,所述的滑轮(6)与销轴(5)之间安装有轴承。
技术总结
本技术提供了侧动式除应力分弦滑块,有效的解决了现有技术中的浮动分弦器结构较为复杂从而导致成本居高不下,不具备通用性的问题;其解决的技术方案是,包括套装在分弦杆上的主体架,主体架左侧有浮动架,浮动架呈开口朝向右上方的U形,浮动架的右侧板的上端与主体架上端之间经转轴铰接在一起,浮动架能绕着转轴上下摆动;主体架下端设有可调节缓冲停止点,浮动架内安装有销轴,销轴上套装有能转动的滑轮,滑轮与副揽接触;本技术结构巧妙,能够有效地适应于在各种类型的复合弓上的最佳操作,采用模块化设计,使得原本具备分弦杆的复合弓都可以使用依据本专利实施例的产品,在后期的技术提升方面,可以随时替换更新。
技术研发人员:师盛磊,樊万利,姜方伟
受保护的技术使用者:深圳市雷瓦侬体育用品有限公司
技术研发日:20240130
技术公布日:2024/9/2
技术研发人员:师盛磊,樊万利,姜方伟
技术所有人:深圳市雷瓦侬体育用品有限公司
备 注:该技术已申请专利,仅供学习研究,如用于商业用途,请联系技术所有人。
声 明 :此信息收集于网络,如果你是此专利的发明人不想本网站收录此信息请联系我们,我们会在第一时间删除
