一种用于花炮组盆机的打孔插引装置的制作方法

本技术属于花炮组盆机,具体属于一种用于花炮组盆机的打孔插引装置。
背景技术:
1、目前,组合烟花组装生产所使用的组盆机,一般都是采用进步电机传动的两个压线轮旋转式送引,其传送引线的长度则由进步电机转动角度的大小来控制,打孔和插引过程则是采用两个完全独立的打孔、插引装置同时同步插入烟花纸筒内来完成打孔和插引的过程,因此这种组盆机需要配置两个不同的气缸从两个不同的运动方向来完成同一个点位的打孔和插引动作,为了实现该动作,导致现有的组盆机结构复杂,零部件结构过多不紧凑,整体设计不合理等。
技术实现思路
1、有鉴于此,本实用新型的目的是为了克服现有技术中的不足,提供一种用于花炮组盆机的打孔插引装置,本申请提供如下技术方案:
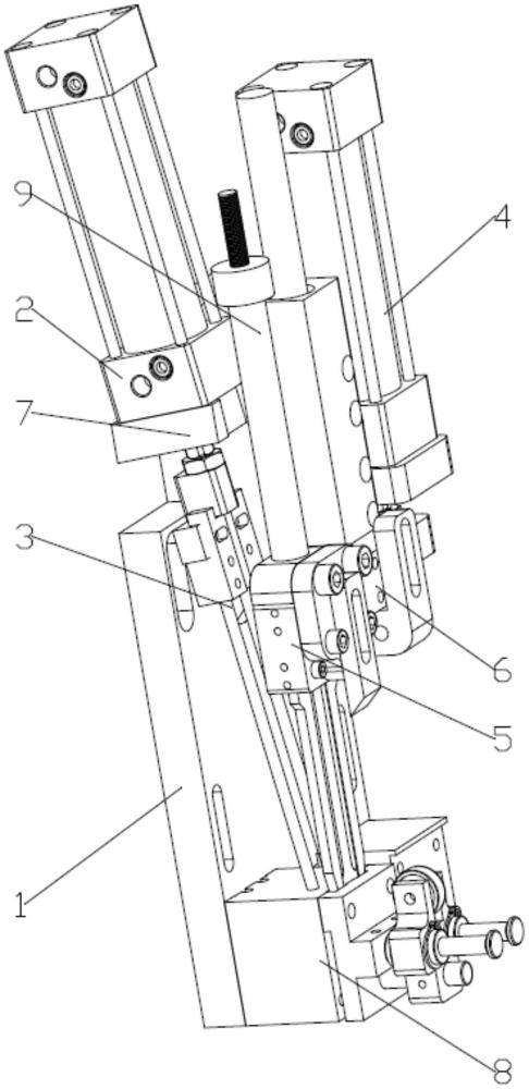
2、一种用于花炮组盆机的打孔插引装置,包括安装板、打孔气缸、打孔针组件、插引气缸、插引针组件、插引连接板和打孔插引导向块;
3、所述打孔插引导向块设置于所述安装板上,所述打孔插引导向块的一侧设置所述打孔气缸和所述插引针组件,所述打孔插引导向块的另一侧设置所述插引气缸;
4、所述打孔气缸通过打孔插引导向块倾斜设置于所述安装板的表面,所述打孔气缸与所述打孔针组件连接,所述插引气缸通过插引连接板与所述插引针组件连接,所述插引针组件通过打孔插引导向块竖直设置于所述安装板的表面。
5、在一个可能的实施例中,所述打孔针组件包括两条打孔针和所述打孔针相对配合的两个安装条,所述安装条的一端与所述打孔气缸的输出端连接,所述安装条的另一端与所述打孔针的一端连接。
6、在一个可能的实施例中,还包括打孔插引座,所述打孔插引座设置于所述安装板的底部,所述打孔针组件的一端与所述打孔气缸连接,所述打孔针组件的另一端位于所述打孔插引座内,所述插引针组件的一端与所述打孔插引连接板连接,所述插引针组件的另一端位于所述打孔插引座内。
7、在一个可能的实施例中,所述插引针组件包括插引针、叉子、插引针管座和插引针安装座,所述,所述插引针管座与所述打孔插引导向块连接,所述插引针管座的底部与所述插引针安装座的任意一端可拆卸连接,所述插引针安装座的两端分别设置有不同孔径的安装孔,所述安装孔用于安装所述插引针,所述叉子设置于所述插引针安装座内,所述插引针的两侧均设置一个所述插引针。
8、在一个可能的实施例中,还包括送引组件,所述送引组件固定在所述安装板,所述送引组件用于将引线送至打孔插引座内。
9、在一个可能的实施例中,还包括导向光轴和导向座,所述导向座固定于打孔插引导向块上,所述导向光轴穿过所述导向座并设置于所述插引连接板内。
10、综上所述,由于采用了上述技术方案,本实用新型的有益效果是:
11、本实用新型对现有花炮组盆机的打孔插引装置进行改进,通过在安装板上集成打孔气缸、打孔针组件、插引气缸和插引针组件,并在打孔插引导向块的两侧分别设置打孔气缸和插引气缸,通过打孔气缸打引针组件沿安装板倾斜表面进行来回打孔,通过插引连接板将插引气缸与插引针组件连接,并在插引连接板上设置导向光轴及导向座,通过插引气缸沿安装板竖直表面进行来回插引,因此本实用新型的打孔插引导向块可以同时实现打孔气缸倾斜角度的来回运动和实现插引气缸竖直角度的来回运动,相对于现有技术本实用新型的打孔插引装置的结构更简单、紧凑,打孔以及插引动作更具流畅性。
12、为使本申请的上述目的、特征和优点能更明显和易懂,下文特举较佳实施例,并配合所附附图,做详细说明如下。
技术特征:
1.一种用于花炮组盆机的打孔插引装置,其特征在于:包括安装板、打孔气缸、打孔针组件、插引气缸、插引针组件、插引连接板和打孔插引导向块;
2.根据权利要求1所述的一种用于花炮组盆机的打孔插引装置,其特征在于:所述打孔针组件包括两条打孔针和所述打孔针相对配合的两个安装条,所述安装条的一端与所述打孔气缸的输出端连接,所述安装条的另一端与所述打孔针的一端连接。
3.根据权利要求1所述的一种用于花炮组盆机的打孔插引装置,其特征在于:还包括打孔插引座,所述打孔插引座设置于所述安装板的底部,所述打孔针组件的一端与所述打孔气缸连接,所述打孔针组件的另一端位于所述打孔插引座内,所述插引针组件的一端与所述打孔插引连接板连接,所述插引针组件的另一端位于所述打孔插引座内。
4.根据权利要求1所述的一种用于花炮组盆机的打孔插引装置,其特征在于:还包括送引组件,所述送引组件固定在所述安装板,所述送引组件用于将引线送至打孔插引座内。
5.根据权利要求1所述的一种用于花炮组盆机的打孔插引装置,其特征在于:还包括导向光轴和导向座,所述导向座固定于打孔插引导向块上,所述导向光轴穿过所述导向座并设置于所述插引连接板内。
技术总结
本技术公开了一种用于花炮组盆机的打孔插引装置,包括安装板、打孔气缸、打孔针组件、插引气缸、插引针组件、插引连接板和打孔插引导向块;打孔插引导向块设置于安装板上,打孔插引导向块的一侧设置打孔气缸和插引针组件,打孔插引导向块的另一侧设置插引气缸;打孔气缸通过打孔插引导向块倾斜设置于安装板的表面,打孔气缸与打孔针组件连接,插引气缸通过插引连接板与插引针组件连接,插引针组件通过打孔插引导向块竖直设置于安装板的表面;故本技术的打孔插引导向块可以同时实现打孔气缸倾斜角度的来回运动和实现插引气缸竖直角度的来回运动,相对于现有技术本技术的结构更简单、紧凑,打孔以及插引动作更具流畅性。
技术研发人员:叶水春
受保护的技术使用者:叶水春
技术研发日:20230915
技术公布日:2024/6/20
技术研发人员:叶水春
技术所有人:叶水春
备 注:该技术已申请专利,仅供学习研究,如用于商业用途,请联系技术所有人。
声 明 :此信息收集于网络,如果你是此专利的发明人不想本网站收录此信息请联系我们,我们会在第一时间删除
