一种触发自适应引信测试装置的制作方法

本技术涉及一种触发引信测试装置,具体为一种触发自适应引信测试装置。
背景技术:
1、目前触发引信是使用最广泛的引信之一,其主要特点是引信接触目标后立即起爆,一般没有延迟时间或延迟时间非常短,非常适合森林灭火弹使用。
2、如国家授权专利公告号为cn205175248u的专利公开了一种触发引信触碰试验工装,包括底座、转动盘及支撑板,所述的底座为l形结构,在底座两侧分别通过连杆与转动盘连接,所述转动盘的底部为正方形,顶部为圆柱形,并在圆柱形上攻有与引信配合的螺纹,所述支撑板安装在底座上,所述底座上设置有若干组角度和大小不同的三角形沟槽,所述支撑板上设置由两个开口槽,所述支撑板上与引信接触部位设置成弧形面。本实用新型所述工装通过转动安装有引信的转动盘实现不同角度下的压力试验,该引信触碰试验工装即可快速实现常规角度下的压力测试,又可满足任意角度下的压力测试,减少了工装使用数量,提高了测试效率。
3、然而上述的触碰试验工装在使用时,不能够便捷的对触发引信进行任意的角度进行转动调节和便捷的锁固功效,且不能够适配不同规格的引信快进行快速调节转动角度来对其进行压力测试操作,从而降低了实用性和操作时的效率。
技术实现思路
1、本实用新型的目的在于提供一种触发自适应引信测试装置,以解决上述背景技术中提出的不能够便捷的对触发引信进行任意的角度进行转动调节和便捷的锁固功效,且不能够适配不同规格的引信快进行快速调节转动角度来对其进行压力测试操作的问题。
2、为实现上述目的,本实用新型提供如下技术方案:
3、一种触发自适应引信测试装置,包括:底座,所述底座上表面固定安装有两组对接板,两组所述对接板之间转动安装有承载板,所述承载板内能够放置引信,所述承载板外表面两端均固定安装有转动柱,所述转动柱转动贯穿对接板,且其中一个所述对接板一侧转动贯穿有角度调控组件,所述角度调控组件滑动安装在转动柱内;
4、其中,其中一个所述对接板一侧开设有限位槽,所述角度调控组件能够插接进限位槽内;
5、其中,所述承载板上表面开设有两组旋转槽,所述旋转槽内转动安装有限位顶触组件,两组所述限位顶触组件能够向中心处靠拢顶压在引信外表面处。
6、优选的,所述角度调控组件包括滑动块,所述滑动块滑动安装在滑动槽内,所述滑动槽开设于转动柱内,两组所述滑动块之间固定安装有连接柱,所述连接柱滑动于转动柱内,所述连接柱一端固定安装有安装板,所述安装板一端固定安装有控制转盘,所述安装板一端固定安装有限位块,所述限位块能够插接进限位槽内。
7、优选的,所述滑动块比限位块长,所述滑动槽长度距离为三个滑动块相加的距离。
8、优选的,所述转动柱内开设有转动槽,所述转动槽内转动安装有转动盘,所述转动盘一端固定连接有弹簧,所述弹簧的另一端固定连接在连接柱一端。
9、优选的,所述限位顶触组件包括转动杆,所述转动杆固定安装在旋转槽内,所述转动杆外表面转动安装有连接板,所述连接板另一端转动安装有顶压板,所述顶压板能够顶压贴合在引信外表面处。
10、优选的,所述转动杆外表面固定连接有发条,所述发条的外表面固定连接在紧固槽内,所述紧固槽开设于连接板两端。
11、优选的,所述顶压板为弧形设置。
12、与现有技术相比,本实用新型的有益效果是:
13、1、通过顶触组件和角度调控组件的设计,使用时,工作人员可通过将两组顶触组件向外拉开,且被向外拉开的同时顶触组件会产生一个向内靠拢的扭转力,随后工作人员即可将引信放入承载板上表面处,随后即可松开顶触组件,顶触组件不受到外力拉动后,顶触组件即可通过扭转力转动贴合在引信的外表面处,以对引信施加一个限位扶持的力,随后工作人员即可通过外力拉动角度调控组件,使角度调控组件在滑动槽内向一端滑动,且同时也会从限位槽内脱出,即可解除转动限位力,且角度调控组件从滑动槽内向一端滑动时会产生一个复位拉力,随后工作人员即可转动角度调控组件来转动调节承载板的倾斜角度,角度调节过后即可松开,角度调控组件会通过复位拉力在滑动槽内向一端滑动,且同时会带动限位块重新插接进限位槽内,从而达到对转动后的承载板施加一个锁固效果,从而使其只需要拉动和转动调节即可实现转动锁固的功效,从而能够便捷的对触发引信进行任意的角度进行转动调节和便捷的锁固功效,从而就能够适配不同规格的引信快进行快速调节转动角度来对其进行压力测试操作,从而增加了实用性和转动调节时的操作效率。
14、2、通过滑动块、滑动槽、限位块、转动盘、弹簧和控制转盘的设计,对放置好后的引信进行转动调节时,工作人员可向外拉动控制转盘,使控制转盘带动连接柱通过外表面的滑动块在滑动槽内向一端滑动,且同时会拉扯在弹簧,从而弹簧就能够对连接柱施加一个复位拉力,且同时连接柱也会带动安装板一端固定安装的限位块从限位槽内拔出,从而解除了对控制转盘施加的转动限位力,随后工作人员即可通过转动控制转盘来带动转动柱一端固定安装的承载板进行转动调节操作,从而就能够带动上表面放置的引信进行转动调节操作,转动调节至相应的角度后,工作人员即可将控制转盘推回,以带动安装板一端固定安装的限位块再次插入限位槽内,以达到对控制转盘施加一个固定效果,且同时通过弹簧的拉力,能够避免限位块从限位槽内脱出造成偏轨的情况出现,从而使其只需要拉动和转动调节即可实现转动锁固的功效,从而能够便捷的对触发引信进行任意的角度进行转动调节和便捷的锁固功效,从而就能够适配不同规格的引信快进行快速调节转动角度来对其进行压力测试操作,从而增加了实用性和转动调节时的操作效率。
15、3、通过连接板、发条和顶压板的设计,放置引信时,工作人员可通过将两组连接板向外拉开,且被向外拉开的同时连接板顶转在发条一端,从而发条就会对连接板施加一个向内靠拢的扭转力,随后工作人员即可将引信放入承载板上表面处,随后即可松开连接板,连接板不受到外力拉动后,连接板即可通过扭转力带动顶压板转动贴合在引信的外表面处,以对引信施加一个限位扶持的力,且通过转动的顶压板,能够对不同坡度的引信外表面进行贴合,对其进行扶持顶压。
技术特征:
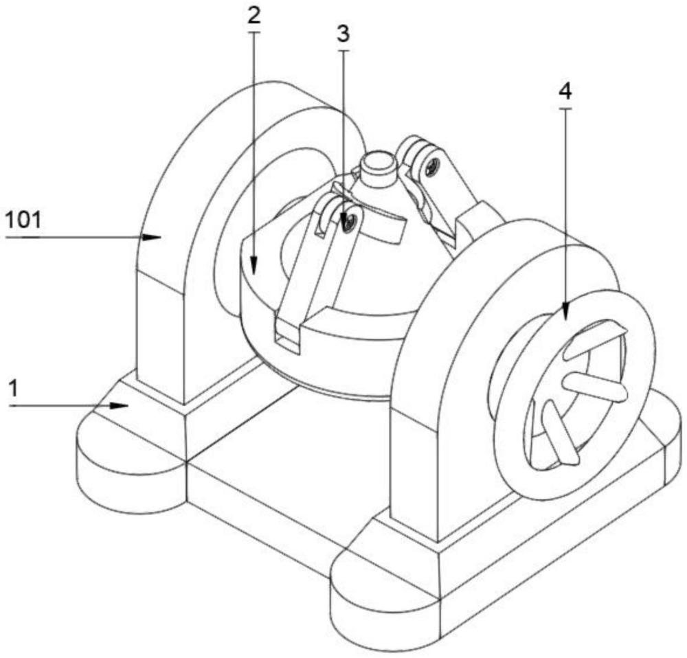
1.一种触发自适应引信测试装置,其特征在于,包括:底座(1),所述底座(1)上表面固定安装有两组对接板(101),两组所述对接板(101)之间转动安装有承载板(2),所述承载板(2)内能够放置引信(5),所述承载板(2)外表面两端均固定安装有转动柱(201),所述转动柱(201)转动贯穿对接板(101),且其中一个所述对接板(101)一侧转动贯穿有角度调控组件(4),所述角度调控组件(4)滑动安装在转动柱(201)内;
2.根据权利要求1所述的一种触发自适应引信测试装置,其特征在于:所述角度调控组件(4)包括滑动块(405),所述滑动块(405)滑动安装在滑动槽(202)内,所述滑动槽(202)开设于转动柱(201)内,两组所述滑动块(405)之间固定安装有连接柱(404),所述连接柱(404)滑动于转动柱(201)内,所述连接柱(404)一端固定安装有安装板(402),所述安装板(402)一端固定安装有控制转盘(401),所述安装板(402)一端固定安装有限位块(403),所述限位块(403)能够插接进限位槽(102)内。
3.根据权利要求2所述的一种触发自适应引信测试装置,其特征在于:所述滑动块(405)比限位块(403)长,所述滑动槽(202)长度距离为三个滑动块(405)相加的距离。
4.根据权利要求2所述的一种触发自适应引信测试装置,其特征在于:所述转动柱(201)内开设有转动槽(203),所述转动槽(203)内转动安装有转动盘(406),所述转动盘(406)一端固定连接有弹簧(407),所述弹簧(407)的另一端固定连接在连接柱(404)一端。
5.根据权利要求1所述的一种触发自适应引信测试装置,其特征在于:所述限位顶触组件(3)包括转动杆(305),所述转动杆(305)固定安装在旋转槽(204)内,所述转动杆(305)外表面转动安装有连接板(301),所述连接板(301)另一端转动安装有顶压板(304),所述顶压板(304)能够顶压贴合在引信(5)外表面处。
6.根据权利要求5所述的一种触发自适应引信测试装置,其特征在于:所述转动杆(305)外表面固定连接有发条(303),所述发条(303)的外表面固定连接在紧固槽(302)内,所述紧固槽(302)开设于连接板(301)两端。
7.根据权利要求5所述的一种触发自适应引信测试装置,其特征在于:所述顶压板(304)为弧形设置。
技术总结
本技术公开了一种触发自适应引信测试装置,包括:底座,底座上表面固定安装有两组对接板,两组对接板之间转动安装有承载板,承载板内能够放置引信,承载板外表面两端均固定安装有转动柱,转动柱转动贯穿对接板,且其中一个对接板一侧转动贯穿有角度调控组件,角度调控组件滑动安装在转动柱内,其中一个对接板一侧开设有限位槽,角度调控组件能够插接进限位槽内,承载板上表面开设有两组旋转槽,旋转槽内转动安装有限位顶触组件。本申请通过顶触组件和角度调控组件的设计,对引信的倾斜角度调节时只需要拉动和转动调节即可实现转动锁固的功效,从而能够便捷的对触发引信进行任意的角度进行转动调节和便捷的锁固功效。
技术研发人员:李诚岳
受保护的技术使用者:中军智控(广东)微电子科技有限公司
技术研发日:20231025
技术公布日:2024/6/20
技术研发人员:李诚岳
技术所有人:中军智控(广东)微电子科技有限公司
备 注:该技术已申请专利,仅供学习研究,如用于商业用途,请联系技术所有人。
声 明 :此信息收集于网络,如果你是此专利的发明人不想本网站收录此信息请联系我们,我们会在第一时间删除
