一种用于转管自动炮试验的安装座的制作方法

本发明涉及安装装置领域,具体涉及一种用于转管自动炮试验的安装座。
背景技术:
1、转管自动炮的射击试验时,是通过将转管自动炮固定在一安装座上,并对转管自动炮的启动装置通气来完成射击试验,在试验过程中,转管自动炮会产生巨大的后坐力,需要在安装座上设置与转管自动炮的缓冲装置配合的固定装置。
2、目前,转管自动炮的射击试验安装座是根据转管自动炮的外部结构以及缓冲装置来设计的,转管自动炮的缓冲装置通常是设置在自动炮两侧的缓冲器或设置自动炮底部的缓冲簧,由于各种转管自动炮的缓冲装置以及各试验接口各不相同,每种自动炮在射击试验时需要分别安装在特定的安装座上,这样在进行不同种自动炮射击试验使就需要频繁地更换安装座,费时费力,若在试验场设置多种安装座,又会造成存放占地广的问题,导致试验成本高。
技术实现思路
1、本发明的目的是针对现有技术存在的不足,提供一种用于转管自动炮试验的安装装置,解决不同转管自动炮进行试验的更换安装座费时费力,占地广,试验成本高的问题。
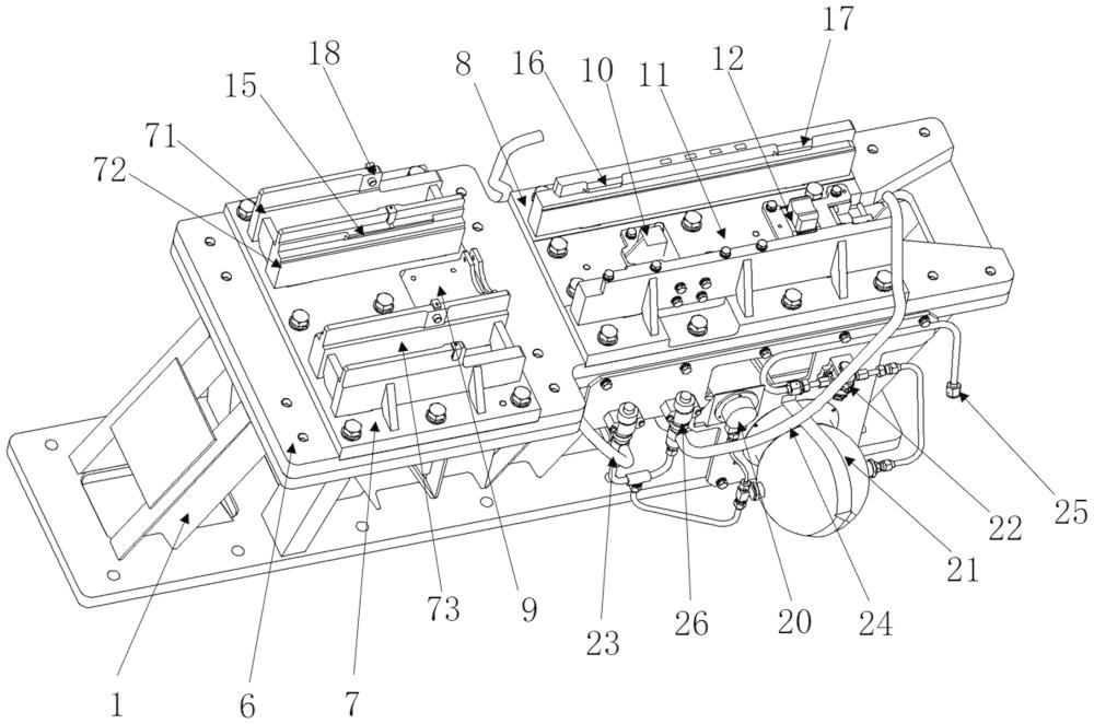
2、本发明的目的是采用下述方案实现的:一种用于转管自动炮试验的安装座,包括基架,所述基架上设置安装台、供气装置,所述安装台包括前支撑座、后支撑座,所述前支撑座包括前安装板,所述前安装板上端设有左支撑组件、右支撑组件,两支撑组件轴向对称设置,左、右支撑组件之间设置让位空间用于安装转管自动炮,左、右支撑组件均包括第二支撑板、第一支撑板,所述第一支撑板上端面设置第一滑槽,同一支承组件的第二支撑板与第一支撑板之间设置让位槽用于对转管自动炮缓冲器让位,所述第二支撑板、第一支撑板上均设置缓冲限位块用于对转管自动炮缓冲器形成限位,所述后支撑座包括后安装板,所述后安装板上设有两块第三支撑板,两块第三支撑板轴向对称设置,两块第三支撑板之间设置让位空间用于安装转管自动炮,所述第三支撑板上端面设置第二滑槽、第三滑槽,所述后安装板上设置第一限位座、第二限位座,所述第二限位座包括一可上下伸缩的限位柱,所述第一限位座用于对转管自动炮缓冲簧的前端限位,所述第二限位座用于对转管自动炮缓冲簧的后端限位。
3、优选地,所述安装台通过一安装台安装板安装在基架上。
4、优选地,所述前安装板上还设置水管连接板用于与转管自动炮的冷却水管对接,所述水管连接板位于左支撑组件、右支撑组件之间。
5、优选地,所述缓冲限位块包括固定部、限位部,所述限位部向让位槽方向延伸,所述固定部通过螺栓与第二支撑板、第一支撑板固定连接。
6、优选地,所述第一滑槽的长度大于第二滑槽的长度,所述第一滑槽的长度大于第三滑槽的长度。
7、优选地,所述后安装板上设置第三限位座用于支撑转管自动炮缓冲簧,所述第三限位座位于第一限位座与第二限位座之间。
8、优选地,所述供气装置包括储气球、空压机接头、启动软管、停止软管,所述空压机接头用于连接空压机,所述启动软管用于连接转管自动炮的启动装置,所述停止软管用于连接转管自动炮的停止机构,所述空压机接头通过管道连接储气球,所述储气球出口端连接一三通接头,该三通接头的两出口分别连接启动软管、停止软管,所述启动软管、停止软管与三通接头的出口之间设置电磁阀。
9、采用上述方案,通过左、右支撑组件的支撑板支撑转管自动炮的前段,通过第三支撑板支撑转管自动炮的后段;利用第二支撑板、第一支撑板上的缓冲限位块与转管自动炮的缓冲器配合,减小后坐力对安装座的作用力,利用第一限位座第二限位座对缓冲簧轴向限位,减小后坐力对安装座的作用力,既能适用于带有缓冲器的转管自动炮也适用于带有缓冲簧的自动炮,通用性强;进行射击时,支撑板上设置滑槽与转管自动炮的滑块配合,滑槽的槽边对转管自动炮限位,同时为转管自动炮提供缓冲空间,前后不同长度的滑槽适用于更多结构的转管自动炮,进一步提高通用性。
10、下面结合说明书附图和具体实施例对本发明作进一步说明。
技术特征:
1.一种用于转管自动炮试验的安装座,包括基架(1),所述基架(1)上设置安装台(2)、供气装置(3),其特征在于:所述安装台(2)包括前支撑座(7)、后支撑座(8),所述前支撑座(7)包括前安装板,所述前安装板上端设有左支撑组件、右支撑组件,两支撑组件轴向对称设置,左、右支撑组件之间设置让位空间用于安装转管自动炮,左、右支撑组件均包括第二支撑板(71)、第一支撑板(72),所述第一支撑板(72)上端面设置第一滑槽(15),同一支承组件的第二支撑板(71)与第一支撑板(72)之间设置让位槽(73)用于对转管自动炮缓冲器(33)让位,所述第二支撑板(71)、第一支撑板(72)上均设置缓冲限位块(18)用于对转管自动炮缓冲器(33)形成限位,所述后支撑座(8)包括后安装板,所述后安装板上设有两块第三支撑板(81),两块第三支撑板(81)轴向对称设置,两块第三支撑板(81)之间设置让位空间用于安装转管自动炮,所述第三支撑板(81)上端面设置第二滑槽(16)、第三滑槽(17),所述后安装板上设置第一限位座(10)、第二限位座(12),所述第二限位座(12)包括一可上下伸缩的限位柱,所述第一限位座(10)用于对转管自动炮缓冲簧(31)的前端限位,所述第二限位座(12)用于对转管自动炮缓冲簧(31)的后端限位。
2.根据权利要求1所述的用于转管自动炮试验的安装座,其特征在于:所述安装台(2)通过一安装台安装板(6)安装在基架(1)上。
3.根据权利要求1所述的用于转管自动炮试验的安装座,其特征在于:所述前安装板上还设置水管连接板(9)用于与转管自动炮的冷却水管对接,所述水管连接板(9)位于左支撑组件、右支撑组件之间。
4.根据权利要求1所述的用于转管自动炮试验的安装座,其特征在于:所述缓冲限位块(18)包括固定部(181)、限位部(182),所述限位部(182)向让位槽(73)方向延伸,所述固定部(181)通过螺栓与第二支撑板(71)、第一支撑板(72)固定连接。
5.根据权利要求1所述的用于转管自动炮试验的安装座,其特征在于:所述第一滑槽(15)的长度大于第二滑槽(16)的长度,所述第一滑槽(15)的长度大于第三滑槽(17)的长度。
6.根据权利要求1所述的用于转管自动炮试验的安装座,其特征在于:所述后安装板上设置第三限位座(11)用于支撑转管自动炮缓冲簧(31),所述第三限位座(11)位于第一限位座(10)与第二限位座(12)之间。
7.根据权利要求1所述的用于转管自动炮试验的安装座,其特征在于:所述供气装置(3)包括储气球(21)、空压机接头(25)、启动软管(23)、停止软管(24),所述空压机接头(25)用于连接空压机,所述启动软管(23)用于连接转管自动炮的启动装置,所述停止软管(24)用于连接转管自动炮的停止机构,所述空压机接头(25)通过管道连接储气球(21),所述储气球(21)出口端连接一三通接头,该三通接头的两出口分别连接启动软管(23)、停止软管(24),所述启动软管(23)、停止软管(24)与三通接头的出口之间设置电磁阀(26)。
技术总结
一种用于转管自动炮试验的安装座,基架上设置安装台、供气装置,安装台包括前支撑座、后支撑座,前支撑座包括前安装板,前安装板上端设有左、右支撑组件,左、右支撑组件均包括第二支撑板、第一支撑板,第一支撑板上端面设置第一滑槽,同一支承组件的第二支撑板与第一支撑板之间设让位槽,第一、第二支撑板上均设缓冲限位块用于对转管自动炮缓冲器形成限位,后支撑座包括后安装板,后安装板上设有两块第三支撑板,两块第三支撑板轴向对称设置,第三支撑板上端面设第二滑槽、第三滑槽,后安装板上设第一限位座、第二限位座,第二限位座包括一可上下伸缩的限位柱,第一、第二限位座分别用于对转管自动炮缓冲簧的前、后端限位。
技术研发人员:王永,金明权
受保护的技术使用者:重庆长安工业(集团)有限责任公司
技术研发日:
技术公布日:2024/9/2
技术研发人员:王永,金明权
技术所有人:重庆长安工业(集团)有限责任公司
备 注:该技术已申请专利,仅供学习研究,如用于商业用途,请联系技术所有人。
声 明 :此信息收集于网络,如果你是此专利的发明人不想本网站收录此信息请联系我们,我们会在第一时间删除
