一种带有除静电功能的复合机的制作方法

本技术涉及一种带有除静电功能的复合机。
背景技术:
1、一般的立式网带复合机是指家纺、服装、家具、汽车内饰及其它相关产业中一种复合设备,主要由放卷装置、上胶装置、大烘筒、压辊装置、网带压着装置、收卷装置等组成;通常采用高温加热压合和气缸快速移动压辊等技术,具有进料迅速、方便、准确,复合牢固、平整无皱等特点,主要适用于海绵、布、eva、人革、无纺布、针刺棉等上胶撒粉复合,广泛应用于制鞋、服装、装潢、汽车等行业,例如专利号cn215478767u的一种新型立式网带复合机,通过压盖一端设有连接引脚,实现压盖可以翻盖,方便进料辊拆装,通过压盖顶端和放置座顶端均开设有螺纹孔,实现压盖通过螺栓锁紧,通过放置座一侧两端和压盖一侧均安装有滚轮,减少放置座和进料辊的摩擦力,通过底座顶端安装有第一电机,实现电动收料,通过底座顶端安装有第二电机,实现压辊电动旋转,通过第一立架一侧安装有保护罩,提高产品安全性,通过保护罩一侧安装有控制面板,实现设备可控。
2、本实施例能够满足新型立式复合机对物料的复合收卷作用,保证产品的合格率,但其存在的缺陷有:
3、1、通过收集辊的设置,实现对复合完成物料的收卷,但物料在传输过程中发生摩擦易产生静电,吸附杂质附着在物料表面,降低物料的生产质量。
技术实现思路
1、本实用新型旨在解决现有技术中存在的技术问题之一。
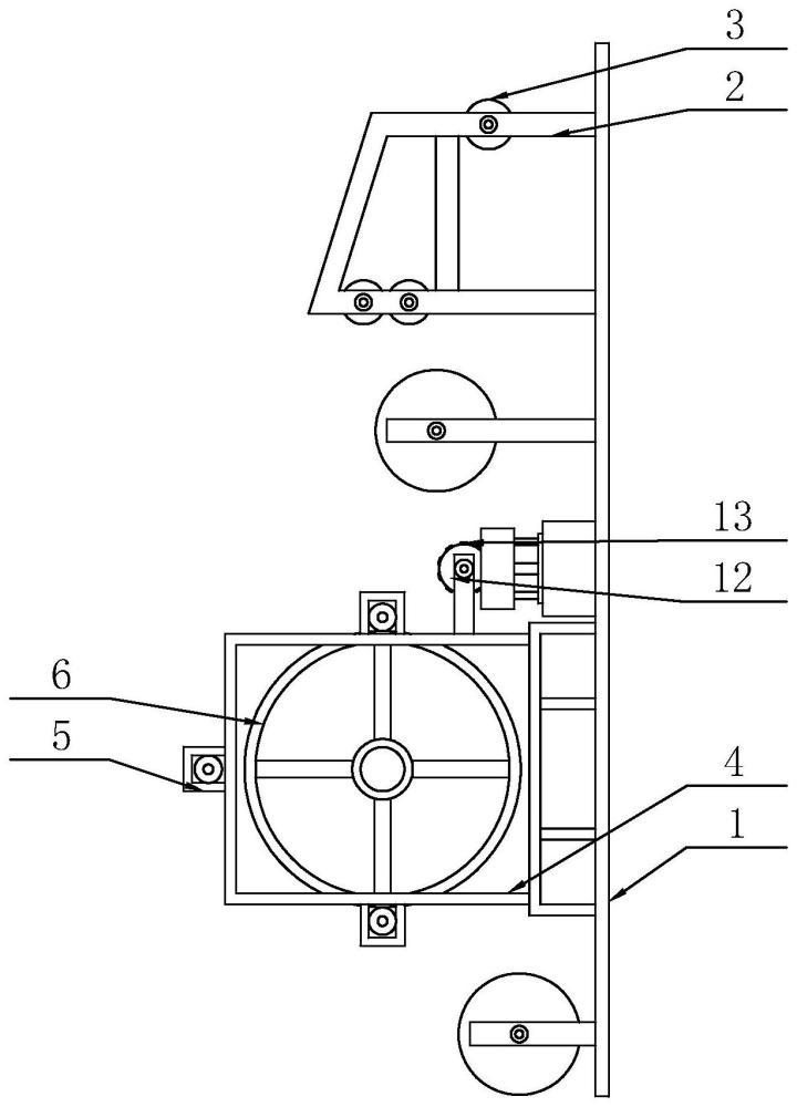
2、本申请提供了一种带有除静电功能的复合机,包括底座、第一立架、收集辊、第二立架、滚辊和压辊,还包括:
3、除静电组件,其安装在第一立架上,用于对复合完成的物料进行除静电处理,防止静电吸附杂质在物料上。
4、除静电组件包括:
5、滑槽,其开设在第一立架内侧上;
6、安装板,其两端活动安装在滑槽内,位于收集辊上方;
7、静电刷,其固定连接在安装板底面上;
8、安装孔,其开设在安装板两端,内壁设置有螺纹;
9、螺纹杆,其安装在滑槽内,且顶端延伸至第一立架外;
10、其中,螺纹杆活动安装至安装孔内,且与螺纹啮合连接。
11、还包括:
12、安装座,其固定安装在底座上,位于第二立架侧边;
13、盒体,其通过固定件可拆卸的安装在安装座上;
14、支撑框架,其固定连接在盒体顶部;
15、管道,其两端固定连通盒体与支撑框架;
16、上胶辊,其转动安装在第二立架上,底部延伸至支撑框架内;
17、凸块,其设有若干个,均匀固定安装在上胶辊表面。
18、还包括:
19、支撑板,其固定安装在支撑框架内;
20、小孔,其设有若干个,均匀开设在支撑板上;
21、加热管,其固定安装在支撑板上。
22、还包括:
23、水泵,其固定安装在盒体内;
24、通孔,其开设在支撑框架底部中心;
25、其中,管道两端固定连通水泵与通孔。
26、还包括:
27、把手,其固定安装在螺纹杆顶端。
28、还包括:
29、上料孔,其开设在盒体顶部。
30、本实用新型的有益效果如下:
31、1、通过静电刷的设置,对复合完成的物料进行除静电处理,防止产生的静电吸附杂质附着在物料上;
32、2、通过水泵的设置,向支撑框架内源源不断注入粘合剂,保持粘合剂水平高度不变,防止粘合剂过高或过低影响物料的复合效果,同时通过加热管的设置,保证粘合剂处于适宜温度,提高粘合剂的粘合效果。
技术特征:
1.一种带有除静电功能的复合机,包括底座(1)、第一立架(2)、收集辊(3)、第二立架(4)、滚辊(5)和压辊(6),其特征在于,还包括:
2.根据权利要求1所述的一种带有除静电功能的复合机,其特征在于,还包括:
3.根据权利要求2所述的一种带有除静电功能的复合机,其特征在于,还包括:
4.根据权利要求3所述的一种带有除静电功能的复合机,其特征在于,还包括:
5.根据权利要求1所述的一种带有除静电功能的复合机,其特征在于,还包括:
6.根据权利要求2所述的一种带有除静电功能的复合机,其特征在于,还包括:
技术总结
本申请公开了一种带有除静电功能的复合机,包括底座、第一立架、收集辊、第二立架、滚辊和压辊,还包括除静电组件,其安装在第一立架上,用于对复合完成的物料进行除静电处理,防止静电吸附杂质在物料上;滑槽,其开设在第一立架内侧上;安装板,其两端活动安装在滑槽内,位于收集辊上方;静电刷,其固定连接在安装板底面上;安装孔,其开设在安装板两端,内壁设置有螺纹;螺纹杆,其安装在滑槽内,且顶端延伸至第一立架外;其中,螺纹杆活动安装至安装孔内,且与螺纹啮合连接,在日常生产生活中,通过静电刷的设置,对复合完成的物料进行除静电处理,防止产生的静电吸附杂质附着在物料上。
技术研发人员:苏杭
受保护的技术使用者:温州美贵新材料有限公司
技术研发日:20240313
技术公布日:2024/9/2
技术研发人员:苏杭
技术所有人:温州美贵新材料有限公司
备 注:该技术已申请专利,仅供学习研究,如用于商业用途,请联系技术所有人。
声 明 :此信息收集于网络,如果你是此专利的发明人不想本网站收录此信息请联系我们,我们会在第一时间删除
