一种多辊式热熔复合机的制作方法

本技术涉及热熔复合机,特别是涉及一种多辊式热熔复合机。
背景技术:
1、热熔复合机是通过热辐射对保护膜、胶带、绝缘片和隔热片等进行热熔贴合处理,把两种或两种以上不同材料相结合并施加一定压力使其复合成一体的加工机器,多用于服装皮革、鞋底鞋材、轻泡片材的复合加工,在进行使用时通常设置有两个上料机构和一个收卷机构,在一次完成加工后即需要拆下卷筒进行替换。
2、经检索,现有公开号为cn215283408u的中国专利公开了一种高分子材料多辊式热熔复合机,通过设有的固定限位块、活动卡块、活动杆、固定安装槽、受力板、受力弹簧和连接拉块,便于拉动连接拉块,带动活动杆进行移动,从而带动受力板和活动卡块能够向固定限位块的内部进行收缩,将连接杆向上进行移动,使得连接滚轮能够从固定安装槽的内侧脱离,从而能够快速的对连接杆和连接滚轮进行更换,提高了工作效率。
3、上述的技术方案存在以下缺陷,这样的多辊式热熔复合机结构虽可通过卡块结构便于对杆件进行拆装,从而便于替换辊轴上的原料,而在实际使用过程中,多辊式热熔复合机通常需要设置上下两个上料机,使得不同面料可在不同高度进行上料,在对高处的面料卷筒进行拆装替换时则较为费力,需要使用吊装或举升机辅助换卷较为不便,为此现提出一种多辊式热熔复合机,设置有两个不同高度的上料结构,便于复合面料在不同高度进行上料进入热熔复合机内进行热熔复合,且可对高处的上料结构进行高度调节,使得面料卷筒便于拆装替换,使得多辊式热熔复合机的上料下料能够更加方便,从而提高工作效率。
4、有鉴于此,本创作改善并解决上述问题,潜心研究并配合学理运用,终于提出一种设计合理且能有效改善上述缺陷的技术方案。
5、公开于该背景技术部分的信息仅仅旨在加深对本实用新型的总体背景技术的理解,而不应当被视为承认或以任何形式暗示该信息构成已为本领域技术人员所公知的现有技术。
技术实现思路
1、本实用新型提供了一种多辊式热熔复合机,解决了上述背景所提出的问题,设置有两个不同高度的上料结构,便于复合面料在不同高度进行上料进入热熔复合机内进行热熔复合,且可对高处的上料结构进行高度调节,使得面料卷筒便于拆装替换,使得多辊式热熔复合机的上料下料能够更加方便,从而提高工作效率。
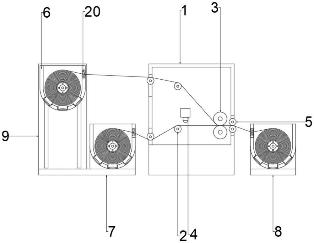
2、本实用新型解决上述技术问题的方案如下:一种多辊式热熔复合机,包括热熔复合机机架、储料架、放卷架、收卷架,所述热熔复合机机架的内壁旋转连接有导向辊、加热辊筒和涂胶机,所述热熔复合机机架的两侧均开设有通料孔,通料孔的内壁旋转连接有传料辊,所述放卷架和收卷架分置于热熔复合机机架的两侧,所述储料架设置有三个,所述放卷架和收卷架均安装有储料架,所述放卷架固定连接有调节架,所述调节架的内壁固定安装有抱闸步进电机,所述抱闸步进电机固定连接有滚珠丝杠,所述滚珠丝杠螺纹连接有丝杠螺母,所述丝杠螺母的两侧均固定连接有承重滑块,所述调节架的内壁靠近中间位置两侧均固定安装有限位杆,所述承重滑块与储料架固定连接,所述储料架的内壁固定安装有伺服电机,所述储料架旋转连接有驱动辊,所述伺服电机的驱动端与驱动辊固定连接,所述面料卷筒置于驱动辊的外壁,所述驱动辊螺纹连接有防脱板。
3、在上述技术方案的基础上,本实用新型还可以做如下改进。
4、进一步,所述承重滑块开设有与限位杆相适配的滑动孔,且滑动孔的内壁与限位杆滑动连接,使得承重滑块可稳定带动储料架进行升降。
5、进一步,所述调节架的正表面对应承重滑块开设有条形孔,所述承重滑块穿过条形孔与储料架固定连接,使得承重滑块可稳定带动储料架贴合调节架进行升降。
6、进一步,所述驱动辊的外壁均匀固定安装有卡条,卡条在驱动辊的外壁均匀设置有四个,所述面料卷筒的内壁对应卡条开设有卡槽,使得驱动辊可稳定带动面料卷筒进行转动进行收放卷。
7、进一步,所述储料架设置为与面料卷筒相适配的u型结构,所述储料架的边缘处设置有切面结构。
8、进一步,所述储料架的内壁均匀旋转连接有辅助滚筒,所述辅助滚筒的外壁设置为与面料卷筒相识的弧形结构,便于面料卷筒在储料架的内壁进出,提高换卷工作的工作效率。
9、进一步,所述储料架的外壁开设有进出口,且进出口的内壁靠近中间位置两侧均旋转连接有传料滚筒,便于面料卷筒的面料从储料架传入传出。
10、本实用新型提供了一种多辊式热熔复合机,具有以下优点:
11、1、面卷原料可置于放卷架处的两侧储料架内,伺服电机可转动驱动辊从而带动面料卷筒进行放卷,面料可穿过储料架的通孔进入热熔复合机机架的内壁,涂胶机可将热熔胶喷涂在两侧面料的连接面,面料可通过导向辊传至加热辊筒的间隙处,加热辊筒可对两侧面料进行热熔复合,收卷架顶部储料架内的伺服电机可转动驱动辊对复合成品进行收卷;
12、2、在一次热熔复合完毕后,可启动抱闸步进电机转动滚珠丝杠通过丝杠螺母带动两侧承重滑块在限位杆的外壁滑动,使得调节架处的储料架可贴合调节架进行升降,使得高处的储料架可快速调节至低处便于工作人员对面卷原料进行取放操作;
13、3、降至底部后可旋开防脱板将面料卷筒从驱动辊的外壁抽出,储料架的内壁均匀设置有辅助滚筒便于面料卷筒进行取放,在替换新的面料卷筒完成后即可旋紧防脱板对其进行限位,这样的安装结构更加简单方便于面卷原料的拆装替换,且使得面卷原料的取放更加省力;
14、4、这样的多辊式热熔复合机设置有两个不同高度的上料结构,便于复合面料在不同高度进行上料进入热熔复合机内进行热熔复合,且可对高处的上料结构进行高度调节,使得面料卷筒便于拆装替换,使得多辊式热熔复合机的上料下料能够更加方便,从而提高工作效率。
15、上述说明仅是本实用新型技术方案的概述,为了能够更清楚了解本实用新型的技术手段,并可依照说明书的内容予以实施,以下以本实用新型的较佳实施例并配合附图详细说明如后。本实用新型的具体实施方式由以下实施例及其附图详细给出。
技术特征:
1.一种多辊式热熔复合机,包括热熔复合机机架(1)、储料架(6)、放卷架(7)、收卷架(8),其特征在于:所述热熔复合机机架(1)的内壁旋转连接有导向辊(2)、加热辊筒(3)和涂胶机(4),所述热熔复合机机架(1)的两侧均开设有通料孔,通料孔的内壁旋转连接有传料辊(5),所述放卷架(7)和收卷架(8)分置于热熔复合机机架(1)的两侧,所述储料架(6)设置有三个,所述放卷架(7)和收卷架(8)均安装有储料架(6),所述放卷架(7)固定连接有调节架(9),所述调节架(9)的内壁固定安装有抱闸步进电机(10),所述抱闸步进电机(10)固定连接有滚珠丝杠(11),所述滚珠丝杠(11)螺纹连接有丝杠螺母(12),所述丝杠螺母(12)的两侧均固定连接有承重滑块(13),所述调节架(9)的内壁靠近中间位置两侧均固定安装有限位杆(14),所述承重滑块(13)与储料架(6)固定连接,所述储料架(6)的内壁固定安装有伺服电机(15),所述储料架(6)旋转连接有驱动辊(16),所述伺服电机(15)的驱动端与驱动辊(16)固定连接,面料卷筒(17)置于驱动辊(16)的外壁,所述驱动辊(16)螺纹连接有防脱板(18)。
2.根据权利要求1所述一种多辊式热熔复合机,其特征在于,所述承重滑块(13)开设有与限位杆(14)相适配的滑动孔,且滑动孔的内壁与限位杆(14)滑动连接。
3.根据权利要求1所述一种多辊式热熔复合机,其特征在于,所述调节架(9)的正表面对应承重滑块(13)开设有条形孔,所述承重滑块(13)穿过条形孔与储料架(6)固定连接。
4.根据权利要求1所述一种多辊式热熔复合机,其特征在于,所述驱动辊(16)的外壁均匀固定安装有卡条,卡条在驱动辊(16)的外壁均匀设置有四个,所述面料卷筒(17)的内壁对应卡条开设有卡槽。
5.根据权利要求1所述一种多辊式热熔复合机,其特征在于,所述储料架(6)设置为与面料卷筒(17)相适配的u型结构,所述储料架(6)的边缘处设置有切面结构。
6.根据权利要求1所述一种多辊式热熔复合机,其特征在于,所述储料架(6)的内壁均匀旋转连接有辅助滚筒(19),所述辅助滚筒(19)的外壁设置为与面料卷筒(17)相识的弧形结构。
7.根据权利要求1所述一种多辊式热熔复合机,其特征在于,所述储料架(6)的外壁开设有进出口,且进出口的内壁靠近中间位置两侧均旋转连接有传料滚筒(20)。
技术总结
本技术涉及一种多辊式热熔复合机,属于热熔复合机技术领域,包括热熔复合机机架、储料架、放卷架、收卷架,热熔复合机机架的内壁旋转连接有导向辊、加热辊筒和涂胶机,热熔复合机机架的两侧均开设有通料孔,通料孔的内壁旋转连接有传料辊,放卷架和收卷架分置于热熔复合机机架的两侧,储料架设置有三个,放卷架和收卷架均安装有储料架。本技术,设置有两个不同高度的上料结构,便于复合面料在不同高度进行上料进入热熔复合机内进行热熔复合,且可对高处的上料结构进行高度调节,使得面料卷筒便于拆装替换,使得多辊式热熔复合机的上料下料能够更加方便,从而提高工作效率。
技术研发人员:王爱存,朱中平,张乃扣
受保护的技术使用者:江苏闳业机械股份有限公司
技术研发日:20231122
技术公布日:2024/6/20
技术研发人员:王爱存,朱中平,张乃扣
技术所有人:江苏闳业机械股份有限公司
备 注:该技术已申请专利,仅供学习研究,如用于商业用途,请联系技术所有人。
声 明 :此信息收集于网络,如果你是此专利的发明人不想本网站收录此信息请联系我们,我们会在第一时间删除
