一种防破损效果好的医用包装膜的制作方法

本技术涉及薄膜,具体为一种防破损效果好的医用包装膜。
背景技术:
1、薄膜是一种薄而软的透明薄片,用塑料、胶粘剂、橡胶或其他材料制成,薄膜科学上的解释为:由原子,分子或离子沉积在基片表面形成的2维材料,例:光学薄膜、复合薄膜、超导薄膜、聚酯薄膜、尼龙薄膜和塑料薄膜等等。
2、现有的医用包装膜在使用过程中不仅耐穿刺效果差,而且耐磨和耐高温效果也不好,导致医用包装膜容易破损,会降低医用包装膜的使用寿命,为此,我们提出一种防破损效果好的医用包装膜。
技术实现思路
1、针对现有技术的不足,本实用新型的目的在于提供一种防破损效果好的医用包装膜,具备防破损效果好的优点,解决了现有的医用包装膜在使用过程中不仅耐穿刺效果差,而且耐磨和耐高温效果也不好,导致医用包装膜容易破损,会降低医用包装膜使用寿命的问题。
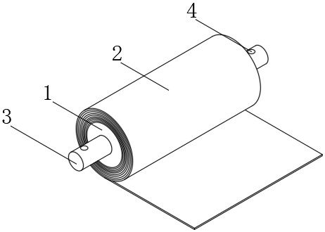
2、为实现上述目的,本实用新型提供如下技术方案:一种防破损效果好的医用包装膜,包括收卷辊,所述收卷辊的表面设置有薄膜本体,所述薄膜本体的底部设置有第一功能层,所述第一功能层包括聚乙烯薄膜层和bopa薄膜层,所述第一功能层的底部设置有第二功能层,所述第二功能层包括pet隔热膜层和纳米陶瓷隔热膜层。
3、优选的,所述收卷辊的正面和背面均固定连接有连接轴,所述连接轴的顶部开设有安装孔。
4、优选的,所述薄膜本体的底部通过粘结剂粘接有聚乙烯薄膜层,所述聚乙烯薄膜层的底部通过粘结剂粘接有bopa薄膜层。
5、优选的,所述第一功能层的底部通过粘结剂粘接有pet隔热膜层,所述pet隔热膜层的底部通过粘结剂粘接有纳米陶瓷隔热膜层。
6、优选的,所述聚乙烯薄膜层和bopa薄膜层的厚度相同,所述pet隔热膜层和纳米陶瓷隔热膜层的厚度相同。
7、与现有技术相比,本实用新型提供了一种防破损效果好的医用包装膜,具备以下有益效果:
8、本实用新型通过设置聚乙烯薄膜层,具备优异的耐穿刺性能,通过设置bopa薄膜层,具备抗拉、耐撕裂和耐穿刺的性能,通过设置pet隔热膜层,具备隔热、抗冲击、耐热和耐寒的性能,通过设置纳米陶瓷隔热膜层,具备隔热、耐候和耐磨的性能。
技术特征:
1.一种防破损效果好的医用包装膜,包括收卷辊(1),其特征在于:所述收卷辊(1)的表面设置有薄膜本体(2),所述薄膜本体(2)的底部设置有第一功能层(5),所述第一功能层(5)包括聚乙烯薄膜层(51)和bopa薄膜层(52),所述第一功能层(5)的底部设置有第二功能层(6),所述第二功能层(6)包括pet隔热膜层(61)和纳米陶瓷隔热膜层(62)。
2.根据权利要求1所述的一种防破损效果好的医用包装膜,其特征在于:所述收卷辊(1)的正面和背面均固定连接有连接轴(3),所述连接轴(3)的顶部开设有安装孔(4)。
3.根据权利要求1所述的一种防破损效果好的医用包装膜,其特征在于:所述薄膜本体(2)的底部通过粘结剂粘接有聚乙烯薄膜层(51),所述聚乙烯薄膜层(51)的底部通过粘结剂粘接有bopa薄膜层(52)。
4.根据权利要求1所述的一种防破损效果好的医用包装膜,其特征在于:所述第一功能层(5)的底部通过粘结剂粘接有pet隔热膜层(61),所述pet隔热膜层(61)的底部通过粘结剂粘接有纳米陶瓷隔热膜层(62)。
5.根据权利要求1所述的一种防破损效果好的医用包装膜,其特征在于:所述聚乙烯薄膜层(51)和bopa薄膜层(52)的厚度相同,所述pet隔热膜层(61)和纳米陶瓷隔热膜层(62)的厚度相同。
技术总结
本技术公开了一种防破损效果好的医用包装膜,包括收卷辊,所述收卷辊的表面设置有薄膜本体,所述薄膜本体的底部设置有第一功能层,所述第一功能层包括聚乙烯薄膜层和BOPA薄膜层,所述第一功能层的底部设置有第二功能层,所述第二功能层包括PET隔热膜层和纳米陶瓷隔热膜层,所述收卷辊的正面和背面均固定连接有连接轴,连接轴的顶部开设有安装孔,薄膜本体的底部通过粘结剂粘接有聚乙烯薄膜层。本技术通过设置聚乙烯薄膜层,具备优异的耐穿刺性能,通过设置BOPA薄膜层,具备抗拉、耐撕裂和耐穿刺的性能,通过设置PET隔热膜层,具备隔热、抗冲击、耐热和耐寒的性能,通过设置纳米陶瓷隔热膜层,具备隔热、耐候和耐磨的性能。
技术研发人员:李燕平,魏小波,邓雨薇
受保护的技术使用者:常州博路新材料有限公司
技术研发日:20231218
技术公布日:2024/9/2
技术研发人员:李燕平,魏小波,邓雨薇
技术所有人:常州博路新材料有限公司
备 注:该技术已申请专利,仅供学习研究,如用于商业用途,请联系技术所有人。
声 明 :此信息收集于网络,如果你是此专利的发明人不想本网站收录此信息请联系我们,我们会在第一时间删除
