一种咖啡碳抑菌跑鞋面料的制作方法

本技术涉及跑鞋面料领域,具体涉及一种咖啡碳抑菌跑鞋面料。
背景技术:
1、咖啡碳是一种利用喝完咖啡后剩下的咖啡渣,经1000摄氏度的高温煅烧碳化后制成晶体再研磨成的粉体,咖啡碳具有很多的孔洞,比表面积很大,具有很强的吸附作用,能够祛除异味,吸收体表的水分,抑制细菌的繁殖。
2、中国专利号201420292344.x公开了一种磨绒咖啡碳针织面料,包括外表面层和绒面层,所述外表面层由混纺纱线和氨纶丝编织而成,所述混纺纱线分为里纱、连接纱和面纱,所述面纱和里纱通过连接纱与氨纶丝交织,所述混纺纱线由咖啡碳细旦腈纶纤维与粘胶纤维混纺而成。该外表面层由混纺纱和氨纶丝编织而成,混纺纱又是由咖啡碳细旦腈纶纤维与黏胶纤维混纺而成,这种短纤维纱线磨毛表面的绒毛容易掉落,不仅会影响使用,久了也会导致保暖效果下降。
技术实现思路
1、因此,针对上述问题,本实用新型提供一种咖啡碳抑菌跑鞋面料,解决现有的咖啡碳面料易掉毛影响使用、保暖性能不佳的缺陷。
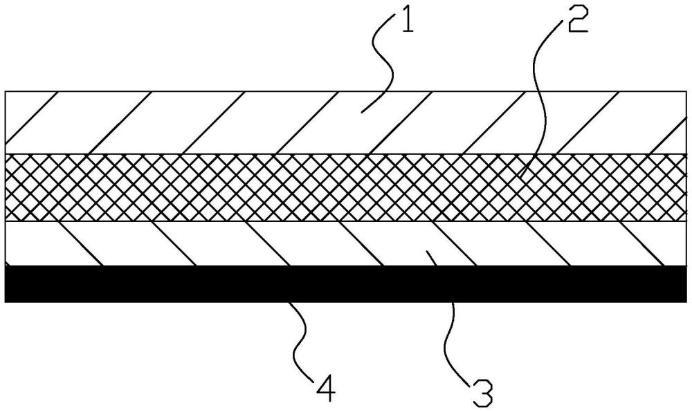
2、为达到上述目的,本实用新型是通过以下技术方案实现的:一种咖啡碳抑菌跑鞋面料,包括面料本体,所述面料本体具有由外到内的表面层、间隔层和底面层,所述表面层由涤纶纱线编织而成,所述底面层由咖啡碳纤维纱线编织而成,所述间隔层由tpee单丝纱线编织而成,所述底面层内还设有保暖层,所述表面层、间隔层、底面层和保暖层通过经编机编织成一体的坯布。
3、进一步的:所述涤纶纱线为150d/72f的涤纶dty。
4、进一步的:所述咖啡碳纤维纱线为150d/144f的咖啡碳纤维。
5、进一步的:所述tpee单丝为0.1mm。
6、进一步的:所述保暖层由姜丝纱线编织而成。
7、通过采用前述技术方案,本实用新型的有益效果是:本实用新型的咖啡碳抑菌跑鞋面料,由表面层、间隔层、底面层以及保暖层构成,与人体最贴近的一层为保暖层,能够起到较好的保暖效果,与人体第二接近的那层为咖啡碳纤维纱线编织而成,咖啡碳纤维具有纳米级的多孔结构,具有较强的吸附、抑菌作用,利用经编机将四层结构编织为一体,具有较好的平整性,不易掉毛。
技术特征:
1.一种咖啡碳抑菌跑鞋面料,包括面料本体,其特征在于:所述面料本体具有由外到内的表面层、间隔层和底面层,所述表面层由涤纶纱线编织而成,所述底面层由咖啡碳纤维纱线编织而成,所述间隔层由tpee单丝纱线编织而成,所述底面层内还设有保暖层,所述表面层、间隔层、底面层和保暖层通过经编机编织成一体的坯布。
2.根据权利要求1所述的一种咖啡碳抑菌跑鞋面料,其特征在于:所述涤纶纱线为150d/72f的涤纶dty。
3.根据权利要求1所述的一种咖啡碳抑菌跑鞋面料,其特征在于:所述咖啡碳纤维纱线为150d/144f的咖啡碳纤维。
4.根据权利要求1所述的一种咖啡碳抑菌跑鞋面料,其特征在于:所述tpee单丝为0.1mm。
5.根据权利要求1所述的一种咖啡碳抑菌跑鞋面料,其特征在于:所述保暖层由姜丝纱线编织而成。
技术总结
本技术涉及跑鞋面料领域,提供一种咖啡碳抑菌跑鞋面料,解决现有的咖啡碳面料易掉毛影响使用、保暖性能不佳的缺陷,包括面料本体,所述面料本体具有由外到内的表面层、间隔层和底面层,所述表面层由涤纶纱线编织而成,所述底面层由咖啡碳纤维纱线编织而成,所述间隔层由TPEE单丝纱线编织而成,所述底面层内还设有保暖层,所述表面层、间隔层、底面层和保暖层通过经编机编织成一体的坯布。
技术研发人员:苏成喻,何光均
受保护的技术使用者:福建省晋江市华宇织造有限公司
技术研发日:20231130
技术公布日:2024/9/2
技术研发人员:苏成喻,何光均
技术所有人:福建省晋江市华宇织造有限公司
备 注:该技术已申请专利,仅供学习研究,如用于商业用途,请联系技术所有人。
声 明 :此信息收集于网络,如果你是此专利的发明人不想本网站收录此信息请联系我们,我们会在第一时间删除
