一种隔音免漆生态板的制作方法

本技术涉及免漆生态板,具体为一种隔音免漆生态板。
背景技术:
1、免漆生态板又叫生态板或者三聚氰胺贴面板,是将带有不同颜色或纹理的纸放入生态板树脂胶粘剂中浸泡,然后干燥到一定固化程度,将其铺装在刨花板、防潮板、中密度纤维板、胶合板、细木工板或其他硬质纤维板表面,经热压而成的装饰板。
2、目前市场上的免漆生态板一般都是用于家具和室内装饰的制作,现有的免漆生态板在使用的过程中,房间外要是产生较大的噪音,噪音就会传入到房间内部,由于现有的免漆生态板的隔音效果较差,在噪音较大时就会影响人们的正常休息,因此我们提出一种隔音免漆生态板。
技术实现思路
1、本实用新型的目的在于提供一种隔音免漆生态板,以解决上述背景技术提出的目前市场上免漆生态板的隔音效果较差,在噪音较大时就会影响人们的正常休息的问题。
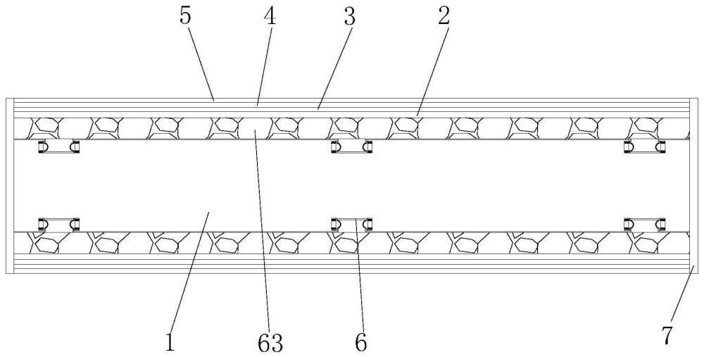
2、为实现上述目的,本实用新型提供如下技术方案:一种隔音免漆生态板,包括板芯、底层纸和装饰纸,所述板芯的两侧设置有底层纸,且底层纸的表面粘贴有覆盖纸,所述覆盖纸的外侧设置有装饰纸,且装饰纸的表面粘附有表层纸,所述底层纸和板芯之件共同设置有隔音组件,且隔音组件包括限位槽、限位块、隔音层、对接槽、活动块、导向杆和弹簧,所述限位槽开设在板芯的表面,所述限位槽的内部对接有限位块。
3、优选的,所述限位块的外端连接有隔音层,所述隔音层的一侧与板芯的表面相贴合,且隔音层的另一侧与底层纸进行对接。
4、优选的,所述限位块的两侧开设有对接槽,所述板芯靠近限位槽的内壁两侧插设有活动块,且活动块与对接槽进行对接。
5、优选的,所述活动块的两侧贯穿有与板芯内部相连接的导向杆,且导向杆的外侧套设有弹簧,所述弹簧的两端分别与活动块与板芯相连接。
6、优选的,所述板芯的外壁包裹有防护组件,且防护组件包括密封条、第一涂层和第二涂层,所述密封条套设在板芯的外壁。
7、优选的,所述密封条的表面设置有第一涂层,所述第一涂层的表面喷涂有第二涂层。
8、与现有技术相比,本实用新型的有益效果是:该隔音免漆生态板,先将隔音层上相连接的限位块与板芯上的限位槽进行对接,直至对隔音层进行组装,通过隔音层可以对噪音进行吸附隔离,使得该免漆生态板具有良好的隔音效果,通过第二涂层完全干透后形成的薄膜,可以起到防水的效果,防止该免漆生态板受潮变形。
9、1、该隔音免漆生态板,先将隔音层上相连接的限位块与板芯上的限位槽进行对接,并将隔音层向内按压,向内按压的隔音层带动限位块同时移动,限位块向内移动的过程中对板芯内壁的活动块进行挤压,受到外力挤压的活动块沿着导向杆移动,直至将限位块向内按压至极限位置,此时不受外力挤压的活动块通过弹簧的弹性作用力即可向外自动复位与对接槽对接,即可对隔音层进行限位组装,随后将底层纸、覆盖纸、装饰纸和表层纸依次粘附,通过在板芯两侧安装的隔音层,可以对噪音进行吸附隔离,从而使得该免漆生态板具有良好的隔音效果;
10、2、该隔音免漆生态板,先将密封条沿着板芯的外壁边缘进行包裹,随后在密封条的外壁均匀的喷涂环氧涂料第一涂层,待第一涂层完全干透后再在其外壁均匀的喷涂丙烯酸防水涂层第二涂层,直至第二涂层完全干透,通过第二涂层完全干透后形成的薄膜,可以起到防水的效果,从而防止该免漆生态板受潮变形。
技术特征:
1.一种隔音免漆生态板,包括板芯(1)、底层纸(2)和装饰纸(4),其特征在于:
2.根据权利要求1所述的一种隔音免漆生态板,其特征在于:所述限位块(62)的外端连接有隔音层(63),所述隔音层(63)的一侧与板芯(1)的表面相贴合,且隔音层(63)的另一侧与底层纸(2)进行对接。
3.根据权利要求2所述的一种隔音免漆生态板,其特征在于:所述限位块(62)的两侧开设有对接槽(64),所述板芯(1)靠近限位槽(61)的内壁两侧插设有活动块(65),且活动块(65)与对接槽(64)进行对接。
4.根据权利要求3所述的一种隔音免漆生态板,其特征在于:所述活动块(65)的两侧贯穿有与板芯(1)内部相连接的导向杆(66),且导向杆(66)的外侧套设有弹簧(67),所述弹簧(67)的两端分别与活动块(65)与板芯(1)相连接。
5.根据权利要求1所述的一种隔音免漆生态板,其特征在于:所述板芯(1)的外壁包裹有防护组件(7),且防护组件(7)包括密封条(71)、第一涂层(72)和第二涂层(73),所述密封条(71)套设在板芯(1)的外壁。
6.根据权利要求5所述的一种隔音免漆生态板,其特征在于:所述密封条(71)的表面设置有第一涂层(72),所述第一涂层(72)的表面喷涂有第二涂层(73)。
技术总结
本技术公开了一种隔音免漆生态板,包括板芯、底层纸和装饰纸,所述板芯的两侧设置有底层纸,且底层纸的表面粘贴有覆盖纸,所述覆盖纸的外侧设置有装饰纸,且装饰纸的表面粘附有表层纸,所述底层纸和板芯之件共同设置有隔音组件,且隔音组件包括限位槽、限位块、隔音层、对接槽、活动块、导向杆和弹簧,所述限位槽开设在板芯的表面,所述限位槽的内部对接有限位块。该隔音免漆生态板,先将隔音层上相连接的限位块与板芯上的限位槽进行对接,直至对隔音层进行组装,通过隔音层可以对噪音进行吸附隔离,使得该免漆生态板具有良好的隔音效果,通过第二涂层完全干透后形成的薄膜,可以起到防水的效果,防止该免漆生态板受潮变形。
技术研发人员:林国津,林国游
受保护的技术使用者:福州富林居新材料科技有限公司
技术研发日:20231025
技术公布日:2024/6/20
技术研发人员:林国津,林国游
技术所有人:福州富林居新材料科技有限公司
备 注:该技术已申请专利,仅供学习研究,如用于商业用途,请联系技术所有人。
声 明 :此信息收集于网络,如果你是此专利的发明人不想本网站收录此信息请联系我们,我们会在第一时间删除
