一种陶粒砂造粒设备的制作方法

本发明涉及陶粒砂制造,尤其涉及一种陶粒砂造粒设备。
背景技术:
1、陶粒砂是指陶制的颗粒,其中细小颗粒部分称为陶砂,主要是以各类黏土、页岩、煤矸石及工业固体废物为原料,经粉碎、制粒、筛分、煅烧等多道工艺制作而成。
2、目前,锅式造粒机只有在停机的时候才能将圆锅内粒径合格的颗粒取出,而在造粒过程中,圆锅内的原料受位置、水分和时间等多重因素的影响,所造出的颗粒大小并不完全一致,即颗粒的粒径有一部分已经合格或偏大,而另一部分颗粒的粒径还偏小。
3、现有技术中锅式造粒机的缺陷:不能在造粒机运行过程中将粒径合格的颗粒取出,导致停机过早时则会因为粒径较小而导致不合格,需要将粒径偏小的颗粒倒入圆锅内继续造粒,降低了造粒的效率,停机过晚时则会因为粒径偏大而导致不合格。
技术实现思路
1、为了克服现有技术中的缺点,本发明提供了一种能够在设备运行过程中将粒径合格的颗粒取出的陶粒砂造粒设备。
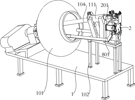
2、本发明的技术实施方案是:一种陶粒砂造粒设备,包括有工作台、圆锅、支撑座、套轴、出料管、导向管、内齿轮盘、传动齿轮、衔接管、筛料斗、大筛板、小支座和小筛板,工作台上安装有圆锅,支撑座上固接有小支座,小支座上通过套轴转动连接有出料管,出料管上固接有导向管,导向管上安装有内齿轮盘,圆锅内固接有传动齿轮,传动齿轮与内齿轮盘啮合,出料管位于圆锅内的一端安装有衔接管,衔接管上固接有筛料斗,筛料斗内部粒径合格的陶粒能够通过衔接管进入到出料管内,筛料斗两侧固接有用于筛选陶粒的大筛板和小筛板,大筛板和小筛板的孔径大小不同。
3、进一步的是,还包括有用于将出料管内的陶粒传送出来的出料机构,出料机构与出料管连接,出料机构包括有收料箱、机台、电机、小齿轮、大齿轮、螺旋叶片和下料筒,支撑座上固接有收料箱,机台上转动连接有小齿轮,机台上固接有用于驱动小齿轮转动的电机,机台上转动连接有螺旋叶片,螺旋叶片位于出料管内部,螺旋叶片上固接有大齿轮,大齿轮和小齿轮啮合,出料管上固接有下料筒,从出料管内传送出来的陶粒会经下料筒掉落到收料箱内。
4、进一步的是,还包括有用于带动出料管抖动以提升筛选速率的抖动机构,抖动机构与出料管连接,抖动机构包括有抖动板、一号弹簧和一号凸块,出料管上固接有抖动板,抖动板与小支座滑动连接,抖动板上套设有一号弹簧,抖动板和小支座上均固接有一号凸块,出料管转动过程中,通过一号凸块之间的相互挤压能够带动出料管抖动。
5、进一步的是,抖动机构还包括有限位环和限位盘,出料管与套轴为滑动连接,导向管和内齿轮盘也为滑动连接,内齿轮盘上固接有限位环,圆锅内转动连接有限位盘,限位盘下侧位于限位环内,限位盘用于限制内齿轮盘沿轴向移动。
6、进一步的是,还包括有用于防止不同粒径的陶粒参杂在一起的挡料机构,挡料机构与导向管连接,挡料机构包括有外导杆、内导杆、三号弹簧和挡板,衔接管上固接有外导杆的一端,外导杆内滑动连接有内导杆,内导杆的一端固接在出料管上,外导杆和内导杆上共同套设有三号弹簧,导向管上固接有挡板。
7、进一步的是,还包括有用于对收料箱内的陶粒筛选分类的分类机构,分类机构安装在储料箱内,分类机构包括有第一筛板和第二筛板,收料箱内倾斜设置有第一筛板和第二筛板,收料箱上开设有上出料口和下出料口。
8、进一步的是,还包括有用于带动第一筛板和第二筛板抖动的驱动机构,驱动机构与大齿轮连接,驱动机构包括有传动杆、二号弹簧、太阳轮、二号凸块、第一接杆、第一动轴、偏心杆、第二接杆、第二动轴和万向轴,收料箱上滑动连接有传动杆,传动杆上套设有二号弹簧,收料箱上转动连接有太阳轮,太阳轮和传动杆上均固接有二号凸块,太阳轮转动过程中会通过二号凸块间歇地挤压传动杆,传动杆上滑动连接有第一接杆的一端,第一接杆另一端固接有第一动轴,第一动轴与第一筛板的转动轴固接,传动杆在水平方向移动时会带动第一接杆以第一动轴为转动轴进行转动,第二筛板的转动轴上固接有第二动轴,第一动轴和第二动轴上均固接有偏心杆,两个偏心杆上共同滑动连接有第二接杆,第一动轴转动时会通过偏心杆和第二接杆带动第二动轴转动,大齿轮和太阳轮之间连接有万向轴。
9、进一步的是,还包括有用于提升筛选质量的控料机构,控料机构与第一动轴连接,控料机构包括有齿条杆、控料板和控料齿轮,第一动轴和第二动轴上均固接有齿条杆,收料箱上对称的转动连接有用于封堵上出料口和下出料口的控料板,控料板上安装有控料齿轮,齿条杆与相邻的控料齿轮啮合。
10、进一步的是,还包括有用于将第二筛板上掉落的陶粒送回圆锅内的收料管,收料箱的收料口上均固接有收料管的一端,收料管的另一端伸向圆锅内。
11、进一步的是,还包括有便于收集第二筛板上掉落的陶粒的调节组件,调节组件安装在收料箱上,调节组件包括有隔板架、托料板和挂钩,收料箱上滑动连接有隔板架和托料板,隔板架向下移动后能阻止陶粒向收料管内流动,托料板与隔板架固接,托料板用于为第二筛板上掉落的陶粒导流,收料箱上对称的开设有两个使陶粒能够流出的倒料口,收料箱上转动连接有用于阻挡隔板架向下滑动的挂钩。
12、本发明的有益效果为:
13、1、在圆锅转动造粒过程中,本设备先通过大筛板的设置使粒径偏大的陶粒无法进入到筛料斗内,再通过小筛板的设置使粒径偏小的陶粒从筛料斗内掉出,保证只有粒径合格的陶粒才能进入到出料管内,解决了现有技术中的锅式造粒机不能在运行过程中将粒径合格的陶粒取出的缺陷,提高了造粒的质量和效率;
14、2、抖动板转动过程中能够通过一号凸块之间的挤压配合带动出料管抖动,提高了大筛板和小筛板对陶粒的筛选效率;
15、3、圆锅挤压筛料斗的过程中,挡板能够逐渐遮盖在大筛板外侧以减小陶粒进入到筛料斗内的数量,避免小筛板因为来不及筛选而导致粒径不合格的陶粒进入到出料管内;
16、4、第一筛板和第二筛板对陶粒进行精准筛分,便于工人根据粒径大小将陶粒应用到不同的场景,并且通过驱动机构带动第一筛板和第二筛板抖动加快了筛选效率;
17、5、控料板转动过程中不仅能够保证第一筛板和第二筛板上的陶粒被充分筛分,而且还能在陶粒充分筛分后打开上出料口和下出料口,使陶粒自动流出。
技术特征:
1.一种陶粒砂造粒设备,包括有工作台(1)和圆锅(101),其特征是:还包括有支撑座(102)、套轴(103)、出料管(104)、导向管(105)、内齿轮盘(106)、传动齿轮(107)、衔接管(108)、筛料斗(109)、大筛板(110)、小支座(111)和小筛板(112),工作台(1)上安装有圆锅(101),支撑座(102)上固接有小支座(111),小支座(111)上通过套轴(103)转动连接有出料管(104),出料管(104)上固接有导向管(105),导向管(105)上安装有内齿轮盘(106),圆锅(101)内固接有传动齿轮(107),传动齿轮(107)与内齿轮盘(106)啮合,出料管(104)位于圆锅(101)内的一端安装有衔接管(108),衔接管(108)上固接有筛料斗(109),筛料斗(109)内部粒径合格的陶粒能够通过衔接管(108)进入到出料管(104)内,筛料斗(109)两侧固接有用于筛选陶粒的大筛板(110)和小筛板(112),大筛板(110)和小筛板(112)的孔径大小不同。
2.按照权利要求1所述的一种陶粒砂造粒设备,其特征是:还包括有用于将出料管(104)内的陶粒传送出来的出料机构,出料机构与出料管(104)连接,出料机构包括有收料箱(2)、机台(201)、电机(202)、小齿轮(203)、大齿轮(204)、螺旋叶片(205)和下料筒(206),支撑座(102)上固接有收料箱(2),机台(201)上转动连接有小齿轮(203),机台(201)上固接有用于驱动小齿轮(203)转动的电机(202),机台(201)上转动连接有螺旋叶片(205),螺旋叶片(205)位于出料管(104)内部,螺旋叶片(205)上固接有大齿轮(204),大齿轮(204)和小齿轮(203)啮合,出料管(104)上固接有下料筒(206),从出料管(104)内传送出来的陶粒会经下料筒(206)掉落到收料箱(2)内。
3.按照权利要求1所述的一种陶粒砂造粒设备,其特征是:还包括有用于带动出料管(104)抖动以提升筛选速率的抖动机构,抖动机构与出料管(104)连接,抖动机构包括有抖动板(3)、一号弹簧(301)和一号凸块(302),出料管(104)上固接有抖动板(3),抖动板(3)与小支座(111)滑动连接,抖动板(3)上套设有一号弹簧(301),抖动板(3)和小支座(111)上均固接有一号凸块(302),通过一号凸块(302)之间的相互挤压能够带动出料管(104)抖动。
4.按照权利要求3所述的一种陶粒砂造粒设备,其特征是:抖动机构还包括有限位环(303)和限位盘(304),出料管(104)与套轴(103)为滑动连接,导向管(105)和内齿轮盘(106)也为滑动连接,内齿轮盘(106)上固接有限位环(303),圆锅(101)内转动连接有限位盘(304),限位盘(304)下侧位于限位环(303)内,限位盘(304)用于限制内齿轮盘(106)沿轴向移动。
5.按照权利要求4所述的一种陶粒砂造粒设备,其特征是:还包括有用于防止不同粒径的陶粒参杂在一起的挡料机构,挡料机构与导向管(105)连接,挡料机构包括有外导杆(6)、内导杆(601)、三号弹簧(602)和挡板(603),衔接管(108)上固接有外导杆(6)的一端,外导杆(6)内滑动连接有内导杆(601),内导杆(601)的一端固接在出料管(104)上,外导杆(6)和内导杆(601)上共同套设有三号弹簧(602),导向管(105)上固接有挡板(603)。
6.按照权利要求2所述的一种陶粒砂造粒设备,其特征是:还包括有用于对收料箱(2)内的陶粒筛选分类的分类机构,分类机构安装在储料箱内,分类机构包括有第一筛板(4)和第二筛板(401),收料箱(2)内倾斜设置有第一筛板(4)和第二筛板(401),收料箱(2)上开设有上出料口(402)和下出料口(403)。
7.按照权利要求6所述的一种陶粒砂造粒设备,其特征是:还包括有用于带动第一筛板(4)和第二筛板(401)抖动的驱动机构,驱动机构与大齿轮(204)连接,驱动机构包括有传动杆(5)、二号弹簧(501)、太阳轮(502)、二号凸块(503)、第一接杆(504)、第一动轴(505)、偏心杆(506)、第二接杆(507)、第二动轴(508)和万向轴(509),收料箱(2)上滑动连接有传动杆(5),传动杆(5)上套设有二号弹簧(501),收料箱(2)上转动连接有太阳轮(502),太阳轮(502)和传动杆(5)上均固接有二号凸块(503),太阳轮(502)转动过程中会通过二号凸块(503)间歇地挤压传动杆(5),传动杆(5)上滑动连接有第一接杆(504)的一端,第一接杆(504)另一端固接有第一动轴(505),第一动轴(505)与第一筛板(4)的转动轴固接,传动杆(5)在水平方向移动时会带动第一接杆(504)以第一动轴(505)为转动轴进行转动,第二筛板(401)的转动轴上固接有第二动轴(508),第一动轴(505)和第二动轴(508)上均固接有偏心杆(506),两个偏心杆(506)上共同滑动连接有第二接杆(507),第一动轴(505)转动时会通过偏心杆(506)和第二接杆(507)带动第二动轴(508)转动,大齿轮(204)和太阳轮(502)之间连接有万向轴(509)。
8.按照权利要求7所述的一种陶粒砂造粒设备,其特征是:还包括有用于提升筛选质量的控料机构,控料机构与第一动轴(505)连接,控料机构包括有齿条杆(7)、控料板(701)和控料齿轮(702),第一动轴(505)和第二动轴(508)上均固接有齿条杆(7),收料箱(2)上对称的转动连接有用于封堵上出料口(402)和下出料口(403)的控料板(701),控料板(701)上安装有控料齿轮(702),齿条杆(7)与相邻的控料齿轮(702)啮合。
9.按照权利要求6所述的一种陶粒砂造粒设备,其特征是:还包括有用于将第二筛板(401)上掉落的陶粒送回圆锅(101)内的收料管(801),收料箱(2)的收料口(8)上均固接有收料管(801)的一端,收料管(801)的另一端伸向圆锅(101)内。
10.按照权利要求9所述的一种陶粒砂造粒设备,其特征是:还包括有便于收集第二筛板(401)上掉落的陶粒的调节组件,调节组件安装在收料箱(2)上,调节组件包括有隔板架(9)、托料板(901)和挂钩(902),收料箱(2)上滑动连接有隔板架(9)和托料板(901),隔板架(9)向下移动后能阻止陶粒向收料管(801)内流动,托料板(901)与隔板架(9)固接,托料板(901)用于为第二筛板(401)上掉落的陶粒导流,收料箱(2)上对称的开设有两个使陶粒能够流出的倒料口(903),收料箱(2)上转动连接有用于阻挡隔板架(9)向下滑动的挂钩(902)。
技术总结
本发明涉及陶粒砂制造技术领域,尤其涉及一种陶粒砂造粒设备,包括有工作台、圆锅、支撑座、套轴、出料管、导向管、内齿轮盘、传动齿轮、衔接管、筛料斗等;工作台上安装有圆锅,支撑座上固接有小支座,小支座上通过套轴转动连接有出料管,出料管上固接有导向管,导向管上安装有内齿轮盘,圆锅内固接有传动齿轮,传动齿轮与内齿轮盘啮合,出料管位于圆锅内的一端安装有衔接管,衔接管上固接有筛料斗。在圆锅转动造粒过程中,本设备先通过大筛板的设置使粒径偏大的陶粒无法进入到筛料斗内,再通过小筛板的设置使粒径偏小的陶粒从筛料斗内掉出,保证只有粒径合格的陶粒才能进入到出料管内。
技术研发人员:李琦,李志刚
受保护的技术使用者:郑州永泰陶粒砂有限公司
技术研发日:
技术公布日:2024/9/2
技术研发人员:李琦,李志刚
技术所有人:郑州永泰陶粒砂有限公司
备 注:该技术已申请专利,仅供学习研究,如用于商业用途,请联系技术所有人。
声 明 :此信息收集于网络,如果你是此专利的发明人不想本网站收录此信息请联系我们,我们会在第一时间删除
