一种DC升压装置的制作方法

本技术涉及升压装置,具体为一种dc升压装置。
背景技术:
1、新能源汽车dc/dc变换器是电压变换装置,可以将动力电池高电压转换为恒定低电压给全车电气设备供电,又可以给低压蓄电池充电。dc/dc变换器是在直流电路中将电压值变换为另一个电压值的电能装置。新能源汽车dc/dc变换器一般分为升压型、降压型和稳压型三种类型,其中降压型几乎每辆新能源汽车都会搭载,主要作用是将动力电池的高压电变换成低压电向低压蓄电池充电并能够给整车低压电气设备供电。dc/dc变换器一端连接动力电池,另一端连接低压蓄电池,其一方面将动力电池高压直流电转换成低压直流电对低压蓄电池进行充电,另一方面给整车低压电气设备供电,其作用类似于燃油汽车发电机。
2、现有的dc芯片升压装置在对蓄电池进行充电时,其充电接口不具备保护措施,容易误触导致连接断开。
技术实现思路
1、本部分的目的在于概述本实用新型的实施方式的一些方面以及简要介绍一些较佳实施方式。在本部分以及本申请的说明书摘要和实用新型名称中可能会做些简化或省略以避免使本部分、说明书摘要和实用新型名称的目的模糊,而这种简化或省略不能用于限制本实用新型的范围。
2、鉴于上述和/或现有一种dc升压装置中存在的问题,提出了本实用新型。
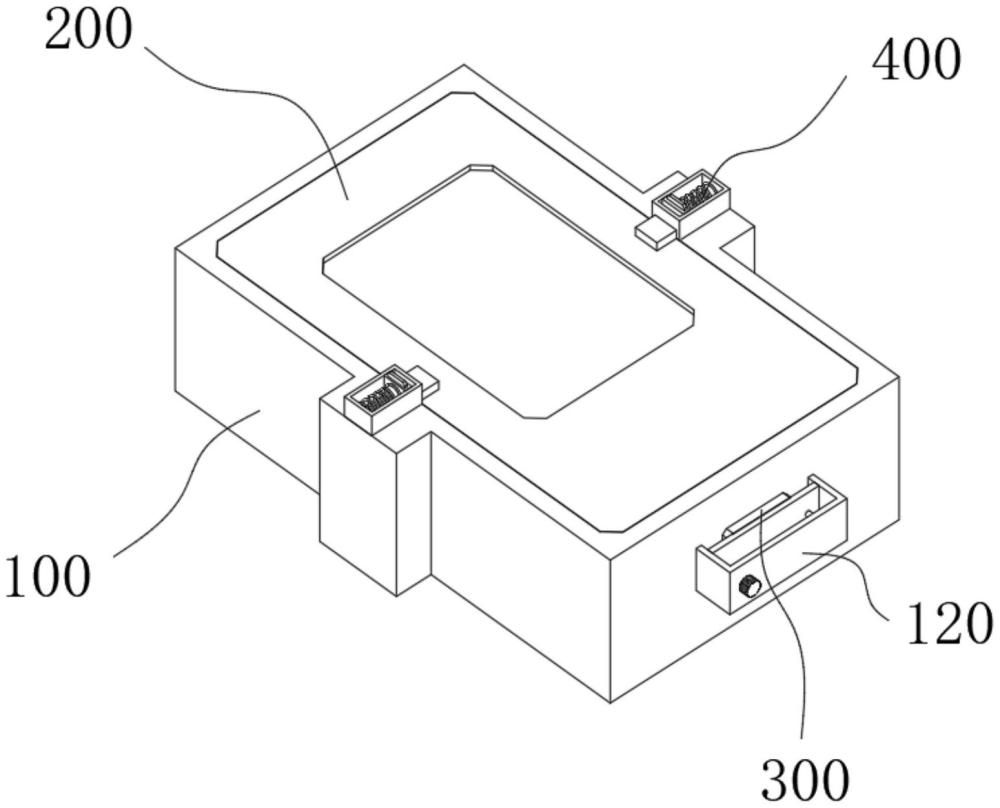
3、因此,本实用新型的目的是提供一种dc升压装置,通过设置壳体,壳体侧壁设置有充电接头,壳体顶部开设有容置槽,壳体侧壁安装有固定板,固定板侧壁可转动的连接有旋钮,旋钮侧壁安装有螺纹杆,充电接头侧壁安装有滑板,滑板侧壁开设有螺纹孔,螺纹杆旋转贯穿螺纹孔,通过将蓄电池置于容置槽内部,旋转旋钮带动螺纹杆旋转,利用丝杆结构推动滑板带动充电接头伸入容置槽内部,并插入蓄电池充电接口内,在蓄电池充电时对连接处进行保护,防止误触导致充电失效。
4、为解决上述技术问题,根据本实用新型的一个方面,本实用新型提供了如下技术方案:
5、一种dc升压装置,其包括:
6、壳体,所述壳体顶部开设有容置槽,所述壳体侧壁安装有固定板,所述固定板侧壁可转动的连接有旋钮,所述旋钮侧壁安装有螺纹杆;
7、蓄电池,位于所述容置槽内部,所述蓄电池侧壁开设有充电接口;
8、充电接头,滑动连接在所述壳体侧壁,并伸入所述容置槽内部,所述充电接头侧壁安装有滑板,所述旋钮侧壁开设有螺纹孔,所述螺纹杆旋转贯穿所述螺纹孔。
9、作为本实用新型所述的一种dc升压装置的一种优选方案,其中,所述固定板侧壁安装有导向杆。
10、作为本实用新型所述的一种dc升压装置的一种优选方案,其中,所述滑板侧壁开设有导向孔,所述导向杆贯穿所述导向孔。
11、作为本实用新型所述的一种dc升压装置的一种优选方案,其中,所述容置槽底部安装有第一弹簧,所述第一弹簧顶部安装有推板。
12、作为本实用新型所述的一种dc升压装置的一种优选方案,其中,还包括限位组件,所述限位组件包括安装在所述壳体顶部的限位壳体、开设在所述限位壳体顶部的滑槽、滑动连接在所述滑槽内部的滑块、安装在所述滑块侧壁的第二弹簧和安装在所述滑块另一侧壁的限位板。
13、作为本实用新型所述的一种dc升压装置的一种优选方案,其中,所述限位板贯穿伸出所述限位壳体侧壁并伸至所述容置槽顶部开口处。
14、与现有技术相比:通过设置壳体,壳体侧壁设置有充电接头,壳体顶部开设有容置槽,壳体侧壁安装有固定板,固定板侧壁可转动的连接有旋钮,旋钮侧壁安装有螺纹杆,充电接头侧壁安装有滑板,滑板侧壁开设有螺纹孔,螺纹杆旋转贯穿螺纹孔,通过将蓄电池置于容置槽内部,旋转旋钮带动螺纹杆旋转,利用丝杆结构推动滑板带动充电接头伸入容置槽内部,并插入蓄电池充电接口内,在蓄电池充电时对连接处进行保护,防止误触导致充电失效。
技术特征:
1.一种dc升压装置,其特征在于,包括:
2.根据权利要求1所述的一种dc升压装置,其特征在于,所述固定板(120)侧壁安装有导向杆(150)。
3.根据权利要求2所述的一种dc升压装置,其特征在于,所述滑板(310)侧壁开设有导向孔(330),所述导向杆(150)贯穿所述导向孔(330)。
4.根据权利要求3所述的一种dc升压装置,其特征在于,所述容置槽(110)底部安装有第一弹簧(160),所述第一弹簧(160)顶部安装有推板(170)。
5.根据权利要求4所述的一种dc升压装置,其特征在于,还包括限位组件(400),所述限位组件(400)包括安装在所述壳体(100)顶部的限位壳体(410)、开设在所述限位壳体(410)顶部的滑槽(420)、滑动连接在所述滑槽(420)内部的滑块(430)、安装在所述滑块(430)侧壁的第二弹簧(440)和安装在所述滑块(430)另一侧壁的限位板(450)。
6.根据权利要求5所述的一种dc升压装置,其特征在于,所述限位板(450)贯穿伸出所述限位壳体(410)侧壁并伸至所述容置槽(110)顶部开口处。
技术总结
本技术公开一种DC升压装置,包括壳体、蓄电池和充电接头,本技术通过设置壳体,壳体侧壁设置有充电接头,壳体顶部开设有容置槽,壳体侧壁安装有固定板,固定板侧壁可转动的连接有旋钮,旋钮侧壁安装有螺纹杆,充电接头侧壁安装有滑板,滑板侧壁开设有螺纹孔,螺纹杆旋转贯穿螺纹孔,通过将蓄电池置于容置槽内部,旋转旋钮带动螺纹杆旋转,利用丝杆结构推动滑板带动充电接头伸入容置槽内部,并插入蓄电池充电接口内,在蓄电池充电时对连接处进行保护,防止误触导致充电失效。
技术研发人员:史志国
受保护的技术使用者:上海玫跃通信科技有限公司
技术研发日:20231230
技术公布日:2024/8/21
技术研发人员:史志国
技术所有人:上海玫跃通信科技有限公司
备 注:该技术已申请专利,仅供学习研究,如用于商业用途,请联系技术所有人。
声 明 :此信息收集于网络,如果你是此专利的发明人不想本网站收录此信息请联系我们,我们会在第一时间删除
