一种户外电表箱的制作方法

本技术涉及户外电表箱,尤其涉及一种户外电表箱。
背景技术:
1、电表箱不仅计量电能和保护设备的作用,电表箱还起到管理电路的作用。
2、但现有电表箱为竖直安装,因此抄表人员平视电表箱的,但对于身高不同的抄表员,其对电表箱安装位置的高度要求不一致,不便于人员抄表;电表箱的门通过合页将其固定在箱体上,在工人抄表时门易转动,影响工人的工作效率。
技术实现思路
1、本实用新型的目的是为了解决现有技术中存在的缺点,而提出的一种户外电表箱。
2、为了解决现有技术存在的问题,本实用新型采用了如下技术方案:
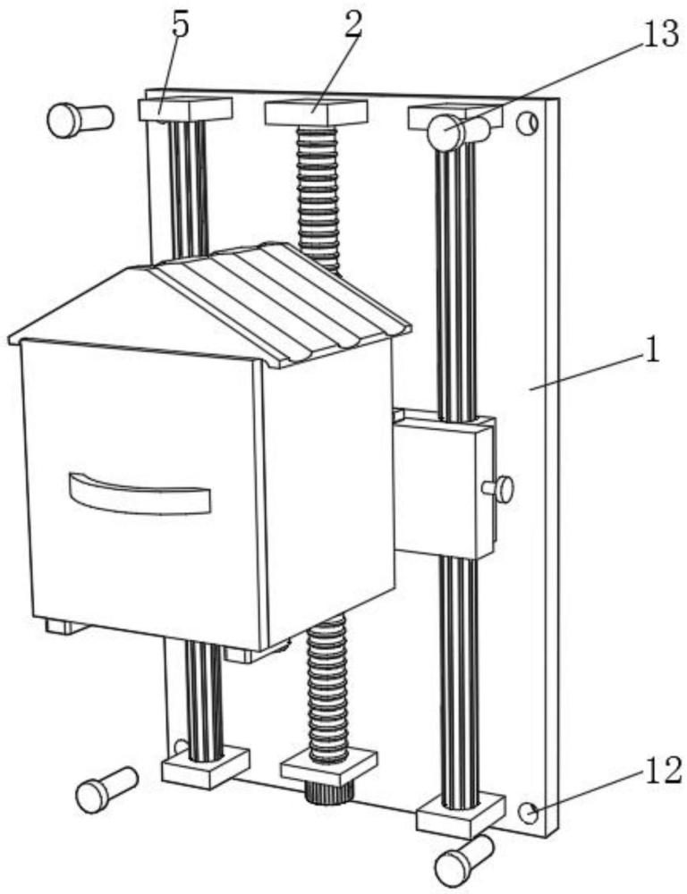
3、一种户外电表箱,包括竖板,所述竖板呈矩形板状,所述竖板的一侧固定连接有一对第一固定块,一对所述第一固定块之间转动连接有螺纹杆,所述螺纹杆的下端固定连接有转动钮块,所述转动钮块转动在一个第一固定块的下表面,所述竖板的一侧固定连接有两对第二固定块,一对所述第一固定块设置在两对第二固定块之间,两对所述第二固定块之间均固定连接有控制杆,所述螺纹杆设置在两个控制杆之间,所述螺纹杆的外表面螺纹连接有移动块,两个所述控制杆均滑动在移动块的内部,所述移动块的上表面滑动连接有连接机构。
4、优选地,所述连接机构包括限位块,所述限位块的下端滑动在移动块的上表面,所述移动块的上表面开设有矩形限位槽,所述限位块的下端滑动在限位槽的内部,所述限位块呈倒u形块状,所述限位块的一侧固定连接有箱体,所述箱体呈矩形箱状。
5、优选地,所述竖板的一侧开设有四个圆形的定位孔,四个所述定位孔的内部均滑动连接有圆杆状的定位杆。
6、优选地,所述箱体的上表面固定连接有三角形块状的顶盖,所述顶盖的上表面开设有若干个排水槽。
7、优选地,所述移动块和限位块的一侧均开设有插孔,两个所述插孔的内部设置有圆杆状的插杆,所述插杆的一端螺纹连接在移动块一侧的插孔内部。
8、优选地,所述箱体的一侧滑动连接有移动门,所述移动门呈矩形板状,所述移动门的一侧横向固定连接有弧形块状的把手。
9、优选地,所述箱体的一侧竖向开设有两个滑动槽,所述移动门的另一侧固定连接有两个滑动块,两个所述滑动块的一端分别滑动在两个滑动槽的内部,两个所述滑动块和两个滑动槽均呈梯形。
10、优选地,所述箱体的下表面转动连接有两个挡板,两个所述挡板均呈矩形板状,两个所述挡板分别设置在箱体和移动门的下表面。
11、与现有技术相比,本实用新型的有益效果是:
12、1、在本实用新型中,通过转动钮块带动螺纹杆转动,带动移动块移动,将限位块滑动插入限位槽的内部,将插杆滑动插孔的内部,当移动块移动时带动箱体上下移动,根据抄表员的身高调节箱体的位置,便于人员抄表;
13、2、在本实用新型中,转动两个挡板使得其离开移动门的下方,拉动把手使得移动门上下移动,当工人抄表时将移动门向下滑动,提高了工人的工作效率。
技术特征:
1.一种户外电表箱,包括竖板(1),其特征在于:所述竖板(1)呈矩形板状,所述竖板(1)的一侧固定连接有一对第一固定块(2),一对所述第一固定块(2)之间转动连接有螺纹杆(3),所述螺纹杆(3)的下端固定连接有转动钮块(4),所述转动钮块(4)转动在一个第一固定块(2)的下表面,所述竖板(1)的一侧固定连接有两对第二固定块(5),一对所述第一固定块(2)设置在两对第二固定块(5)之间,两对所述第二固定块(5)之间均固定连接有控制杆(6),所述螺纹杆(3)设置在两个控制杆(6)之间,所述螺纹杆(3)的外表面螺纹连接有移动块(7),两个所述控制杆(6)均滑动在移动块(7)的内部,所述移动块(7)的上表面滑动连接有连接机构。
2.根据权利要求1所述的一种户外电表箱,其特征在于:所述连接机构包括限位块(9),所述限位块(9)的下端滑动在移动块(7)的上表面,所述移动块(7)的上表面开设有矩形限位槽(8),所述限位块(9)的下端滑动在限位槽(8)的内部,所述限位块(9)呈倒u形块状,所述限位块(9)的一侧固定连接有箱体(10),所述箱体(10)呈矩形箱状。
3.根据权利要求1所述的一种户外电表箱,其特征在于:所述竖板(1)的一侧开设有四个圆形的定位孔(12),四个所述定位孔(12)的内部均滑动连接有圆杆状的定位杆(13)。
4.根据权利要求2所述的一种户外电表箱,其特征在于:所述箱体(10)的上表面固定连接有三角形块状的顶盖(14),所述顶盖(14)的上表面开设有若干个排水槽。
5.根据权利要求2所述的一种户外电表箱,其特征在于:所述移动块(7)和限位块(9)的一侧均开设有插孔,两个所述插孔的内部设置有圆杆状的插杆(11),所述插杆(11)的一端螺纹连接在移动块(7)一侧的插孔内部。
6.根据权利要求4所述的一种户外电表箱,其特征在于:所述箱体(10)的一侧滑动连接有移动门(15),所述移动门(15)呈矩形板状,所述移动门(15)的一侧横向固定连接有弧形块状的把手(18)。
7.根据权利要求6所述的一种户外电表箱,其特征在于:所述箱体(10)的一侧竖向开设有两个滑动槽(16),所述移动门(15)的另一侧固定连接有两个滑动块(17),两个所述滑动块(17)的一端分别滑动在两个滑动槽(16)的内部,两个所述滑动块(17)和两个滑动槽(16)均呈梯形。
8.根据权利要求7所述的一种户外电表箱,其特征在于:所述箱体(10)的下表面转动连接有两个挡板(19),两个所述挡板(19)均呈矩形板状,两个所述挡板(19)分别设置在箱体(10)和移动门(15)的下表面。
技术总结
本技术公开了一种户外电表箱,涉及户外电表箱技术领域,包括竖板,竖板呈矩形板状,竖板的一侧固定连接有一对第一固定块,一对第一固定块之间转动连接有螺纹杆,螺纹杆的下端固定连接有转动钮块,转动钮块转动在一个第一固定块的下表面,竖板的一侧固定连接有两对第二固定块,一对第一固定块设置在两对第二固定块之间,两对第二固定块之间均固定连接有控制杆,螺纹杆设置在两个控制杆之间。本技术通过转动钮块带动螺纹杆转动,带动移动块移动,将限位块滑动插入限位槽的内部,将插杆滑动插孔的内部,当移动块移动时带动箱体上下移动,根据抄表员的身高调节箱体的位置,便于人员抄表。
技术研发人员:张灿,张琼,宋祖稳
受保护的技术使用者:安徽奥轩实业有限公司
技术研发日:20231229
技术公布日:2024/8/21
技术研发人员:张灿,张琼,宋祖稳
技术所有人:安徽奥轩实业有限公司
备 注:该技术已申请专利,仅供学习研究,如用于商业用途,请联系技术所有人。
声 明 :此信息收集于网络,如果你是此专利的发明人不想本网站收录此信息请联系我们,我们会在第一时间删除
