一种建筑电气线缆走线槽的制作方法

本技术属于线缆走线槽,具体涉及一种建筑电气线缆走线槽。
背景技术:
1、走线槽是用于线缆走线的结构,走线槽一般密封的槽状结构,凹槽内可供多种电缆穿过,在现在的建筑以及机柜内运用非常常见,起到保护电缆的作用,避免电缆暴露在外部凌乱的情况,也能够防止老鼠啃咬,以及起到阻燃的作用,现在走线槽适用在建筑上时,一般都安装在建筑室内顶部,现在走线槽都是多节进行通过螺栓进行连接,然后再通过固定螺丝固定在建筑顶部,安装过程非常的繁琐,费事费力。
2、为此,本实用新型设计了一种建筑电气线缆走线槽。
技术实现思路
1、本实用新型的目的在于提供一种建筑电气线缆走线槽,以解决上述背景技术中提出的问题。
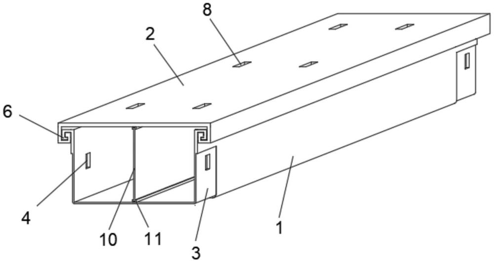
2、为实现上述目的,本实用新型提供如下技术方案:一种建筑电气线缆走线槽,包括顶盖板和多个单节槽体,多个所述单节槽体位于顶盖板的下方,每个所述单节槽体的顶部两侧边缘一体形成有悬挂翻转条,所述顶盖板的两侧一体形成有悬挂滑槽,所述悬挂翻转条与悬挂滑槽限位滑动,每个所述单节槽体的两端均设置有内陷槽,所述内陷槽上开设有卡槽,每相邻的两个单节槽体上的内陷槽之间设置有拼接板,所述拼接板的两端分别设置有两对防脱卡块,所述防脱卡块分别与相邻的两个内陷槽上的卡槽卡合连接。
3、优选的,所述顶盖板的顶部表面均匀设置有多个贯穿的安装孔,所述安装孔为条形孔结构。
4、优选的,所述单节槽体的内侧中心设置有分隔板,所述单节槽体的内侧表面以及顶盖板的底部表面均设置有一个安装卡座,所述分隔板的上下两端分别与两个安装卡座卡合连接。
5、优选的,所述拼接板的形状尺寸与相邻的两个内陷槽拼接形成的形状尺寸相匹配。
6、优选的,两个所述安装卡座分别与对应的单节槽体以及顶盖板为一体式结构,所述安装卡座上的开设的凹槽厚度与分隔板的厚度相匹配。
7、优选的,所述拼接板为塑料构件,所述防脱卡块与拼接板为一体成型结构,且防脱卡块的尺寸与卡槽的尺寸相匹配。
8、与现有技术相比,本实用新型的有益效果是:在本实用新型中顶盖板两侧边缘翻转一体成型的悬挂滑槽,在单节槽体的顶部两侧边缘一体形成能够与悬挂滑槽相匹配的悬挂翻转条,使得单节槽体能够沿着顶盖板滑动安装,使得单节槽体与顶盖板之间安装更加快捷方便,另外在单节槽体的两端设计了内陷槽,相邻两个单节槽体上的内陷槽能够通过拼接板进行卡合拼接成一个整体,使得单节槽体之间安装更加的快捷方便。
技术特征:
1.一种建筑电气线缆走线槽,包括顶盖板(2)和多个单节槽体单节槽体(1),其特征在于:多个所述单节槽体(1)位于顶盖板(2)的下方,每个所述单节槽体(1)的顶部两侧边缘一体形成有悬挂翻转条(6),所述顶盖板(2)的两侧一体形成有悬挂滑槽(7),所述悬挂翻转条(6)与悬挂滑槽(7)限位滑动,每个所述单节槽体(1)的两端均设置有内陷槽(3),所述内陷槽(3)上开设有卡槽(4),每相邻的两个单节槽体(1)上的内陷槽(3)之间设置有拼接板(5),所述拼接板(5)的两端分别设置有两对防脱卡块(9),所述防脱卡块(9)分别与相邻的两个内陷槽(3)上的卡槽(4)卡合连接。
2.根据权利要求1所述的一种建筑电气线缆走线槽,其特征在于:所述顶盖板(2)的顶部表面均匀设置有多个贯穿的安装孔(8),所述安装孔(8)为条形孔结构。
3.根据权利要求1所述的一种建筑电气线缆走线槽,其特征在于:所述单节槽体(1)的内侧中心设置有分隔板(10),所述单节槽体(1)的内侧表面以及顶盖板(2)的底部表面均设置有一个安装卡座(11),所述分隔板(10)的上下两端分别与两个安装卡座(11)卡合连接。
4.根据权利要求1所述的一种建筑电气线缆走线槽,其特征在于:所述拼接板(5)的形状尺寸与相邻的两个内陷槽(3)拼接形成的形状尺寸相匹配。
5.根据权利要求3所述的一种建筑电气线缆走线槽,其特征在于:两个所述安装卡座(11)分别与对应的单节槽体(1)以及顶盖板(2)为一体式结构,所述安装卡座(11)上开设的凹槽厚度与分隔板(10)的厚度相匹配。
6.根据权利要求1所述的一种建筑电气线缆走线槽,其特征在于:所述拼接板(5)为塑料构件,所述防脱卡块(9)与拼接板(5)为一体成型结构,且防脱卡块(9)的尺寸与卡槽(4)的尺寸相匹配。
技术总结
本技术公开了一种建筑电气线缆走线槽,包括顶盖板和单节槽体单节槽体,多个所述单节槽体位于顶盖板的下方,每个所述单节槽体的顶部两侧边缘一体形成有悬挂翻转条,所述顶盖板的两侧一体形成有悬挂滑槽,所述悬挂翻转条与悬挂滑槽限位滑动,每个所述单节槽体的两端均设置有内陷槽,在本技术中顶盖板两侧边缘翻转一体成型的悬挂滑槽,在单节槽体的顶部两侧边缘一体形成能够与悬挂滑槽相匹配的悬挂翻转条,使得单节槽体能够沿着顶盖板滑动安装,使得单节槽体与顶盖板之间安装更加快捷方便,另外在单节槽体的两端设计了内陷槽,相邻两个单节槽体上的内陷槽能够通过拼接板进行卡合拼接成一个整体,使得单节槽体之间安装更加的快捷方便。
技术研发人员:聂军超,曹子龙
受保护的技术使用者:聂军超
技术研发日:20231229
技术公布日:2024/8/21
技术研发人员:聂军超,曹子龙
技术所有人:聂军超
备 注:该技术已申请专利,仅供学习研究,如用于商业用途,请联系技术所有人。
声 明 :此信息收集于网络,如果你是此专利的发明人不想本网站收录此信息请联系我们,我们会在第一时间删除
