离心机电机组装结构的制作方法

本技术涉及离心机,具体为一种离心机电机组装结构。
背景技术:
1、离心机是一种用于分离液体混合物中不同组分的设备,它基于离心力的原理工作,将颗粒或液体分离成不同的层次或组分,离心机在医疗、生物化学、化学、食品加工、环境科学和其他领域中广泛应用。
2、离心机的电机在组装或者拆卸时,需要将多颗螺栓拧紧或松动,如果螺栓拧紧不到位,可能需要多次调整和重新拧紧,增加了组装时间,降低了效率,螺栓拧紧不足可能导致组件松动,在运行时可能出现故障或危险,故而提出一种离心机电机组装结构,来解决上述技术问题。
技术实现思路
1、针对现有技术的不足,本实用新型提供了一种离心机电机组装结构,具备便于组装等优点,解决了螺栓拧紧不到位,可能需要多次调整和重新拧紧,增加了组装时间,降低了效率的问题。
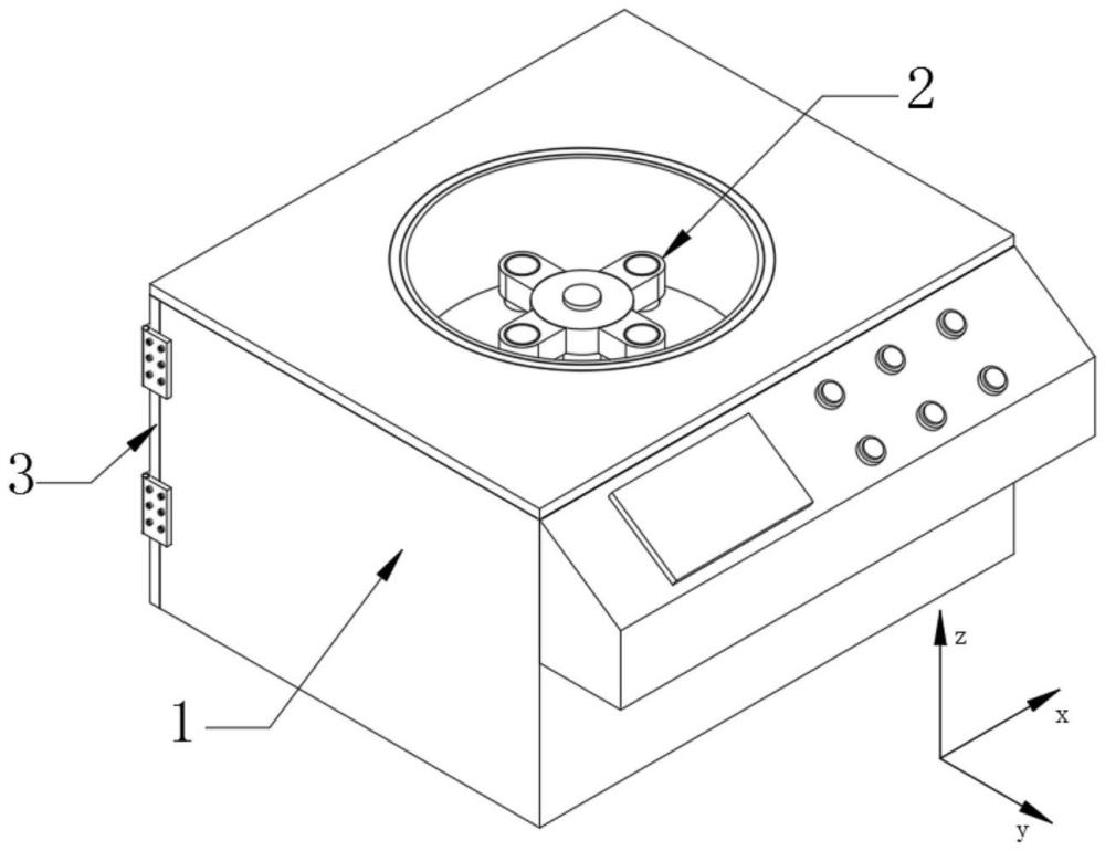
2、为实现上述目的,本实用新型提供如下技术方案:离心机电机组装结构,包括柜体和离心盘;
3、所述离心盘转动连接在柜体的内顶壁,所述柜体的背面通过合页铰接有柜门,所述离心盘下表面的中心处装配有对接桩;
4、所述柜体的内部设置有用于组装电机的安装组件和上顶结构,所述安装组件包括两滑条,两所述滑条分别滑动连接在柜体内壁的左右两侧,两所述滑条相对的一侧之间滑动连接有承载板,以用于放置电机;
5、所述承载板的上表面装配有安装壳,所述电机位于安装壳的内部,且与安装壳的一侧相贴合,所述安装壳内壁的前侧螺纹连接有丝杆,所述丝杆的一端转动连接有夹板,所述夹板的另一端装配有把手,以用于对安装壳内部的电机进行固定。
6、进一步,所述安装壳内壁的前侧开设有与丝杆相适配的螺纹通孔,所述夹板滑动连接在承载板的上表面。
7、进一步,所述安装壳沿z轴方向开设有一容纳空腔,所述安装壳的形状为前侧外凸的长方体。
8、进一步,所述对接桩竖向中线点与电机输出端的中心点位于同一z轴线上,所述夹板上端横截面的形状为弧形。
9、进一步,所述上顶结构包括连接板和气缸;
10、所述连接板设置在两个滑条的下表面,所述气缸装配于柜体的内底壁且输出端与连接板传动连接。
11、进一步,两所述滑条相背的一侧均设置有两个滑块,且在柜体内壁的左右两侧均开设有两个且分别供四个滑块上下移动的滑槽。
12、与现有技术相比,本申请的技术方案具备以下有益效果:
13、该离心机电机组装结构,将电机放置在安装壳的内部,转动把手带动与其连接的丝杆旋转,通过螺纹连接的作用丝杆转动推动与其连接的夹板朝着电机的方向移动,且夹板与电机的外侧相贴合,进而将电机进行固定,通过气缸的输出端伸缩带动与其连接的连接板以及两个滑条向上移动,且两滑条之间的承载板随之向上移动,进而将电机的输出端从对接桩的内部插入,使得电机与离心盘传动连接,进而完成对电机的组装。
技术特征:
1.离心机电机组装结构,包括柜体(1)和离心盘(2),其特征在于:
2.根据权利要求1所述的离心机电机组装结构,其特征在于:所述安装壳(403)内壁的前侧开设有与丝杆(404)相适配的螺纹通孔,所述夹板(405)滑动连接在承载板(402)的上表面。
3.根据权利要求1所述的离心机电机组装结构,其特征在于:所述安装壳(403)沿z轴方向开设有一容纳空腔,所述安装壳(403)的形状为前侧外凸的长方体。
4.根据权利要求1所述的离心机电机组装结构,其特征在于:所述对接桩(5)竖向中线点与电机输出端的中心点位于同一z轴线上,所述夹板(405)上端横截面的形状为弧形。
5.根据权利要求1所述的离心机电机组装结构,其特征在于:所述上顶结构包括连接板(407)和气缸(408);
6.根据权利要求1所述的离心机电机组装结构,其特征在于:两所述滑条(401)相背的一侧均设置有两个滑块,且在柜体(1)内壁的左右两侧均开设有两个且分别供四个滑块上下移动的滑槽。
技术总结
本技术涉及离心机电机组装结构,包括柜体和离心盘,所述离心盘转动连接在柜体的内顶壁,所述柜体的背面通过合页铰接有柜门,所述离心盘下表面的中心处装配有对接桩,所述柜体的内部设置有用于组装电机的安装组件和上顶结构。该离心机电机组装结构,将电机放置在安装壳的内部,转动把手带动与其连接的丝杆旋转,通过螺纹连接的作用丝杆转动推动与其连接的夹板朝着电机的方向移动,且夹板与电机的外侧相贴合,进而将电机进行固定,通过气缸的输出端伸缩带动与其连接的连接板以及两个滑条向上移动,且两滑条之间的承载板随之向上移动,进而将电机的输出端从对接桩的内部插入,使得电机与离心盘传动连接,进而完成对电机的组装。
技术研发人员:傅卓,陆洪泉,金志敏,傅浩正
受保护的技术使用者:湖州前峰特种电机有限公司
技术研发日:20231229
技术公布日:2024/8/21
技术研发人员:傅卓,陆洪泉,金志敏,傅浩正
技术所有人:湖州前峰特种电机有限公司
备 注:该技术已申请专利,仅供学习研究,如用于商业用途,请联系技术所有人。
声 明 :此信息收集于网络,如果你是此专利的发明人不想本网站收录此信息请联系我们,我们会在第一时间删除
