一种用于煤基固废充填的筛选装置

本技术涉及煤基固废充填筛选,具体为一种用于煤基固废充填的筛选装置。
背景技术:
1、煤基固废指的是煤燃料燃烧后剩余的固定废料,目前对这些固定废料多以填埋为主,煤基固废中含有体型较大的煤矸石和体型较小的粉煤灰,通常需要对两者进行筛选处理,筛选后对两者进行不同的充填处理。
2、现有一种用于煤基固废充填的筛选装置(申请号:202221187609.0)通过转动电机的驱动,带动蛟龙螺杆旋转,从而带走位于筛网上堆积的煤矸石,不需要操作人员频繁去挪动堆积的煤矸石,省时省力,降低操作人员的劳动强度,且提高了筛选效率,上述仍存在,在对煤基固废进行筛选时,往往会使用到滤网,将煤基固废放置在滤网上,进而实现对煤基固废的筛选工作,上述装置在对煤基固废进行筛选时,仅对煤基固废进行一次筛选,进而容易导致筛选不彻底,不便于工作人员对煤基固废进行二次筛选工作,且在煤基固废筛选完成后,通过滤网的粉煤灰会落入箱体的底部,不便于工作人员将粉煤灰进行推动,进而位于里侧的粉煤灰收集较为困难。
技术实现思路
1、本实用新型的目的是为了解决现有技术中存在不便于工作人员对煤基固废进行二次筛选工作,进而容易导致筛选不彻底,不便于工作人员将粉煤灰进行推动,进而位于里侧的粉煤灰收集较为困难的缺点,而提出的一种用于煤基固废充填的筛选装置。
2、为实现上述目的,本实用新型提供如下技术方案:
3、设计一种用于煤基固废充填的筛选装置,包括箱体,所述箱体的一侧上方固定连接有外壳,所述箱体的一侧下方内壁间隙配合有挡板,所述箱体的内壁一侧上方固定连接有横板,所述箱体的内壁一侧下方固定连接有壳体,所述箱体的内壁底部一侧固定连接有滑杆,所述外壳的一侧设有筛选结构,所述壳体的一侧设有推动结构。
4、优选的,所述筛选结构包括电机一,所述电机一的顶部与外壳的内壁顶部固定连接,所述电机一的输出端固定连接有往复丝杆,所述往复丝杆的外壁上方滑动卡接有横块,所述横块的外壁一侧与外壳的内壁一侧上方凹槽滑动卡接,所述横块的一端贴合有曲块,所述曲块的一侧下方固定连接有弹簧,所述弹簧的一端与外壳的内壁一侧下方固定连接,所述曲块的另一侧下方固定连接有滤网一,所述滤网一的外壁左右两侧分别与箱体的左右两侧内壁间隙配合,所述滤网一的顶部一侧固定连接有竖杆,所述竖杆的顶部固定连接有滤网二,所述滤网二的一端内壁与横板的外壁一侧间隙配合。
5、优选的,所述箱体的底部固定连接有底板,所述底板的顶部一侧贴合有收集箱。
6、优选的,所述箱体的顶部一侧内壁固定连接有进料筒。
7、优选的,所述箱体的内壁左右两侧上方均固定连接有斜块。
8、优选的,所述推动结构包括电机二,所述电机二的后端与壳体的内壁后端固定连接,所述电机二的输出端固定连接有圆板,所述圆板的前端面固定连接有圆块一,所述圆块一的外壁与转杆的内侧通槽滑动卡接,所述转杆的前端面上方通过销轴与壳体的内壁顶部转动连接,所述转杆的底部内壁间隙配合有圆块二,所述圆块二的后端固定连接有曲杆,所述曲杆的下方内壁与滑杆的外壁一侧滑动卡接,所述曲杆的外壁一侧与壳体的一端内壁间隙配合,所述曲杆的一端固定连接有推板。
9、本实用新型提出的一种用于煤基固废充填的筛选装置,有益效果在于:通过箱体、底板、进料筒、外壳、斜块、壳体、挡板、收集箱、滑杆、横板和筛选结构的配合,使得该装置在使用时,可以通过电机一带动往复丝杆转动,往复丝杆带动横块上下移动,横块带动曲块向右移动,弹簧带动曲块向左移动,曲块带动滤网一左右移动,滤网一带动竖杆左右移动,竖杆带动滤网二左右移动,进而煤基固废在经过滤网二后在落在滤网一上,进而便于工作人员对煤基固废进行二次筛选工作,进而使筛选更加彻底;
10、通过箱体、底板、进料筒、外壳、斜块、壳体、挡板、收集箱、滑杆、横板和筛选结构的配合,使得该装置在使用时,可以通过电机二带动圆板转动,圆板带动圆块一转动,圆块一带动转杆转动,转杆带动圆块二向左移动,圆块二带动曲杆向左移动,曲杆带动推板向左移动,进而将粉煤灰向左推动,便于工作人员将粉煤灰进行推动,便于将位于里侧的粉煤灰进行收集。
技术特征:
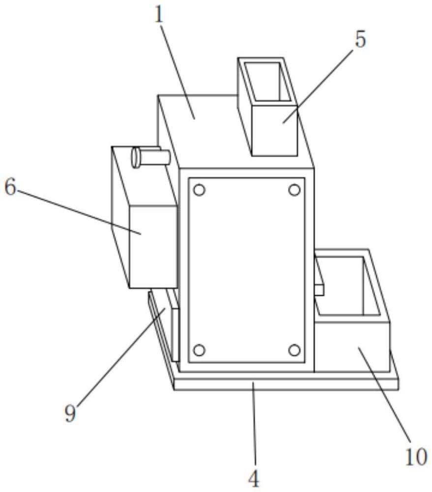
1.一种用于煤基固废充填的筛选装置,包括箱体(1),其特征在于:所述箱体(1)的一侧上方固定连接有外壳(6),所述箱体(1)的一侧下方内壁间隙配合有挡板(9),所述箱体(1)的内壁一侧上方固定连接有横板(12),所述箱体(1)的内壁一侧下方固定连接有壳体(8),所述箱体(1)的内壁底部一侧固定连接有滑杆(11),所述外壳(6)的一侧设有筛选结构(2),所述壳体(8)的一侧设有推动结构(3)。
2.根据权利要求1所述的一种用于煤基固废充填的筛选装置,其特征在于:所述筛选结构(2)包括电机一(2a1),所述电机一(2a1)的顶部与外壳(6)的内壁顶部固定连接,所述电机一(2a1)的输出端固定连接有往复丝杆(2a2),所述往复丝杆(2a2)的外壁上方滑动卡接有横块(2a3),所述横块(2a3)的外壁一侧与外壳(6)的内壁一侧上方凹槽滑动卡接,所述横块(2a3)的一端贴合有曲块(2a4),所述曲块(2a4)的一侧下方固定连接有弹簧(2a5),所述弹簧(2a5)的一端与外壳(6)的内壁一侧下方固定连接,所述曲块(2a4)的另一侧下方固定连接有滤网一(2a6),所述滤网一(2a6)的外壁左右两侧分别与箱体(1)的左右两侧内壁间隙配合,所述滤网一(2a6)的顶部一侧固定连接有竖杆(2a8),所述竖杆(2a8)的顶部固定连接有滤网二(2a7),所述滤网二(2a7)的一端内壁与横板(12)的外壁一侧间隙配合。
3.根据权利要求1所述的一种用于煤基固废充填的筛选装置,其特征在于:所述箱体(1)的底部固定连接有底板(4),所述底板(4)的顶部一侧贴合有收集箱(10)。
4.根据权利要求1所述的一种用于煤基固废充填的筛选装置,其特征在于:所述箱体(1)的顶部一侧内壁固定连接有进料筒(5)。
5.根据权利要求1所述的一种用于煤基固废充填的筛选装置,其特征在于:所述箱体(1)的内壁左右两侧上方均固定连接有斜块(7)。
6.根据权利要求1所述的一种用于煤基固废充填的筛选装置,其特征在于:所述推动结构(3)包括电机二(301),所述电机二(301)的后端与壳体(8)的内壁后端固定连接,所述电机二(301)的输出端固定连接有圆板(302),所述圆板(302)的前端面固定连接有圆块一(303),所述圆块一(303)的外壁与转杆(304)的内侧通槽滑动卡接,所述转杆(304)的前端面上方通过销轴与壳体(8)的内壁顶部转动连接,所述转杆(304)的底部内壁间隙配合有圆块二(305),所述圆块二(305)的后端固定连接有曲杆(306),所述曲杆(306)的下方内壁与滑杆(11)的外壁一侧滑动卡接,所述曲杆(306)的外壁一侧与壳体(8)的一端内壁间隙配合,所述曲杆(306)的一端固定连接有推板(307)。
技术总结
本技术涉及煤基固废充填筛选技术领域,尤其是一种用于煤基固废充填的筛选装置,包括箱体,所述箱体的一侧上方固定连接有外壳,所述箱体的一侧下方内壁间隙配合有挡板,所述箱体的内壁一侧上方固定连接有横板,所述箱体的内壁一侧下方固定连接有壳体。通过箱体、底板、进料筒、外壳、斜块、壳体、挡板、收集箱、滑杆、横板和筛选结构的配合,电机一带动往复丝杆转动,往复丝杆带动横块上下移动,横块带动曲块向右移动,弹簧带动曲块向左移动,曲块带动滤网一左右移动,滤网一带动竖杆左右移动,竖杆带动滤网二左右移动,进而煤基固废在经过滤网二后在落在滤网一上,进而便于工作人员对煤基固废进行二次筛选工作,进而使筛选更加彻底。
技术研发人员:白卓阳,陆银龙,杨峻同,崔晟赫,朱龙
受保护的技术使用者:中国矿业大学
技术研发日:20240109
技术公布日:2024/9/2
技术研发人员:白卓阳,陆银龙,杨峻同,崔晟赫,朱龙
技术所有人:中国矿业大学
备 注:该技术已申请专利,仅供学习研究,如用于商业用途,请联系技术所有人。
声 明 :此信息收集于网络,如果你是此专利的发明人不想本网站收录此信息请联系我们,我们会在第一时间删除
