一种供能小车及轨道交通系统的制作方法

本技术涉及交通能源供给设备,具体而言,涉及一种供能小车及轨道交通系统。
背景技术:
1、随着新能源技术的发展,在公共交通领域,新能源逐渐替代常规能源作为交通工具的动力来源,例如在空中轨道交通系统中,一般设置电池能量包作为动力来源,无需设置变电站和架设输电线路,可满足运输和出现需要。
2、但是,电池能量包一般设置在空轨的车厢上,且具有一定的重量和体积,需要占用车厢的部分设计承载重量和承载空间,对应地,车厢内可承载乘客或运输物品的设计承载重量和承载空间减小,大大降低了空轨的承载能力。
技术实现思路
1、本实用新型解决的问题是如何在保证空轨的新能源正常供给的同时,提升空轨的车厢承载能力。
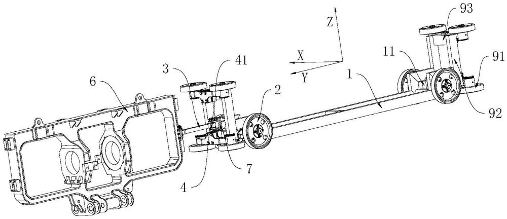
2、为解决上述问题,一方面,本实用新型提供一种供能小车,包括车架、走行组件、拉杆和橡胶球铰,所述车架用于承载与轨道交通系统电连接的电池能量包,且置于所述轨道交通系统的箱型轨道内的两个转向架之间,所述走行组件安装在所述车架上,所述车架用于通过所述走行组件沿所述箱型轨道走行,所述拉杆的两端分别通过所述橡胶球铰与位于所述车架前方的所述转向架和所述车架铰接。
3、相对于现有技术,本实用新型的供能小车的有益效果包括:设置车架作为供能小车的承载结构,车架可承载与轨道交通系统电连接的电池能量包,从而可满足轨道交通系统运行的正常新能源供给需要。在此基础上,在车架上设置走行组件,将车架设置在轨道交通系统的箱型轨道内,车架可通过走行组件沿箱型轨道走行,同时将车架设于两个转向架之间,并通过拉杆两端的橡胶球铰分别与位于车架前方的转向架以及车架铰接,既使得整个供能小车不占用轨道交通系统的车厢的设计承载重量和承载空间,可有效提升轨道交通系统的承载能力,而且在需要对电池能量包进行拆装维护时,只需将整个供能小车进行装入和取出箱型轨道即可,有效提升拆装维护的便捷性;同时,在轨道交通系统运行时,随着转向架在箱型轨道的移动,车架可通过拉杆随着转向架同步移动,通过走行组件有效提升供能小车的移动稳定性,可有效保证供能小车对轨道交通系统的实时能源供给,其中拉杆的两端均通过橡胶球铰呈铰接设置,既可使得车架能够随转向架在箱型轨道内的方向调整而同步调整,又可利用橡胶球铰的刚度减震降噪,有效提升供能小车的移动稳定性,同时利用橡胶球铰柔性连接的特点,有效提升转向架、拉杆和车架之间的牵引制动力的传递稳定性,进一步保证供能小车对轨道交通系统的实时能源供给。
4、可选地,所述拉杆的端部设有上下贯穿所述拉杆的容纳腔,所述橡胶球铰置于所述容纳腔内,所述橡胶球铰的外壁与容纳腔的内壁之间设有润滑油脂层,所述橡胶球铰的上下两端均设有沿所述车架的高度方向伸出所述容纳腔的转动轴,所述转动轴与所述转向架或所述车架连接。
5、可选地,所述供能小车还包括连接支座,所述连接支座具有两个,且分别安装在所述转向架和所述车架上,所述连接支座与所述转动轴连接,在所述车架的高度方向上,所述连接支座与所述拉杆之间存在间隙。
6、可选地,所述走行组件包括走行轮和走行轮轴,所述走行轮轴安装在所述车架上,所述走行轮转动安装在所述走行轮轴上,所述走行轮的轮面与所述箱型轨道的内底壁相抵。
7、可选地,沿所述车架的宽度方向,两个所述走行轮分别位于所述车架的两侧,两个所述走行轮的所述走行轮轴通过弹性连接件连接,所述弹性连接件和所述走行轮之间贴合设置有挡片,所述挡片安装在所述走行轮轴上。
8、可选地,所述车架上设有走行轮安装座,所述走行轮轴位于所述走行轮安装座的下方,所述弹性连接件与所述走行轮安装座贴合,所述弹性连接件上罩设有开口朝向所述走行轮安装座的保护壳,所述保护壳上安装有开口朝向所述走行轮安装座的u形连接件,所述u形连接件的端部与所述走行轮安装座连接。
9、可选地,所述走行轮包括轮毂和弹性层,所述轮毂转动安装在所述走行轮轴上,所述弹性层覆盖在所述轮毂的轮面上,且与所述箱型轨道的内底壁相抵;
10、和/或,还包括速度传感器,所述速度传感器安装在所述轮毂上。
11、可选地,所述供能小车还包括导向轮安装架,所述导向轮安装架安装在所述车架沿走行方向的至少一端上,且与所述走行组件沿所述车架的走行方向间隔设置,所述导向轮安装架上转动安装有导向轮,所述导向轮具有两个,两个所述导向轮沿所述车架的宽度方向间隔设置,所述导向轮的轮面与所述箱型轨道沿宽度方向的内侧壁相抵。
12、可选地,所述导向轮安装架包括架体和支撑架,所述架体安装在所述车架上,所述支撑架安装在所述架体上,且沿所述车架的宽度方向延伸,所述支撑架的延伸尺寸大于或等于所述车架的宽度尺寸,所述导向轮转动安装在所述支撑架的端部上。
13、另一方面,本实用新型还提供一种轨道交通系统,包括箱型轨道、转向架和如上所述的供能小车。
14、相对于现有技术,本实用新型的轨道交通系统的有益效果与如上所述的供能小车的有益效果相同,在此不再赘述。
技术特征:
1.一种供能小车,其特征在于,包括车架(1)、走行组件(2)、拉杆(3)和橡胶球铰(4),所述车架(1)用于承载与轨道交通系统电连接的电池能量包(12),且置于所述轨道交通系统的箱型轨道(5)内的两个转向架(6)之间,所述走行组件(2)安装在所述车架(1)上,所述车架(1)用于通过所述走行组件(2)沿所述箱型轨道(5)走行,所述拉杆(3)的两端分别通过所述橡胶球铰(4)与位于所述车架(1)前方的所述转向架(6)和所述车架(1)铰接。
2.根据权利要求1所述的供能小车,其特征在于,所述拉杆(3)的端部设有上下贯穿所述拉杆(3)的容纳腔(31),所述橡胶球铰(4)置于所述容纳腔(31)内,所述橡胶球铰(4)的外壁与容纳腔(31)的内壁之间设有润滑油脂层,所述橡胶球铰(4)的上下两端均设有沿所述车架(1)的高度方向伸出所述容纳腔(31)的转动轴(41),所述转动轴(41)与所述转向架(6)或所述车架(1)连接。
3.根据权利要求2所述的供能小车,其特征在于,还包括连接支座(7),所述连接支座(7)具有两个,且分别安装在所述转向架(6)和所述车架(1)上,所述连接支座(7)与所述转动轴(41)连接,在所述车架(1)的高度方向上,所述连接支座(7)与所述拉杆(3)之间存在间隙。
4.根据权利要求1至3中任一项所述的供能小车,其特征在于,所述走行组件(2)包括走行轮(21)和走行轮轴(22),所述走行轮轴(22)安装在所述车架(1)上,所述走行轮(21)转动安装在所述走行轮轴(22)上,所述走行轮(21)的轮面与所述箱型轨道(5)的内底壁相抵。
5.根据权利要求4所述的供能小车,其特征在于,沿所述车架(1)的宽度方向,两个所述走行轮(21)分别位于所述车架(1)的两侧,两个所述走行轮(21)的所述走行轮轴(22)通过弹性连接件(221)连接,所述弹性连接件(221)和所述走行轮(21)之间贴合设置有挡片(222),所述挡片(222)安装在所述走行轮轴(22)上。
6.根据权利要求5所述的供能小车,其特征在于,所述车架(1)上设有走行轮安装座(11),所述走行轮轴(22)位于所述走行轮安装座(11)的下方,所述弹性连接件(221)与所述走行轮安装座(11)贴合,所述弹性连接件(221)上罩设有开口朝向所述走行轮安装座(11)的保护壳(223),所述保护壳(223)上安装有开口朝向所述走行轮安装座(11)的u形连接件(224),所述u形连接件(224)的端部与所述走行轮安装座(11)连接。
7.根据权利要求4所述的供能小车,其特征在于,所述走行轮(21)包括轮毂(211)和弹性层(212),所述轮毂(211)转动安装在所述走行轮轴(22)上,所述弹性层(212)覆盖在所述轮毂(211)的轮面上,且与所述箱型轨道(5)的内底壁相抵;
8.根据权利要求1至3中任一项所述的供能小车,其特征在于,还包括导向轮安装架(9),所述导向轮安装架(9)安装在所述车架(1)沿走行方向的至少一端上,且与所述走行组件(2)沿所述车架(1)的走行方向间隔设置,所述导向轮安装架(9)上转动安装有导向轮(91),所述导向轮(91)具有两个,两个所述导向轮(91)沿所述车架(1)的宽度方向间隔设置,所述导向轮(91)的轮面与所述箱型轨道(5)沿宽度方向的内侧壁相抵。
9.根据权利要求8所述的供能小车,其特征在于,所述导向轮安装架(9)包括架体(92)和支撑架(93),所述架体(92)安装在所述车架(1)上,所述支撑架(93)安装在所述架体(92)上,且沿所述车架(1)的宽度方向延伸,所述支撑架(93)的延伸尺寸大于或等于所述车架(1)的宽度尺寸,所述导向轮(91)转动安装在所述支撑架(93)的端部上。
10.一种轨道交通系统,其特征在于,包括箱型轨道(5)、转向架(6)和如权利要求1至9中任一项所述的供能小车。
技术总结
本技术提供了一种供能小车及轨道交通系统,涉及交通能源供给设备技术领域。本技术的供能小车包括车架、走行组件、拉杆和橡胶球铰,车架用于承载与轨道交通系统电连接的电池能量包,且置于轨道交通系统的箱型轨道内的两个转向架之间,走行组件安装在车架上,车架用于通过走行组件沿箱型轨道走行,拉杆的两端分别通过橡胶球铰与位于车架前方的转向架和车架铰接。该供能小车利用相邻转向架之间的空间,可随转向架的移动而同步移动,不占用车厢的设计承载重量和承载空间,可有效提升轨道交通系统的承载能力,而且,利用橡胶球铰的减震降噪和柔性连接的特点,有效提升移动稳定性,进而保证供能小车对轨道交通系统的实时能源供给。
技术研发人员:谢波,张水清,周飞,龚玉辉
受保护的技术使用者:广东京兰空铁发展有限公司
技术研发日:20231219
技术公布日:2024/9/2
技术研发人员:谢波,张水清,周飞,龚玉辉
技术所有人:广东京兰空铁发展有限公司
备 注:该技术已申请专利,仅供学习研究,如用于商业用途,请联系技术所有人。
声 明 :此信息收集于网络,如果你是此专利的发明人不想本网站收录此信息请联系我们,我们会在第一时间删除
