一种矿用气动司控道岔联动装置的制作方法

本技术涉及矿用巷道运输,具体为一种矿用气动司控道岔联动装置。
背景技术:
1、目前国内应用在煤矿轨道运输的司控道岔装置按执行机构的类型分,有电动和气动两种,气动执行机构以现场压风作为动力源,因为体积小、结构简单、故障率低、维护方面等优点而备受用户欢迎。
2、而大多数煤矿在用的司控道岔气缸都是固定在道岔道板下方底槽内,再使用盖板对道岔气缸进行遮掩,这样会产生道岔气缸槽内易积水积淤的缺陷,影响气缸正常使用寿命,甚至会导致气缸故障影响当班正常车辆运输,同时产生安全隐患。
3、需要说明的是,上述内容属于发明人的技术认知范畴,并不必然构成现有技术。
技术实现思路
1、针对以上缺陷,本实用新型提供一种矿用气动司控道岔联动装置,以解决司控道岔气缸槽内易积水问题。
2、为实现上述目的,本实用新型采用以下技术方案:
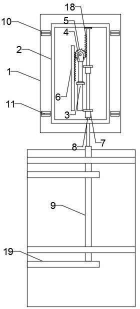
3、一种矿用气动司控道岔联动装置,包括底座和固定安装在底座上的底壳,所述底壳内设有驱动机构,底壳上安装有防护机构;
4、驱动机构包括驱动气缸、安装架、转动齿轮、固定齿条、一组固定套筒、滑动杆以及驱动杆,所述驱动气缸水平安装在底壳内,所述安装架安装在驱动气缸伸缩端上,所述转动齿轮活动安装在安装架上,所述固定齿条安装在底壳内左侧,且与转动齿轮啮合,一组固定套筒安装在底壳内右侧,所述滑动杆活动插装在一组固定套筒内,所述驱动杆安装在滑动杆前端。
5、进一步的,防护机构包括若干个固定座、若干个凹槽、若干个夹持杆、若干个螺杆、若干个锁紧螺母以及顶壳,若干个固定座均匀安装在底座上两侧,若干个凹槽开在若干个固定座内上端,若干个夹持杆铰接在若干个固定座内后端,若干个螺杆底部铰接在若干个凹槽内前端,且上端活动贯穿在若干个夹持杆内,若干个锁紧螺母悬拧在若干个螺杆上端,所述顶壳安装在底壳上。
6、进一步的,若干个夹持杆上端分别开有与螺杆相对应的条形孔,所述顶壳底部四周安装有密封板。
7、进一步的,所述滑动杆左侧开有与转动齿轮啮合的条形齿。
8、进一步的,所述驱动杆前端固定连接有道岔。
9、进一步的,所述底壳前端左侧开有一组圆形孔,滑动杆通过密封环活动插装在底壳前端右侧。
10、本实用新型提供了一种矿用气动司控道岔联动装置,具备以下有益效果,通过位于底壳内的驱动机构可带动道岔进行转辙或复位,采用驱动气缸驱动转动齿轮可以达到行程倍速目的,防护机构采用底壳和顶壳相互配合安装,将气缸等部件放置在内部,从而避免产生积水积淤,提高了气缸的使用寿命,消除了安全隐患,且顶壳为可拆卸结构,方便后续检测维护。
技术特征:
1.一种矿用气动司控道岔联动装置,包括底座(1)和固定安装在底座(1)上的底壳(2),其特征在于,所述底壳(2)内设有驱动机构,底壳(2)上安装有防护机构;
2.根据权利要求1所述的一种矿用气动司控道岔联动装置,其特征在于,防护机构包括若干个固定座(10)、若干个凹槽(11)、若干个夹持杆(12)、若干个螺杆(13)、若干个锁紧螺母(14)以及顶壳(15),若干个固定座(10)均匀安装在底座(1)上两侧,若干个凹槽(11)开在若干个固定座(10)内上端,若干个夹持杆(12)铰接在若干个固定座(10)内后端,若干个螺杆(13)底部铰接在若干个凹槽(11)内前端,且上端活动贯穿在若干个夹持杆(12)内,若干个锁紧螺母(14)悬拧在若干个螺杆(13)上端,所述顶壳(15)安装在底壳(2)上。
3.根据权利要求2所述的一种矿用气动司控道岔联动装置,其特征在于,若干个夹持杆(12)上端分别开有与螺杆(13)相对应的条形孔(16),所述顶壳(15)底部四周安装有密封板(17)。
4.根据权利要求1所述的一种矿用气动司控道岔联动装置,其特征在于,所述滑动杆(8)左侧开有与转动齿轮(5)啮合的条形齿(18)。
5.根据权利要求1所述的一种矿用气动司控道岔联动装置,其特征在于,所述驱动杆(9)前端固定连接有道岔(19)。
6.根据权利要求1所述的一种矿用气动司控道岔联动装置,其特征在于,所述底壳(2)前端左侧开有一组圆形孔(20),滑动杆(8)通过密封环(21)活动插装在底壳(2)前端右侧。
技术总结
本技术公开了一种矿用气动司控道岔联动装置,包括底座和固定安装在底座上的底壳,所述底壳内设有驱动机构,底壳上安装有防护机构,驱动机构包括驱动气缸、安装架、转动齿轮、固定齿条、一组固定套筒、滑动杆以及驱动杆,防护机构包括若干个固定座、若干个凹槽、若干个夹持杆、若干个螺杆、若干个锁紧螺母以及顶壳。本技术的有益效果是,通过位于底壳内的驱动机构可带动道岔进行转辙或复位,采用驱动气缸驱动转动齿轮可以达到行程倍速目的,防护机构采用底壳和顶壳相互配合安装,将气缸等部件放置在内部,从而避免产生积水积淤,提高了气缸的使用寿命,消除了安全隐患,且顶壳为可拆卸结构,方便后续检测维护。
技术研发人员:弓晓召,周鹏辉,张家辉,王向辉
受保护的技术使用者:邯郸市鑫泽机械电子设备有限公司
技术研发日:20240311
技术公布日:2024/9/2
技术研发人员:弓晓召,周鹏辉,张家辉,王向辉
技术所有人:邯郸市鑫泽机械电子设备有限公司
备 注:该技术已申请专利,仅供学习研究,如用于商业用途,请联系技术所有人。
声 明 :此信息收集于网络,如果你是此专利的发明人不想本网站收录此信息请联系我们,我们会在第一时间删除
