一种电力逆变器的安装柜的制作方法

本发明涉及电力逆变器的安装,特别是涉及一种电力逆变器的安装柜。
背景技术:
1、电力逆变器又称电源调整器、功率调节器,是光伏系统必不可少的一部分。电力逆变器最主要的功能是把太阳能电池板所发的直流电转化成家电使用的交流电,太阳能电池板所发的电全部都要通过逆变器的处理才能对外输出。
2、现有技术中,大多数电力逆变器需通过在墙壁上预埋螺栓,继而将电力逆变器悬空挂起,电力逆变器自身为了散热设置有风扇散热。
3、电力逆变器自带的风扇散热效果有限,但是其使用环境的温度要求不得超过40℃。当电力逆变器自身所处整体环境温度较高时,尤其是安装在户外时,无法正常工作的情况时有发生。
技术实现思路
1、本发明提供了一种电力逆变器的安装柜,以达到对多个电力逆变器进行安装及散热的目的。
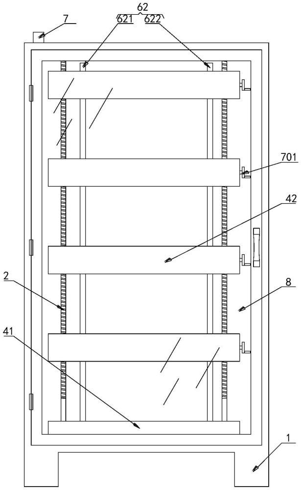
2、为了实现上述目的,本发明提供了一种安装柜,包括:柜体;设置在所述柜体内腔左右两侧的支撑组件;与两所述支撑组件螺纹连接的传动组件;通过所述传动组件安装于所述支撑组件上的安装组件,所述电力逆变器放置于所述安装组件的上方;设置在所述安装组件上用于给所述电力逆变器散热的第一散热组件。
3、更进一步地,所述安装组件包括底板和多个活动板,所述底板位于所述柜体内腔的底部,多个所述活动板位于所述底板的上方。
4、更进一步地,所述支撑组件的两端分别与所述柜体内腔的顶部和底部连接,两所述支撑组件对称设置于所述柜体的内腔,所述支撑组件上设置有螺纹。
5、更进一步地,所述传动组件包括:与所述支撑组件螺纹连接的内螺纹筒;设置于所述内螺纹筒外部的蜗轮;横向贯穿设置于所述活动板内部的摇杆,所述摇杆的一侧端部设置有把手;设置于所述摇杆两端的外侧并与所述蜗轮啮合的蜗杆套筒。
6、更进一步地,所述第一散热组件包括铝制接触板和蛇形散热管,所述铝制接触板嵌设于所述活动板的上、下两端和所述底板的上端,所述蛇形散热管设置于所述铝制接触板与所述安装组件之间,所述蛇形散热管延伸至所述安装组件的后端。
7、更进一步地,所述安装柜还包括第二散热组件,所述第二散热组件包括循环部和连接部,所述循环部设置于所述柜体的后端,所述循环部与所述蛇形散热管通过所述连接部进行连接。
8、更进一步地,所述连接部包括进水管、软管和出水管,所述软管一端与所述蛇形散热管连接,所述软管的另一端与所述进水管或所述出水管连接。
9、更进一步地,所述循环部包括储水腔、循环泵和风扇散热水箱;
10、所述出水管与所述风扇散热水箱的进水端连通,所述风扇散热水箱的出水端与所述储水腔的入水端连通,所述储水腔的出水端与所述循环泵的输入端连通,所述循环泵的输出端与所述进水管连通。
11、更进一步地,所述安装柜还包括进线管,所述进线管设置于所述柜体的顶端。
12、更进一步地,所述安装柜还包括柜门,所述柜门为低辐射玻璃。
13、本发明实施例一种电力逆变器的安装柜与现有技术相比,其有益效果在于:通过设置安装柜以及在安装柜内设置多个活动板及底板,实现同时安装多个电力逆变器的功能,通过在安装柜内设置支撑组件与传动组件,根据需求调整传动组件,进而实现活动板及底板进行上下移动,同时通过在与电力逆变器接触的活动板和底板上设置有蛇形散热管,可以进一步为电力逆变器散热,且用户可根据电力逆变器的使用情况及其散热需求,调整活动板的高度以实现散热需求的不同;蛇形散热管还与循环泵、风扇散热水箱、储水腔连接,对蛇形散热管内的液体可以起到循环流动并散热的功能,更好地对电力逆变器散热。
技术特征:
1.一种电力逆变器的安装柜,其特征在于,所述安装柜包括:
2.根据权利要求1所述的安装柜,其特征在于,所述安装组件包括底板和多个活动板,所述底板位于所述柜体内腔的底部,多个所述活动板位于所述底板的上方。
3.根据权利要求2所述的安装柜,其特征在于,所述支撑组件的两端分别与所述柜体内腔的顶部和底部连接,两所述支撑组件对称设置于所述柜体的内腔,所述支撑组件上设置有螺纹。
4.根据权利要求3所述的安装柜,其特征在于,所述传动组件包括:
5.根据权利要求2所述的安装柜,其特征在于,所述第一散热组件包括铝制接触板和蛇形散热管,所述铝制接触板嵌设于所述活动板的上、下两端和所述底板的上端,所述蛇形散热管设置于所述铝制接触板与所述安装组件之间,所述蛇形散热管延伸至所述安装组件的后端。
6.根据权利要求5所述的安装柜,其特征在于,所述安装柜还包括第二散热组件,所述第二散热组件包括循环部和连接部,所述循环部设置于所述柜体的后端,所述循环部与所述蛇形散热管通过所述连接部进行连接。
7.根据权利要求6所述的安装柜,其特征在于,所述连接部包括进水管、软管和出水管,所述软管一端与所述蛇形散热管连接,所述软管的另一端与所述进水管或所述出水管连接。
8.根据权利要求7所述的安装柜,其特征在于,所述循环部包括储水腔、循环泵和风扇散热水箱;
9.根据权利要求1所述的安装柜,其特征在于,所述安装柜还包括进线管,所述进线管设置于所述柜体的顶端。
10.根据权利要求1所述的安装柜,其特征在于,所述安装柜还包括柜门,所述柜门为低辐射玻璃。
技术总结
本发明涉及电力逆变器的安装技术领域,公开了一种电力逆变器的安装柜,包括:柜体;设置在所述柜体内腔左右两侧的支撑组件;与两所述支撑组件螺纹连接的传动组件;通过所述传动组件安装于所述支撑组件上的安装组件,所述电力逆变器放置于所述安装组件的上方;设置在所述安装组件上用于给所述电力逆变器散热的第一散热组件。本发明的安装柜可同时安装多个电力逆变器,放置电力逆变器的活动板上设置有散热部,用户可根据电力逆变器的散热需求,进而调整活动板的高度。
技术研发人员:徐振翔,鲁璐瑶,徐海飞,胡军礼,蔡一婷,徐晨卉,张偲,方堃,王晓婷,吴英,朱世豪
受保护的技术使用者:国网浙江省电力有限公司淳安县供电公司
技术研发日:
技术公布日:2024/9/2
技术研发人员:徐振翔,鲁璐瑶,徐海飞,胡军礼,蔡一婷,徐晨卉,张偲,方堃,王晓婷,吴英,朱世豪
技术所有人:国网浙江省电力有限公司淳安县供电公司
备 注:该技术已申请专利,仅供学习研究,如用于商业用途,请联系技术所有人。
声 明 :此信息收集于网络,如果你是此专利的发明人不想本网站收录此信息请联系我们,我们会在第一时间删除
