一种带浮车的空铁列车的制作方法

本技术涉及轨道交通,具体而言,涉及一种带浮车的空铁列车。
背景技术:
1、空铁系统属于中低运量新制式轨道交通的一种,为发展低碳型轨道交通,现有的空铁系统常使用氢能源作为动力源,但由于空铁车辆设备安装空间有限,留给氢能设备的空间较小,将氢能设备直接装在空铁列车上会严重影响车辆,常将动力电池和氢能系统放到专用电池小车上,电池小车行驶在轨道梁内,虽解决了空间上的问题,但是由于电池小车结构受限,不能达到常规车体上的振动水平,导致氢能设备设备受到较大的振动冲击,严重影响部件的使用寿命。
技术实现思路
1、本实用新型所要解决的是氢能设备布置问题和氢能设备的振动冲击问题。
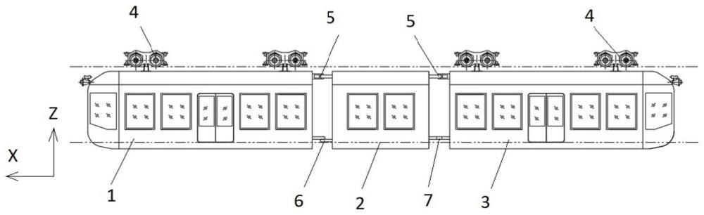
2、为此,本实用新型提供了一种带浮车的空铁列车,包括第一车、浮车、第二车、固定铰、旋转铰及自由铰,所述第一车、所述浮车及所述第二车依次设置,所述浮车用于装载氢能设备,两个所述固定铰分别连接在所述第一车的上端与所述浮车上端之间、以及所述浮车的上端与所述第二车的上端之间,所述旋转铰连接在所述第一车下端与所述浮车下端之间,所述自由铰连接在所述浮车下端与所述第二车下端之间。
3、可选地,所述固定铰包括第一球铰和铰接在所述第一球铰两端的两个第一铰接座。
4、可选地,多个所述第一铰接座远离所述第一球铰的一端分别与所述第一车、所述浮车、所述第二车螺栓连接。
5、可选地,所述旋转铰包括第二球铰、第二铰接座、第三铰接座及v形杆,所述第二铰接座的一端与所述第一车下端连接,另一端与所述第二球铰铰接,所述v形杆的尖端与所述第二球铰远离所述第二铰接座的一侧铰接,所述v形杆的两端分别连接在两个所述第三铰接座上,并用于相对所述第三铰接座在竖直面内转动,所述第三铰接座远离所述v形杆的一侧与所述浮车下端连接。
6、可选地,所述v形杆的两端均为环形,所述第三铰接座上设有连接杆,所述连接杆设置在水平面内,所述v形杆的端部套设在所述连接杆上,并与所述连接杆转动连接。
7、可选地,所述自由铰包括第四铰接座、第五铰接座及铰接杆,所述第四铰接座连接在所述浮车朝向所述第二车一端的左侧,所述第五铰接座连接在所述第二车朝向所述浮车一端的右侧,所述铰接杆的两端分别与所述第四铰接座、所述第五铰接座转动连接,并用于相对所述第四铰接座和所述第五铰接座在水平面内转动。
8、可选地,所述第四铰接座、所述第五铰接座与所述铰接杆连接的部分均由橡胶制成。
9、可选地,所述第一车与所述浮车之间的所述固定铰和所述浮车与所述第二车之间的所述固定铰位于同一水平面内。
10、可选地,所述旋转铰和所述自由铰位于同一水平面内。
11、可选地,带浮车的空铁列车还包括转向架,所述第一车和所述第二车的上端均设有所述转向架。
12、与现有技术相比,本实用新型的带浮车的空铁列车的有益效果是:
13、本实用新型通过在第一车的上端与浮车上端之间设置固定铰,固定铰可限制第一车相对浮车沿x轴、y轴、z轴移动的自由度,但不限制第一车相对浮车绕x轴、y轴、z轴转动的自由度,在第一车下端与浮车下端之间设置旋转铰,旋转铰可限制第一车相对浮车沿x轴、y轴移动的自由度,但不限制第一车相对浮车沿z轴移动的自由度,以及第一车相对浮车绕x轴、y轴、z轴转动的自由度,第一车和浮车之间沿z轴方向依次使用固定铰和旋转铰连接,可限制第一车相对浮车测滚,即绕x轴转动、限制第一车相对浮车点头,即绕y轴旋转,最终第一车相对浮车只能摇头,即绕z轴转动,在浮车上端与第二车上端之间也设置固定铰,可限制浮车相对第二车沿x轴、y轴、z轴移动的自由度,但不限制浮车相对第二车绕x轴、y轴、z轴转动的自由度,在浮车下端与第二车下端之间设置自由铰,自由铰可限制浮车相对第二车沿y轴方向移动,但不限制浮车相对第二车绕x轴、y轴、z轴转动的自由度,以及浮车相对第二车沿x轴、z轴方向移动的自由度,浮车和第二车之间沿z轴方向依次使用固定铰和自由铰连接,可限制第二车相对浮车测滚,即绕x轴转动,最终浮车相对第二车只能摇头和点头,即绕z轴方向转动以及绕y轴方向转动,由于空铁列车悬挂在轨道梁上,在第一车、浮车及第二车的上端设置固定铰连接,可承担第一车、浮车及第二车沿z轴方向的垂向力,在第一车、浮车及第二车之间传递沿x轴、y轴方向的力,将固定铰、自由铰及旋转铰配合使用,固定铰的连接机构稳定,可使第一车、浮车及第二车之间连接更稳定,在第一车下端与浮车下端之间使用旋转铰连接,在浮车与第二车下端使用自由铰连接,便于列车整体在行驶过程中左右转向以及上下过坡过坑,设置单独的浮车装载氢能设备,避免氢能设备占据列车空间,装有氢能设备的浮车只由旋转铰、自由铰及固定铰连接,不受其他外力,使浮车运行稳定,氢能设备受振动冲击小,避免氢能设备受振动影响使用寿命。
技术特征:
1.一种带浮车的空铁列车,其特征在于,包括第一车(1)、浮车(2)、第二车(3)、固定铰(5)、旋转铰(6)及自由铰(7),所述第一车(1)、所述浮车(2)及所述第二车(3)依次设置,所述浮车(2)用于装载氢能设备,两个所述固定铰(5)分别连接在所述第一车(1)的上端与所述浮车(2)上端之间、以及所述浮车(2)的上端与所述第二车(3)的上端之间,所述旋转铰(6)连接在所述第一车(1)下端与所述浮车(2)下端之间,所述自由铰(7)连接在所述浮车(2)下端与所述第二车(3)下端之间。
2.根据权利要求1所述的带浮车的空铁列车,其特征在于,所述固定铰(5)包括第一球铰(51)和铰接在所述第一球铰(51)两端的两个第一铰接座(52)。
3.根据权利要求2所述的带浮车的空铁列车,其特征在于,多个所述第一铰接座(52)远离所述第一球铰(51)的一端分别与所述第一车(1)、所述浮车(2)、所述第二车(3)螺栓连接。
4.根据权利要求1所述的带浮车的空铁列车,其特征在于,所述旋转铰(6)包括第二球铰(61)、第二铰接座(62)、第三铰接座(63)及v形杆(64),所述第二铰接座(62)的一端与所述第一车(1)下端连接,另一端与所述第二球铰(61)铰接,所述v形杆(64)的尖端与所述第二球铰(61)远离所述第二铰接座(62)的一侧铰接,所述v形杆(64)的两端分别连接在两个所述第三铰接座(63)上,并用于相对所述第三铰接座(63)在竖直面内转动,所述第三铰接座(63)远离所述v形杆(64)的一侧与所述浮车(2)下端连接。
5.根据权利要求4所述的带浮车的空铁列车,其特征在于,所述v形杆(64)的两端均为环形,所述第三铰接座(63)上设有连接杆,所述连接杆设置在水平面内,所述v形杆(64)的端部套设在所述连接杆上,并与所述连接杆转动连接。
6.根据权利要求1所述的带浮车的空铁列车,其特征在于,所述自由铰(7)包括第四铰接座(71)、第五铰接座(72)及铰接杆(73),所述第四铰接座(71)连接在所述浮车(2)朝向所述第二车(3)一端的左侧,所述第五铰接座(72)连接在所述第二车(3)朝向所述浮车(2)一端的右侧,所述铰接杆(73)的两端分别与所述第四铰接座(71)、所述第五铰接座(72)转动连接,并用于相对所述第四铰接座(71)和所述第五铰接座(72)在水平面内转动。
7.根据权利要求6所述的带浮车的空铁列车,其特征在于,所述第四铰接座(71)、所述第五铰接座(72)与所述铰接杆(73)连接的部分均由橡胶制成。
8.根据权利要求1所述的带浮车的空铁列车,其特征在于,所述第一车(1)与所述浮车(2)之间的所述固定铰(5)和所述浮车(2)与所述第二车(3)之间的所述固定铰(5)位于同一水平面内。
9.根据权利要求1所述的带浮车的空铁列车,其特征在于,所述旋转铰(6)和所述自由铰(7)位于同一水平面内。
10.根据权利要求1所述的带浮车的空铁列车,其特征在于,还包括转向架(4),所述第一车(1)和所述第二车(3)的上端均设有所述转向架(4)。
技术总结
本技术提供了一种带浮车的空铁列车,涉及轨道交通技术领域,带浮车的空铁列车包括第一车、浮车、第二车、固定铰、旋转铰及自由铰,所述第一车、所述浮车及所述第二车依次设置,所述浮车用于装载氢能设备,两个所述固定铰分别连接在所述第一车的上端与所述浮车上端之间、以及所述浮车与所述第二车之间,所述旋转铰连接在所述第一车下端与所述浮车下端之间,所述自由铰连接在所述浮车下端与所述第二车下端之间。本技术采用浮车方案能够有效解决车辆设备布置困难的问题和氢能设备冲击和振动问题,通过设置固定铰、旋转铰及自由铰,能够有效减少车辆制造成本,同时具有结构合理,稳定性好,安全可靠的特点。
技术研发人员:谢波,张水清,何斌斌
受保护的技术使用者:广东京兰空铁发展有限公司
技术研发日:20240301
技术公布日:2024/9/2
技术研发人员:谢波,张水清,何斌斌
技术所有人:广东京兰空铁发展有限公司
备 注:该技术已申请专利,仅供学习研究,如用于商业用途,请联系技术所有人。
声 明 :此信息收集于网络,如果你是此专利的发明人不想本网站收录此信息请联系我们,我们会在第一时间删除
