一种后坐力发生装置的制作方法

本技术涉及后坐力发生设备领域,尤其涉及一种后坐力发生装置。
背景技术:
1、枪械发射时子弹壳同样受到火药气体的压力,从而推动枪机后坐,后坐的枪机撞击和枪托相连的机框,从而产生后坐力,因此理论上口径越大,撞击越猛,后坐越强。
2、现有的中国专利cn208736247u,在2019年4月12日公开了一种用于火箭筒仿真训练的后坐力发生装置,包括:固定座、电源模块和电磁模块;所述电源模块固定在所述固定座的一侧,所述电磁模块固定在所述固定座上与所述电源模块相对的另一侧,所述电源模块与所述电磁模块电性连接,所述电磁模块采用推拉式电磁铁,所述电磁模块包括:电磁部分和线圈部分,所述电磁模块通电后,所述电磁部分和所述线圈部分迅速吸附产生惯性力用于模拟后坐力。
3、但是,上述装置在进行后坐力模拟时,因在操作中没有很好的安全防护结构,这样在模拟使用时不是很安全的问题。
技术实现思路
1、本实用新型公开一种后坐力发生装置,旨在解决上述装置在进行后坐力模拟时,因在操作中没有很好的安全防护结构,这样在模拟使用时不是很安全的技术问题。
2、为了实现上述目的,本实用新型采用了如下技术方案:
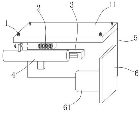
3、一种后坐力发生装置,包括模拟发射套筒,所述模拟发射套筒的上端安装设置有弹性缓冲器,所述弹性缓冲器的上端设置有金属顶板,所述模拟发射套筒的内端设置有后坐力发生器,所述后坐力发生器的内端设置有底部竖板,所述模拟发射套筒的后侧位于底部竖板上设置有包裹辅助板,所述后坐力发生器与外部控制器电性连接。
4、通过设置有金属顶板结构,这样底部竖板上端的金属顶板安装在指定位置上,从而模拟发射套筒经过弹性缓冲器和后坐力发生器可以悬空放置,在模拟发射时,人员握住模拟发射套筒进行操作,而后后坐力发生器可以带动模拟发射套筒向后移动,使得可以模拟后坐力,而模拟中,弹性缓冲器可以有效限位后坐力方向,当人员后移时,则可以被包裹辅助板阻挡作用,使得起到很好的防护作用。
5、在一个优选的方案中,所述弹性缓冲器包括焊接面板、缓冲弹簧、定位套杆、活动套板和防脱圆环,所述焊接面板的前端设置有定位套杆,所述定位套杆的周侧位于焊接面板上设置有缓冲弹簧,所述定位套杆的周侧设置有活动套板,所述定位套杆的前端设置有防脱圆环,所述活动套板连接在模拟发射套筒上,所述焊接面板连接在金属顶板上。
6、通过设置有弹性缓冲器结构,这样可以起到后坐力限位作用。
7、在一个优选的方案中,所述包裹辅助板包括外侧胶板、背部胶板和连接面板,所述连接面板的外端设置有背部胶板,所述背部胶板的外端设置有外侧胶板,所述连接面板连接在底部竖板上。
8、通过设置有包裹辅助板结构,这样人员后仰时,使得起到很好的阻挡防护作用。
9、在一个优选的方案中,所述后坐力发生器包括后坐力伸缩缸、中空套壳和活动拉扯块,所述中空套壳的外端内侧设置有后坐力伸缩缸,所述后坐力伸缩缸的活塞杆前端设置有活动拉扯块,所述活动拉扯块连接在模拟发射套筒上,所述中空套壳连接在底部竖板上。
10、通过设置有后坐力发生器结构,使得可以模拟后坐力。
11、在一个优选的方案中,所述金属顶板包括顶板外壳和组装螺钉,所述顶板外壳的四个拐角处上设置有组装螺钉。
12、通过设置有金属顶板结构,从而便于安装放置使用。
13、在一个优选的方案中,所述金属顶板和底部竖板通过焊接连接,且所述金属顶板和底部竖板的连接处外侧对齐。
14、通过设置有金属顶板结构,从而可以带动底部竖板进行放置使用。
15、在一个优选的方案中,所述底部竖板和包裹辅助板通过粘连连接,且所述底部竖板和包裹辅助板的外侧对齐。
16、通过设置有底部竖板结构,从而可以带动包裹辅助板进行稳定放置使用。
17、由上可知,一种后坐力发生装置,包括模拟发射套筒,所述模拟发射套筒的上端安装设置有弹性缓冲器,所述弹性缓冲器的上端设置有金属顶板,所述模拟发射套筒的内端设置有后坐力发生器,所述后坐力发生器的内端设置有底部竖板,所述模拟发射套筒的后侧位于底部竖板上设置有包裹辅助板,所述后坐力发生器与外部控制器电性连接。本实用新型提供的后坐力发生装置具有起到后坐力限位方向,并且有效保护人员的技术效果。
技术特征:
1.一种后坐力发生装置,包括模拟发射套筒(4),其特征在于,所述模拟发射套筒(4)的上端安装设置有弹性缓冲器(2),所述弹性缓冲器(2)的上端设置有金属顶板(1),所述模拟发射套筒(4)的内端设置有后坐力发生器(3),所述后坐力发生器(3)的内端设置有底部竖板(5),所述模拟发射套筒(4)的后侧位于底部竖板(5)上设置有包裹辅助板(6),所述后坐力发生器(3)与外部控制器电性连接。
2.根据权利要求1所述的一种后坐力发生装置,其特征在于,所述弹性缓冲器(2)包括焊接面板(21)、缓冲弹簧(22)、定位套杆(23)、活动套板(24)和防脱圆环(25),所述焊接面板(21)的前端设置有定位套杆(23),所述定位套杆(23)的周侧位于焊接面板(21)上设置有缓冲弹簧(22),所述定位套杆(23)的周侧设置有活动套板(24),所述定位套杆(23)的前端设置有防脱圆环(25),所述活动套板(24)连接在模拟发射套筒(4)上,所述焊接面板(21)连接在金属顶板(1)上。
3.根据权利要求1所述的一种后坐力发生装置,其特征在于,所述包裹辅助板(6)包括外侧胶板(61)、背部胶板(62)和连接面板(63),所述连接面板(63)的外端设置有背部胶板(62),所述背部胶板(62)的外端设置有外侧胶板(61),所述连接面板(63)连接在底部竖板(5)上。
4.根据权利要求1所述的一种后坐力发生装置,其特征在于,所述后坐力发生器(3)包括后坐力伸缩缸(31)、中空套壳(32)和活动拉扯块(33),所述中空套壳(32)的外端内侧设置有后坐力伸缩缸(31),所述后坐力伸缩缸(31)的活塞杆前端设置有活动拉扯块(33),所述活动拉扯块(33)连接在模拟发射套筒(4)上,所述中空套壳(32)连接在底部竖板(5)上。
5.根据权利要求1所述的一种后坐力发生装置,其特征在于,所述金属顶板(1)包括顶板外壳(11)和组装螺钉(12),所述顶板外壳(11)的四个拐角处上设置有组装螺钉(12)。
6.根据权利要求1所述的一种后坐力发生装置,其特征在于,所述金属顶板(1)和底部竖板(5)通过焊接连接,且所述金属顶板(1)和底部竖板(5)的连接处外侧对齐。
7.根据权利要求1所述的一种后坐力发生装置,其特征在于,所述底部竖板(5)和包裹辅助板(6)通过粘连连接,且所述底部竖板(5)和包裹辅助板(6)的外侧对齐。
技术总结
本技术公开了一种后坐力发生装置,包括模拟发射套筒,所述模拟发射套筒的上端安装设置有弹性缓冲器,所述弹性缓冲器的上端设置有金属顶板,所述模拟发射套筒的内端设置有后坐力发生器,所述后坐力发生器的内端设置有底部竖板,所述模拟发射套筒的后侧位于底部竖板上设置有包裹辅助板,所述后坐力发生器与外部控制器电性连接。本技术公开的后坐力发生装置具有起到后坐力限位方向,并且有效保护人员的技术效果。
技术研发人员:张弘,张亚娟
受保护的技术使用者:北京秣马科技有限公司
技术研发日:20231212
技术公布日:2024/6/20
技术研发人员:张弘,张亚娟
技术所有人:北京秣马科技有限公司
备 注:该技术已申请专利,仅供学习研究,如用于商业用途,请联系技术所有人。
声 明 :此信息收集于网络,如果你是此专利的发明人不想本网站收录此信息请联系我们,我们会在第一时间删除
