一种闸瓦间隙手动调整机构的制作方法

本技术涉及铁路配件,具体涉及一种闸瓦间隙手动调整机构。
背景技术:
1、铁道车辆中常用的闸瓦间隙调整器是一种用于调整制动器(通常用于列车车轮上的制动器)闸瓦间隙的机构。以在两个方向上调整闸瓦间隙,即增大或减小间隙。这样可以根据需要灵活地调整闸瓦的紧密程度,以确保制动系统的正常运行和安全性能。
2、授权公告号为cn201737004u的中国专利文件公开了一种闸瓦间隙调整机构,解决了现有铁路作业车制动装置不可靠、闸瓦间隙调整比较困难的问题。闸瓦间隙调整机构,包括焊接在固定闸瓦吊座上的调整片,调整片下端穿设调整螺柱,调整螺柱通过垫片、弹簧垫圈以及螺母固定。针对上述技术方案,在使用中存在如下缺陷:现有技术仅通过螺栓抵触闸瓦来调整闸瓦与车轮的间隙,在列车行驶过程中会产生剧烈振动,螺栓容易发生松动,进而使得间隙自动发生变化,将会影响列车制动效果。为此提出一种闸瓦间隙手动调整机构。
技术实现思路
1、本实用新型的目的在于:为解决上述背景技术中提到的问题,本实用新型提供了一种闸瓦间隙手动调整机构。
2、本实用新型为了实现上述目的具体采用以下技术方案:
3、一种闸瓦间隙手动调整机构,包括托板,所述托板的右侧设置有闸瓦本体,所述托板的中部设置有用于控制闸瓦本体移动的横向调节组件,所述托板的左侧面设置有用于控制横向调节组件运行的手动控制组件,所述托板的左侧面还设置有用于对横向调节组件进行限位的防松动组件,所述防松动组件的中部设置有弹性压合组件。
4、进一步地,所述横向调节组件包括第一丝杆,且第一丝杆与托板的左侧面转动连接,所述第一丝杆的表面螺纹连接有u形插杆,且u形插杆与托板活动插接,所述u形插杆的右端与闸瓦本体固定连接。
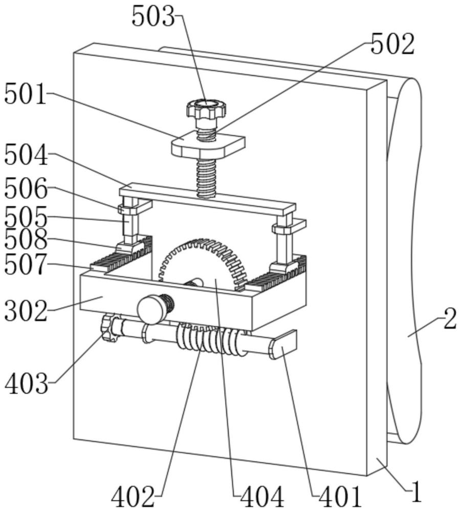
5、进一步地,所述手动控制组件包括固定架,且固定架与托板的左侧面固定连接,所述固定架的表面转动连接有蜗杆,所述蜗杆的后端固定连接有第一旋钮,所述第一丝杆的表面固定套接有蜗轮,且蜗轮与蜗杆啮合。
6、进一步地,所述防松动组件包括支撑板,且支撑板与托板的左侧面固定连接,所述支撑板的表面螺纹连接有第二丝杆,所述第二丝杆的顶面固定连接有第三旋钮,所述第二丝杆的底部转动连接有安装板,所述安装板的底面固定连接有套杆,所述套杆的下方设置有定位块,所述u形插杆的顶面固定连接有凸齿,且定位块与凸齿活动插接。
7、进一步地,所述托板的左侧面固定连接有限位板,且限位板与套杆活动插接。
8、进一步地,所述弹性压合组件包括安装腔,且安装腔开设在套杆的底端,所述安装腔的内壁顶部固定连接有弹簧,所述弹簧的自由端固定连接有连接柱,且连接柱表面与安装腔内壁滑动连接,且连接柱的底端与定位块固定连接。
9、进一步地,所述定位块和凸齿的数量均为两组,且两组定位块和凸齿前后对称设置。
10、本实用新型的有益效果如下:
11、托板与车辆制动系统的驱动部分连接,使得驱动系统能够控制托板和闸瓦本体移动,利用闸瓦本体触压车轮表面,实现制动作用,通过手动控制组件可控制横向调节组件运行,通过横向调节组件可控制闸瓦本体横向移动,从而调整闸瓦本体和车轮的间隙,调整后通过防松动组件可对横向调节组件进行限位,使得横向调节组件无法发生松动,通过弹性压合组件可使得防松动组件始终保持对横向调节组件的限位作用,在使用中实现了便于对闸瓦间隙进行自由调整的效果,调整完成后能够对间隙进行锁定,避免了列车行驶过程中发生的振动引发结构松动的情况,从而保证了闸瓦的稳定性。
技术特征:
1.一种闸瓦间隙手动调整机构,其特征在于,包括托板(1),所述托板(1)的右侧设置有闸瓦本体(2),所述托板(1)的中部设置有用于控制闸瓦本体(2)移动的横向调节组件(3),所述托板(1)的左侧面设置有用于控制横向调节组件(3)运行的手动控制组件(4),所述托板(1)的左侧面还设置有用于对横向调节组件(3)进行限位的防松动组件(5),所述防松动组件(5)的中部设置有弹性压合组件(6)。
2.根据权利要求1所述的一种闸瓦间隙手动调整机构,其特征在于,所述横向调节组件(3)包括第一丝杆(301),且第一丝杆(301)与托板(1)的左侧面转动连接,所述第一丝杆(301)的表面螺纹连接有u形插杆(302),且u形插杆(302)与托板(1)活动插接,所述u形插杆(302)的右端与闸瓦本体(2)固定连接。
3.根据权利要求2所述的一种闸瓦间隙手动调整机构,其特征在于,所述手动控制组件(4)包括固定架(401),且固定架(401)与托板(1)的左侧面固定连接,所述固定架(401)的表面转动连接有蜗杆(402),所述蜗杆(402)的后端固定连接有第一旋钮(403),所述第一丝杆(301)的表面固定套接有蜗轮(404),且蜗轮(404)与蜗杆(402)啮合。
4.根据权利要求2所述的一种闸瓦间隙手动调整机构,其特征在于,所述防松动组件(5)包括支撑板(501),且支撑板(501)与托板(1)的左侧面固定连接,所述支撑板(501)的表面螺纹连接有第二丝杆(502),所述第二丝杆(502)的顶面固定连接有第三旋钮(503),所述第二丝杆(502)的底部转动连接有安装板(504),所述安装板(504)的底面固定连接有套杆(505),所述套杆(505)的下方设置有定位块(508),所述u形插杆(302)的顶面固定连接有凸齿(507),且定位块(508)与凸齿(507)活动插接。
5.根据权利要求3所述的一种闸瓦间隙手动调整机构,其特征在于,所述托板(1)的左侧面固定连接有限位板(506),且限位板(506)与套杆(505)活动插接。
6.根据权利要求3所述的一种闸瓦间隙手动调整机构,其特征在于,所述弹性压合组件(6)包括安装腔(601),且安装腔(601)开设在套杆(505)的底端,所述安装腔(601)的内壁顶部固定连接有弹簧(602),所述弹簧(602)的自由端固定连接有连接柱(603),且连接柱(603)表面与安装腔(601)内壁滑动连接,且连接柱(603)的底端与定位块(508)固定连接。
7.根据权利要求4所述的一种闸瓦间隙手动调整机构,其特征在于,所述定位块(508)和凸齿(507)的数量均为两组,且两组定位块(508)和凸齿(507)前后对称设置。
技术总结
本技术公开了一种闸瓦间隙手动调整机构,涉及铁路配件技术领域。本技术包括托板,所述托板的右侧设置有闸瓦本体,所述托板的中部设置有用于控制闸瓦本体移动的横向调节组件,所述托板的左侧面设置有用于控制横向调节组件运行的手动控制组件,所述托板的左侧面还设置有用于对横向调节组件进行限位的防松动组件,所述防松动组件的中部设置有弹性压合组件,所述横向调节组件包括第一丝杆,且第一丝杆与托板的左侧面转动连接,在使用中实现了便于对闸瓦间隙进行自由调整的效果,调整完成后能够对间隙进行锁定,避免了列车行驶过程中发生的振动引发结构松动的情况,从而保证了闸瓦的稳定性。
技术研发人员:周菊梅,钱锦国,张忆明
受保护的技术使用者:东台市佳茂隆机械制造有限公司
技术研发日:20240115
技术公布日:2024/9/2
技术研发人员:周菊梅,钱锦国,张忆明
技术所有人:东台市佳茂隆机械制造有限公司
备 注:该技术已申请专利,仅供学习研究,如用于商业用途,请联系技术所有人。
声 明 :此信息收集于网络,如果你是此专利的发明人不想本网站收录此信息请联系我们,我们会在第一时间删除
