一种柔性组件弯折聚光装置的制作方法

本发明属于光伏组件,具体为一种柔性组件弯折聚光装置。
背景技术:
1、柔性电路是一种将电子元件安装在柔性基板上组成的特殊电路,基板通常为如聚酰亚胺塑料、聚醚醚酮或透明导电涤纶等高分子材料;它的特点包括重量轻、厚度薄、柔软可弯曲;柔性聚光光伏板是一种能够弯曲的薄膜太阳能电池板,相较于传统的刚性太阳能电池板,它可以更好地适应曲面表面,比如在屋顶、墙面、车顶等不规则表面使用;柔性光伏板使用的主要材料为高分子材料,如聚酯、聚氨酯等;将其柔性电路和柔性聚光光伏板相结合可以使光伏板进行弯折,并且在弯折的同时可以保证其正常运转;而现有柔性聚光光伏组件不能有效的调节光伏板的弯曲度,导致光线不能更好地聚集于光伏板上,并且不能对光伏板的表面进行清理,导致灰尘附着于光伏板表面,从而降低了电能的输出效率。
技术实现思路
1、针对上述情况,为克服现有技术的缺陷,本发明提供一种柔性组件弯折聚光装置,有效的解决了上述背景技术中现有柔性聚光光伏组件不能有效的调节光伏板的弯曲度,并且不能对光伏板进行清理,从而降低了电能输出效率的问题。
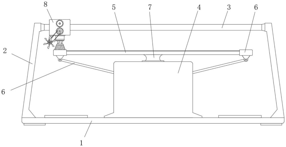
2、为实现上述目的,本发明提供如下技术方案:一种柔性组件弯折聚光装置,包括底板,所述底板顶部的两侧均固定安装有支撑杆,两个支撑杆互相靠近一侧的上部之间固定安装有轨道,底板顶部的中部固定安装有设备箱,设备箱的上部设有柔性聚光光伏板,柔性聚光光伏板的两端均固定安装有连接框,柔性聚光光伏板底部的中部固定安装有连接头,设备箱的内部设有弯曲调节机构,轨道的表面设有移动框,移动框的一侧固定安装有安装盒,安装盒和移动框的内部之间设有清扫吹散机构。
3、优选的,所述弯曲调节机构包括第一电机,第一电机固定安装在设备箱内部底部的中部,第一电机的输出端固定安装有螺纹杆,螺纹杆的顶部转动安装有第一轴座,第一轴座的顶部固定安装有安装条,安装条的两端均与设备箱的前后两侧内壁固定连接。
4、优选的,所述螺纹杆的表面螺纹连接有螺纹套筒,螺纹套筒的前后两侧均通过固定杆固定安装有滑套,滑套的内部均插接有滑杆,两个滑杆的底部均与设备箱内部的底部固定连接,螺纹套筒两侧的上部均转动安装有传动架,两个传动架互相远离的一端均与两个连接框的下侧转动连接。
5、优选的,所述螺纹套筒左右两侧的下部均固定安装有第一连接杆,两个第一连接杆互相远离的一端均固定安装有第一齿条,两个第一齿条互相远离的一侧均啮合连接有第一齿轮,两个第一齿轮均通过转轴与设备箱的内壁转动连接。
6、优选的,所述第一齿轮远离第一齿条的一侧均啮合连接有第二齿条,两个第二齿条互相远离的一侧均固定安装有第二连接杆,两个第二连接杆互相远离的一端均固定安装有第一滑块,设备箱的左右两侧内壁均开设有第一滑槽,两个第一滑块安装在两个第一滑槽的内部,两个第二齿条的顶部均固定安装有第三连接杆,两个第三连接杆的顶部固定安装在连接头底部的两侧。
7、优选的,所述清扫吹散组件包括第二电机和两个第二轴套、连接架以及第二轴座,第二电机固定安装在安装盒内部的底部,第二电机的输出端固定安装有第一轴杆,两个第二轴套固定安装在移动框两侧的上部,第二轴座固定安装在移动框的一侧内壁上,连接架固定安装在移动框底部的一侧,第一轴杆的表面转动安装有第一轴套,第一轴套固定安装在安装盒的顶部,第一轴杆的顶部固定安装有第一锥齿轮,移动框两侧内壁的中部均固定安装有固定块,两个固定块互相靠近的一侧均固定安装有第二滑块,轨道的两侧均开设有第二滑槽,两个第二滑块安装在两个第二滑槽的内部。
8、优选的,两个所述第二轴套的内部之间转动安装有第二轴杆,第二轴杆的一端固定安装有第二锥齿轮,第二锥齿轮与第一锥齿轮啮合连接,第二轴杆的另一端固定安装有第二齿轮,第二轴杆表面的中部固定安装有第一驱动轮。
9、优选的,所述第二轴座的一端转动安装有第二驱动轮,第二驱动轮的一端固定安装有第三轴杆,第三轴杆的表面转动安装有第三轴套,第三轴套固定安装在移动框一侧的下部,第三轴杆远离第二驱动轮的一端固定安装有第三齿轮,第三齿轮和第二齿轮啮合连接,第三齿轮的一侧固定安装有第一链轮。
10、优选的,所述连接架下部的一侧通过转轴转动安装有第二链轮,第二链轮和第一链轮之间啮合连接有链条,第二链轮的一侧固定安装有吹风扇,移动框底部的中部固定安装有l形条,l形条的底部固定安装有清理刷。
11、与现有技术相比,本发明的有益效果是:
12、(1)、在工作中,操作人员通过控制弯曲调节机构,可以使便捷有效的调节光伏板的弯曲度和弯曲方向,使得光伏板能够更好地聚集光线,从而提高了光线的汇聚效果;
13、(2)、当柔性聚光光伏板的表面附着较多灰尘时,操作人员启动清扫吹散机构对灰尘进行移动清扫,在将灰尘进行清扫的同时,可以将清扫残留下来的散灰吹走,从而可以便捷有效的对柔性聚光光伏板的表面进行清理;
14、(3)、使得本柔性聚光光伏组件能够根据需求调节光伏板的弯曲度,致使光线能够更好地聚集于光伏板上,并且能够快速便捷的对光伏板进行清理,避免灰尘附着于光伏板表面,从而提高了电能的输出效率。
技术特征:
1.一种柔性组件弯折聚光装置,包括底板(1),其特征在于:所述底板(1)顶部的两侧均固定安装有支撑杆(2),两个支撑杆(2)互相靠近一侧的上部之间固定安装有轨道(3),底板(1)顶部的中部固定安装有设备箱(4),设备箱(4)的上部设有柔性聚光光伏板(5),柔性聚光光伏板(5)的两端均固定安装有连接框(6),柔性聚光光伏板(5)底部的中部固定安装有连接头(7),设备箱(4)的内部设有弯曲调节机构,轨道(3)的表面设有移动框(8),移动框(8)的一侧固定安装有安装盒(9),安装盒(9)和移动框(8)的内部之间设有清扫吹散机构。
2.根据权利要求1所述的一种柔性组件弯折聚光装置,其特征在于:所述弯曲调节机构包括第一电机(10),第一电机(10)固定安装在设备箱(4)内部底部的中部,第一电机(10)的输出端固定安装有螺纹杆(11),螺纹杆(11)的顶部转动安装有第一轴座(12),第一轴座(12)的顶部固定安装有安装条(13),安装条(13)的两端均与设备箱(4)的前后两侧内壁固定连接。
3.根据权利要求2所述的一种柔性组件弯折聚光装置,其特征在于:所述螺纹杆(11)的表面螺纹连接有螺纹套筒(16),螺纹套筒(16)的前后两侧均通过固定杆固定安装有滑套(14),滑套(14)的内部均插接有滑杆(15),两个滑杆(15)的底部均与设备箱(4)内部的底部固定连接,螺纹套筒(16)两侧的上部均转动安装有传动架(17),两个传动架(17)互相远离的一端均与两个连接框(6)的下侧转动连接。
4.根据权利要求3所述的一种柔性组件弯折聚光装置,其特征在于:所述螺纹套筒(16)左右两侧的下部均固定安装有第一连接杆(18),两个第一连接杆(18)互相远离的一端均固定安装有第一齿条(19),两个第一齿条(19)互相远离的一侧均啮合连接有第一齿轮(20),两个第一齿轮(20)均通过转轴与设备箱(4)的内壁转动连接。
5.根据权利要求4所述的一种柔性组件弯折聚光装置,其特征在于:所述第一齿轮(20)远离第一齿条(19)的一侧均啮合连接有第二齿条(21),两个第二齿条(21)互相远离的一侧均固定安装有第二连接杆(22),两个第二连接杆(22)互相远离的一端均固定安装有第一滑块(23),设备箱(4)的左右两侧内壁均开设有第一滑槽(24),两个第一滑块(23)安装在两个第一滑槽(24)的内部,两个第二齿条(21)的顶部均固定安装有第三连接杆(25),两个第三连接杆(25)的顶部固定安装在连接头(7)底部的两侧。
6.根据权利要求1所述的一种柔性组件弯折聚光装置,其特征在于:所述清扫吹散组件包括第二电机(27)和两个第二轴套(33)、连接架(44)以及第二轴座(39),第二电机(27)固定安装在安装盒(9)内部的底部,第二电机(27)的输出端固定安装有第一轴杆(28),两个第二轴套(33)固定安装在移动框(8)两侧的上部,第二轴座(39)固定安装在移动框(8)的一侧内壁上,连接架(44)固定安装在移动框(8)底部的一侧,第一轴杆(28)的表面转动安装有第一轴套(29),第一轴套(29)固定安装在安装盒(9)的顶部,第一轴杆(28)的顶部固定安装有第一锥齿轮(30),移动框(8)两侧内壁的中部均固定安装有固定块(40),两个固定块(40)互相靠近的一侧均固定安装有第二滑块(41),轨道(3)的两侧均开设有第二滑槽(42),两个第二滑块(41)安装在两个第二滑槽(42)的内部。
7.根据权利要求6所述的一种柔性组件弯折聚光装置,其特征在于:两个所述第二轴套(33)的内部之间转动安装有第二轴杆(32),第二轴杆(32)的一端固定安装有第二锥齿轮(31),第二锥齿轮(31)与第一锥齿轮(30)啮合连接,第二轴杆(32)的另一端固定安装有第二齿轮(35),第二轴杆(32)表面的中部固定安装有第一驱动轮(34)。
8.根据权利要求7所述的一种柔性组件弯折聚光装置,其特征在于:所述第二轴座(39)的一端转动安装有第二驱动轮(26),第二驱动轮(26)的一端固定安装有第三轴杆(37),第三轴杆(37)的表面转动安装有第三轴套(38),第三轴套(38)固定安装在移动框(8)一侧的下部,第三轴杆(37)远离第二驱动轮(26)的一端固定安装有第三齿轮(36),第三齿轮(36)和第二齿轮(35)啮合连接,第三齿轮(36)的一侧固定安装有第一链轮(43)。
9.根据权利要求8所述的一种柔性组件弯折聚光装置,其特征在于:所述连接架(44)下部的一侧通过转轴转动安装有第二链轮(45),第二链轮(45)和第一链轮(43)之间啮合连接有链条(47),第二链轮(45)的一侧固定安装有吹风扇(46),移动框(8)底部的中部固定安装有l形条(48),l形条(48)的底部固定安装有清理刷(49)。
技术总结
本发明涉及光伏组件技术领域,且公开了一种柔性组件弯折聚光装置,解决了现有柔性聚光光伏组件不能有效的调节光伏板的弯曲度,并且不能对光伏板进行清理,从而降低了电能输出效率的问题,其包括底板,所述底板顶部的两侧均固定安装有支撑杆,两个支撑杆互相靠近一侧的上部之间固定安装有轨道,底板顶部的中部固定安装有设备箱,设备箱的上部设有柔性聚光光伏板,柔性聚光光伏板的两端均固定安装有连接框,柔性聚光光伏板底部的中部固定安装有连接头,设备箱的内部设有弯曲调节机构;本柔性聚光光伏组件能够有效的调节光伏板的弯曲度,并且能够对光伏板进行清理,避免灰尘附着于表面,从而提高了电能的输出效率。
技术研发人员:周旭,韩成宇,白玲玲,谢文静,史振侠,张中建
受保护的技术使用者:中节能太阳能科技(镇江)有限公司
技术研发日:
技术公布日:2024/9/2
技术研发人员:周旭,韩成宇,白玲玲,谢文静,史振侠,张中建
技术所有人:中节能太阳能科技(镇江)有限公司
备 注:该技术已申请专利,仅供学习研究,如用于商业用途,请联系技术所有人。
声 明 :此信息收集于网络,如果你是此专利的发明人不想本网站收录此信息请联系我们,我们会在第一时间删除
