一种乏燃料运输容器用吊篮的制作方法

本发明涉及乏燃料运输安全设备领域,具体涉及一种乏燃料运输容器用吊篮。
背景技术:
1、乏燃料是经受过辐射照射的核燃料,由核反应堆产生。因经过裂变反应产生具有强放射性的核素,乏燃料的辐射水平极高,且有放射性物质泄露的风险,其运输也需要通过特殊的运输容器。
2、乏燃料在运输容器内需要使用吊篮进行固定和支撑,此外,由于乏燃料组件本身具备一定的发热功率,吊篮作为直接接触乏燃料的部件,需具备导出热量的作用。作为易裂变材料,乏燃料在运输过程中临界风险较高,因此在控制装载量的同时应设计中子吸收材料。
技术实现思路
1、针对现有技术中所存在的问题,本发明的目的在于提供一种乏燃料运输容器用吊篮,放置于乏燃料运输容器内腔,用于盛装乏燃料组件。该吊篮具有固定、散热、屏蔽等功能,可以保证运输过程中货包的临界安全。
2、为了实现上述发明目的,本发明的技术方案如下:
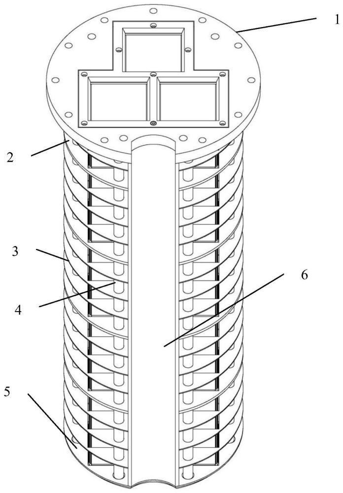
3、一种乏燃料运输容器用吊篮,包括框架、方管和压紧法兰,框架包括顶板、底板、支撑杆、支撑盘和散热片,在顶板设有若干个方形开口,沿轴向向下在框架内部设有对应的方形腔体,方管由方形开口向下插入方形腔体,通过压紧法兰在方形开口处固定。
4、进一步,方管的管壁为不锈钢-含硼不锈钢-不锈钢的夹层结构。
5、进一步,方管的内层为连续结构,中间层和外层为分段结构,在分段处设置腰线筋板。
6、进一步,方管的管口处设有方形法兰。
7、进一步,框架一侧沿轴向开设有用于吊篮框架安装导向和定位的导向凹槽,并设计有半管。
8、进一步,支撑杆有多个,每个支撑杆的两端分别与所述顶板和底板固定连接,若干个所述支撑盘相互平行设置在所述顶板和底板之间。
9、进一步,支撑杆贯穿所述支撑盘,支撑杆与支撑盘焊接,对框架结构起到支撑作用。
10、进一步,顶板上设有若干个螺栓孔,用于吊篮在容器内的固定。
11、进一步,散热片沿轴向均匀布置在框架上。
12、本发明的有益效果如下:
13、1、通过多个方管的独立设置,保证了乏燃料在运输过程中的临界安全;
14、2、方管采用夹层结构,保证了对乏燃料产生的放射性辐射的屏蔽作用和对中子的吸收作用,既降低了临界风险,又提高了结构强度;
15、3、散热片的设置,保证了乏燃料的衰变热有效导出容器。
技术特征:
1.一种乏燃料运输容器用吊篮,包括框架、方管和压紧法兰,其特征在于:所述框架包括顶板(1)、底板(5)、支撑杆(4)、支撑盘(2)和散热片(3),在顶板(1)设有若干个方形开口,沿轴向向下在框架内部设有对应的方形腔体,方管由方形开口向下插入方形腔体,通过压紧法兰在方形开口处固定。
2.如权利要求1所述的一种乏燃料运输容器用吊篮,其特征在于:所述方管的管壁为不锈钢-含硼不锈钢-不锈钢的夹层结构。
3.如权利要求2所述的一种乏燃料运输容器用吊篮,其特征在于:所述方管的内层为连续结构,中间层和外层为分段结构,在分段处设置腰线筋板(8)。
4.如权利要求3所述的一种乏燃料运输容器用吊篮,其特征在于:所述方管的管口处设有方形法兰(7)。
5.如权利要求1所述的一种乏燃料运输容器用吊篮,其特征在于:所述框架一侧沿轴向开设有用于吊篮框架安装导向和定位的导向凹槽(6),并设计有半管。
6.如权利要求1所述的一种乏燃料运输容器用吊篮,其特征在于:所述支撑杆(4)有多个,每个支撑杆(4)的两端分别与所述顶板(1)和底板(5)固定连接,若干个所述支撑盘(2)相互平行设置在所述顶板(1)和底板(5)之间。
7.如权利要求6所述的一种乏燃料运输容器用吊篮,其特征在于:所述支撑杆(4)贯穿所述支撑盘(2),支撑杆(4)与支撑盘(2)焊接,对框架结构起到支撑作用。
8.如权利要求1所述的一种乏燃料运输容器用吊篮,其特征在于:所述顶板(1)上设有若干个螺栓孔,用于吊篮在容器内的固定。
9.如权利要求8所述的一种乏燃料运输容器用吊篮,其特征在于:所述散热片(3)沿轴向均匀布置在框架上。
技术总结
本发明涉及乏燃料运输安全设备领域,具体涉及一种乏燃料运输容器用吊篮。包括外部框架、方管和压紧法兰,外部框架包括顶板、底板、支撑杆、支撑盘和散热片,在顶板设有若干个方形开口,沿轴向向下在外部框架内部设有对应的方形腔体,方管由方形开口向下插入方形腔体,通过压紧法兰在方形开口处固定。通过多个方管的独立设置,保证了乏燃料在运输过程中的临界安全;采用夹层结构,保证了对乏燃料产生的放射性辐射的屏蔽作用和对中子的吸收作用,既降低了临界风险,又提高了结构强度。
技术研发人员:孙树堂,李国强,孙洪超,庄大杰,郝嘉欣,张煜航,荣誉,王智鹏,王鹏毅,朱业明,连一仁
受保护的技术使用者:中国辐射防护研究院
技术研发日:
技术公布日:2024/9/2
技术研发人员:孙树堂,李国强,孙洪超,庄大杰,郝嘉欣,张煜航,荣誉,王智鹏,王鹏毅,朱业明,连一仁
技术所有人:中国辐射防护研究院
备 注:该技术已申请专利,仅供学习研究,如用于商业用途,请联系技术所有人。
声 明 :此信息收集于网络,如果你是此专利的发明人不想本网站收录此信息请联系我们,我们会在第一时间删除
