一种烟火的火药装填装置的制作方法

本技术涉及烟火生产,具体为一种烟火的火药装填装置。
背景技术:
1、烟火,又称花炮、烟花、焰火、炮仗,是以烟火药为原料,用于产生声光色的娱乐用品,庙会和庆典在举办活动时,为了提高整体的热闹氛围,人们常会施放烟火。
2、烟火虽能带动活动的热闹气氛,但需要注意的是烟火也是危险物品,尤其需特别注意的是火药的装填环节,基于安全性的考虑,常以人工的方式将火药逐一充填至烟火发射筒内。
3、小型烟火大多是将多个烟火发射筒束合一起,在火药装填时,需注意每一烟火发射筒皆要装填火药,且烟火发射筒在装填火药时火药间不能出现空隙,否则会导致生产的烟火质量不稳定,影响烟花产品的使用,因此,我们提出了一种烟火的火药装填装置来解决上述问题。
技术实现思路
1、针对现有技术的不足,本实用新型提供了一种烟火的火药装填装置,解决了背景技术中所提到的问题。
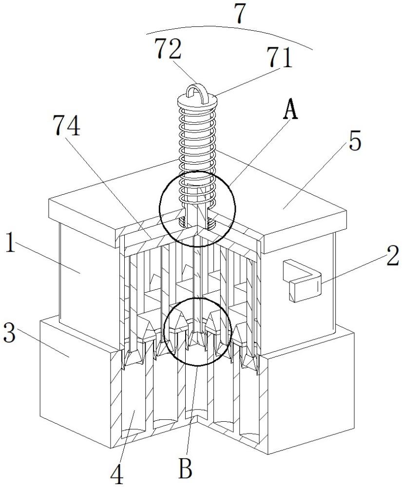
2、本实用新型解决其技术问题所采用的技术方案是:一种烟火的火药装填装置,包括装填箱,所述装填箱的两侧外壁固定连接有把手一,所述装填箱的下方设有烟火发射座,所述烟火发射座的内部设有若干个烟火发射筒,所述装填箱的顶部活动安装有盖板,所述盖板的上表面中心处开设有通孔,所述盖板的内部设置有按压结构,所述装填箱的内部设有若干个填料孔;
3、所述按压结构包括t型柱、把手二、抵制弹簧、活动板、压缩弹簧、连接杆、按压块和倾斜槽,所述t型柱的外壁活动连接在通孔的内部,所述t型柱的顶端固定安装有把手二,所述t型柱的外壁套接有抵制弹簧,所述t型柱的底端固定连接有活动板,所述活动板的上表面靠近t型柱的外壁套接有压缩弹簧,所述活动板的下表面固定安装有若干个连接杆,所述连接杆的底端固定连接有按压块,所述按压块的外壁开设有倾斜槽。
4、通过采用上述技术方案,活动板的外壁是活动连接在装填箱的内部,这样便于操作人员按压把手二,使把手二带动t型柱、活动板、连接杆和按压块向下移动,使连接杆和按压块贯穿填料管的内部,延伸至烟火发射筒的内部,对烟火发射筒内部的火药粉末进行按压。
5、进一步的,所述填料孔开设在装填箱的内壁底部,所述装填箱的内壁底部靠近填料孔固定安装有四个三角形滑板一和四个三角形滑板二,所述三角形滑板一和三角形滑板二之间交叉连接,且三角形滑板一和三角形滑板二之间呈十字状,所述三角形滑板一和三角形滑板二均是等边三角形,所述装填箱的底端固定安装有若干个填料管。
6、通过采用上述技术方案,由于三角形滑板一和三角形滑板二均是等边三角形,而且它们之间呈十字状,使填料孔的四周呈斜坡状,这样便于火药粉末滑落进填料孔和填料管的内部。
7、进一步的,所述填料管与填料孔之间相连通,所述填料管的外壁底部呈锥形状。
8、通过采用上述技术方案,由于填料管的内壁直径与填料孔的直径相同,且填料管的外壁直径小于烟火发射筒的内壁直径,当对烟火进行火药装填的时候,填料管的底端外壁便于插在烟火发射筒的内部,这样可以快速的安装好装填装置,然后进行火药装填。
9、进一步的,所述连接杆和按压块的底端贯穿填料孔的内部,且延伸至填料管的内部。
10、通过采用上述技术方案,按压块的外壁上半部呈锥形状,下半部呈圆柱状,且按压块外壁的直径小于填料孔、填料管内壁和烟火发射筒内壁的直径,这样便于按压块移动到烟火发射筒的内部,并对烟火发射筒内部填充的火药粉末进行按压。
11、本实用新型的有益效果是:
12、1、该烟火的火药装填装置,通过按压结构的设置,在对火药粉末进行装填的时候,操作人员按压把手二,使把手二带动t型柱、活动板、连接杆和按压块向下移动,使连接杆和按压块贯穿填料管的内部,延伸至烟火发射筒的内部,然后对烟火发射筒内部的火药粉末进行按压,这样可以确保对烟火发射筒进行填充火药的时候不会出现空隙,提高了烟花火药的装填效率和使用性能,同时通过等边三角形滑板一和等边三角形滑板二的设置,可以快速使火药粉末滑落进填料孔和填料管的内部,然后通过填料管对烟火发射筒进行快速填充。
13、2、该烟火的火药装填装置,通过抵制弹簧和压缩弹簧的设置,在装填火药粉末的过程中对烟火发射筒内部的火药粉末进行按压好之后,当操作人员松开正在按压的把手二时,按压块和连接杆会因为抵制弹簧和压缩弹簧的自身弹力带动按压块和连接杆快速复位,在复位的同时连接杆和按压块会对等边三角形滑板一、等边三角形滑板二之间和填料孔内部的火药粉末进行回弹和振动,这样不会使填料孔和填料管在进行填充火药粉末时出现堵住的状况,提高了烟花火药的装填效率。
技术特征:
1.一种烟火的火药装填装置,包括装填箱(1),其特征在于:所述装填箱(1)的两侧外壁固定连接有把手一(2),所述装填箱(1)的下方设有烟火发射座(3),所述烟火发射座(3)的内部设有若干个烟火发射筒(4),所述装填箱(1)的顶部活动安装有盖板(5),所述盖板(5)的上表面中心处开设有通孔(6),所述盖板(5)的内部设置有按压结构(7),所述装填箱(1)的内部设有若干个填料孔(8);
2.根据权利要求1所述的一种烟火的火药装填装置,其特征在于:所述填料孔(8)开设在装填箱(1)的内壁底部,所述装填箱(1)的内壁底部靠近填料孔(8)固定安装有四个三角形滑板一(9)和四个三角形滑板二(10),所述三角形滑板一(9)和三角形滑板二(10)之间交叉连接,且三角形滑板一(9)和三角形滑板二(10)之间呈十字状,所述三角形滑板一(9)和三角形滑板二(10)均是等边三角形,所述装填箱(1)的底端固定安装有若干个填料管(11)。
3.根据权利要求2所述的一种烟火的火药装填装置,其特征在于:所述填料管(11)与填料孔(8)之间相连通,所述填料管(11)的外壁底部呈锥形状。
4.根据权利要求3所述的一种烟火的火药装填装置,其特征在于:所述连接杆(76)和按压块(77)的底端贯穿填料孔(8)的内部,且延伸至填料管(11)的内部。
技术总结
本技术涉及烟火生产技术领域,公开了一种烟火的火药装填装置。该烟火的火药装填装置,通过按压结构的设置,在对火药粉末进行装填的时候,操作人员按压把手二,使把手二带动T型柱、活动板、连接杆和按压块向下移动,使连接杆和按压块贯穿填料管的内部,延伸至烟火发射筒的内部,然后对烟火发射筒内部的火药粉末进行按压,这样可以确保对烟火发射筒进行填充火药的时候不会出现空隙,提高了烟花火药的装填效率和使用性能,同时通过等边三角形滑板一和等边三角形滑板二的设置,可以快速使火药粉末滑落进填料孔和填料管的内部,然后通过填料管对烟火发射筒进行快速填充。
技术研发人员:徐益丰,吴烨,张云麒
受保护的技术使用者:浏阳市瑞祥出口花炮厂(普通合伙)
技术研发日:20240725
技术公布日:2024/9/2
技术研发人员:徐益丰,吴烨,张云麒
技术所有人:浏阳市瑞祥出口花炮厂(普通合伙)
备 注:该技术已申请专利,仅供学习研究,如用于商业用途,请联系技术所有人。
声 明 :此信息收集于网络,如果你是此专利的发明人不想本网站收录此信息请联系我们,我们会在第一时间删除
