一种方便阅读用多功能书桌

本申请涉及书桌,尤其是一种方便阅读用多功能书桌。
背景技术:
1、书桌是一种用来读书写字的桌子,书桌通常配有抽屉,分格和文件架,是学习必不可少的用品;由于使用者在书桌前阅读时通常需要辅助照明,为了便于阅读,通常会采用台灯来起到补光作用,从而来方便阅读。
2、具体的,台灯方便了对阅读的同时,也会占用桌面的空间,进而会降低书桌的使用率,如公开号cn210227300u公开了一种多功能书桌,书架的侧部设有照明灯,这样可以提供照明;但在实际使用过程中,侧面设置的照明灯并不能起到很好的照明作用,保证不了使用效果。
3、此外,相关技术中的书桌在照明时并不能根据需求来调节使用,功能性单一,同时不便于将书籍进行存放与查找。
技术实现思路
1、本申请的目的在于提供一种方便阅读用多功能书桌,具备操作简单的优点,解决了现有的书桌功能性单一的问题。
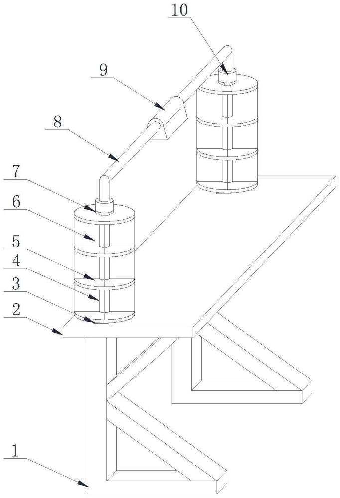
2、一种方便阅读用多功能书桌,包括支撑架、桌板、连接杆、底架和收纳结构;
3、所述收纳结构包括中空轴和连接轴,所述连接轴底端表面固接有圆板,所述圆板上表面固接有定位块,所述连接轴顶端贯穿所述中空轴,所述中空轴表面固接有支撑板,位于底端的所述支撑板下表面开有定位槽,且所述定位块卡合于所述定位槽内部;相邻两个所述支撑板之间设有隔板,所述隔板与所述支撑板垂直分布,且所述隔板外缘分别与相邻两个所述支撑板以及所述中空轴固接;
4、所述连接杆位于所述连接轴上方,所述连接杆两端均设有螺纹套筒,所述连接杆与所述螺纹套筒转动连接,且所述螺纹套筒与所述连接轴顶端螺纹连接;所述连接杆表面设有照明灯,所述照明灯与所述连接杆活动连接,且所述照明灯与所述连接杆的接触处设有磁吸板。
5、进一步地,所述支撑架的数目为两个,两个所述支撑架对称分布于所述底架下方,所述支撑架顶端与所述底架下表面固接,且所述底架表面开有安装孔;所述桌板位于所述底架上方,且所述桌板通过螺钉与所述底架固定。
6、进一步地,所述中空轴表面等距离分布有四个所述支撑板,相邻两个所述支撑板之间环形分布有四个所述隔板,所述连接轴的顶端表面设有外螺纹,位于顶端的所述支撑板上方设有第一螺母,且所述第一螺母与所述连接轴顶端螺纹连接。
7、进一步地,所述连接杆为倒置的u型结构,所述连接杆两端均设有所述螺纹套筒,且所述螺纹套筒底端与所述第一螺母上表面贴合。
8、进一步地,所述圆板上表面环形分布有四个所述定位块,位于下方的所述支撑板下表面环形分布有四个所述定位槽,且所述定位块与所述定位槽的尺寸相匹配。
9、进一步地,所述桌板的上表面开有通孔,所述连接轴底端贯穿所述通孔,且所述连接轴底端通过转动结构与所述底架转动连接。
10、进一步地,所述转动结构由限位板、螺纹柱、活动板和第二螺母构成,所述连接轴底端与所述限位板上表面固接,所述限位板下表面固接有所述螺纹柱,所述底架上表面开有连接孔,所述螺纹柱底端贯穿所述连接孔,所述活动板套接于所述螺纹柱底端表面,所述第二螺母位于所述活动板下方,且所述第二螺母与所述螺纹柱螺纹连接。
11、进一步地,所述连接孔外侧设有滑轨,所述底架的上、下面均设有所述滑轨,所述限位板下表面与所述活动板上表面均环形分布有多个卡槽,所述卡槽内部镶嵌有滚珠,且所述滚珠与所述滑轨滚动连接。
12、进一步地,所述螺纹柱表面开有限位槽,所述活动板内侧壁固接有限位块,且所述限位块卡合于所述限位槽内部。
13、进一步地,所述收纳结构的数目为两个,两个所述收纳结构对称分布于所述桌板的上方,且所述连接杆横跨两个所述收纳结构。
14、通过本申请上述实施例,中空轴、照明灯以及连接轴均采用的是可拆卸式结构,只要拆卸第一螺母、第二螺母以及螺纹套筒即可操作,便于后期的维修与维护,同时本书桌结构紧凑,拆装时都较为简单。
技术特征:
1.一种方便阅读用多功能书桌,其特征在于:包括支撑架(1)、桌板(2)、连接杆(8)、底架(11)和收纳结构;
2.根据权利要求1所述的一种方便阅读用多功能书桌,其特征在于:
3.根据权利要求1所述的一种方便阅读用多功能书桌,其特征在于:
4.根据权利要求3所述的一种方便阅读用多功能书桌,其特征在于:
5.根据权利要求1所述的一种方便阅读用多功能书桌,其特征在于:
6.根据权利要求1所述的一种方便阅读用多功能书桌,其特征在于:
7.根据权利要求6所述的一种方便阅读用多功能书桌,其特征在于:
8.根据权利要求7所述的一种方便阅读用多功能书桌,其特征在于:
9.根据权利要求7所述的一种方便阅读用多功能书桌,其特征在于:
10.根据权利要求1所述的一种方便阅读用多功能书桌,其特征在于:
技术总结
本申请公开了一种方便阅读用多功能书桌,包括支撑架、桌板、连接杆、底架和收纳结构;所述收纳结构包括中空轴和连接轴,所述连接轴底端表面固接有圆板,所述圆板上表面固接有定位块,所述连接轴顶端贯穿所述中空轴,所述中空轴表面固接有支撑板,位于底端的所述支撑板下表面开有定位槽,且所述定位块卡合于所述定位槽内部;相邻两个所述支撑板之间设有隔板,所述隔板与所述支撑板垂直分布,且所述隔板外缘分别与相邻两个所述支撑板以及所述中空轴固接。中空轴、照明灯以及连接轴均采用的是可拆卸式结构,只要拆卸第一螺母、第二螺母以及螺纹套筒即可操作,便于后期的维修与维护,同时本书桌结构紧凑,拆装时都较为简单。
技术研发人员:容易
受保护的技术使用者:成都中医药大学
技术研发日:20231109
技术公布日:2024/8/20
技术研发人员:容易
技术所有人:成都中医药大学
备 注:该技术已申请专利,仅供学习研究,如用于商业用途,请联系技术所有人。
声 明 :此信息收集于网络,如果你是此专利的发明人不想本网站收录此信息请联系我们,我们会在第一时间删除
