一种窗帘防风牵引装置的制作方法

本技术涉及窗帘配件,具体涉及一种窗帘防风牵引装置。
背景技术:
1、窗帘不仅是每家每户的必需品,也是许多公共场合的必需品,比如说学校、办公室等。当窗户通风又不想让太阳直射的时候,都会想到使用窗帘,但是,现有技术的窗帘,尤其是卷帘、百叶帘一般都是依靠配重或自然重量垂落,在风吹动时帘布会随着风肆意的飘动,还会带着帘布下轨道、配重条撞击墙面或玻璃,不仅会发出噪音,还会引起危险,其次,飘动的窗帘帘布或百叶帘片,也失去了遮光的效果,因这对坐在窗帘旁边工作或者学习的人来说无疑是一件麻烦事。
技术实现思路
1、针对相关技术中的问题,本实用新型提出一种设置有牵引结构,通过钢索连接,能够避免帘布左右、前后晃动过大的防风牵引装置。
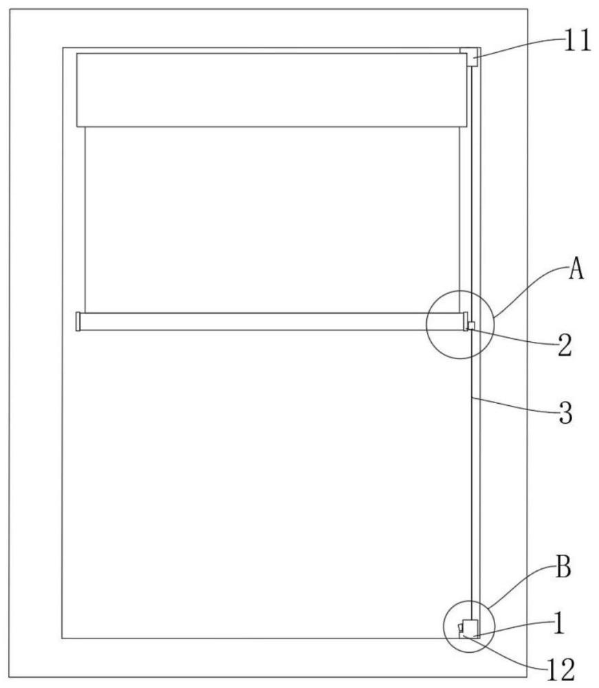
2、为了实现以上目的,本实用新型采用的技术方案为:一种窗帘防风牵引装置,包括装置本体,所述装置本体上设置有固定结构用于与墙面相对固定安装,还包括活动组件以及牵引限位钢索,所述活动组件与帘布下轨道固定安装,所述活动组件包括安装板、伸缩块,所述伸缩块相对安装板活动设置,且其露出帘布下轨道的一端设置有过孔,所述牵引限位钢索贯穿过孔设置。
3、进一步的,所述安装板嵌合在帘布下轨道端部,其上还设置有伸缩孔,所述伸缩块呈杆状结构插接伸缩孔,且位于伸缩孔内相对帘布下轨道轴向活动设置。
4、进一步的,所述伸缩块带有过孔的一端设置直径大于伸缩孔的杆头,另一端贯穿伸缩孔露出安装板的部分还设置有卡簧槽以及卡簧,所述卡簧用于与杆头配合限位伸缩块相对安装板脱离。
5、进一步的,所述装置本体设置有两个,分别位于相对帘布的最上端墙面固定的上固定件和最下端墙面固定的下固定件,所述牵引限位钢索两端分别连接上固定件和下固定件,所述下固定件还设置有张紧机构。
6、进一步的,所述张紧机构包括相对下固定件活动的拉杆、弹性件以及换向杆,所述拉杆上还设置有供牵引限位钢索穿过的限位孔所述弹性件用于驱动拉杆复位。
7、有益效果:本实用新型的防风牵引装置,通过钢索作为限位索,设置活动组件连接钢索,以钢索的张紧拉住窗帘下轨配重杆,使其不会产生大幅度的左右、前后的摆动,在大风吹动下只能进行小幅度的飘摆,保证了帘布的自然垂落、平整美观,避免了大风天气帘布受到吹动,导致帘布撕裂配重杆撞击前面、玻璃等问题。
技术特征:
1.一种窗帘防风牵引装置,其特征在于:包括装置本体(1),所述装置本体(1)上设置有固定结构用于与墙面相对固定安装,还包括活动组件(2)以及牵引限位钢索(3),所述活动组件(2)与帘布下轨道(9)固定安装,所述活动组件(2)包括安装板(21)、伸缩块(22),所述伸缩块(22)相对安装板(21)活动设置,且其露出帘布下轨道(9)的一端设置有过孔(23),所述牵引限位钢索(3)贯穿过孔(23)设置。
2.根据权利要求1所述的一种窗帘防风牵引装置,其特征在于:所述安装板(21)嵌合在帘布下轨道(9)端部,其上还设置有伸缩孔(25),所述伸缩块(22)呈杆状结构插接伸缩孔(25),且位于伸缩孔(25)内相对帘布下轨道(9)轴向活动设置。
3.根据权利要求2所述的一种窗帘防风牵引装置,其特征在于:所述伸缩块(22)带有过孔(23)的一端设置直径大于伸缩孔(25)的杆头(29),另一端贯穿伸缩孔(25)露出安装板(21)的部分还设置有卡簧槽(26)以及卡簧(27),所述卡簧(27)用于与杆头(29)配合限位伸缩块(22)相对安装板(21)脱离。
4.根据权利要求1所述的一种窗帘防风牵引装置,其特征在于:所述装置本体(1)设置有两个,分别位于相对帘布的最上端墙面固定的上固定件(11)和最下端墙面固定的下固定件(12),所述牵引限位钢索(3)两端分别连接上固定件(11)和下固定件(12),所述下固定件(12)还设置有张紧机构(13)。
5.根据权利要求4所述的一种窗帘防风牵引装置,其特征在于:所述张紧机构(13)包括相对下固定件(12)活动的拉杆(121)、弹性件(122)以及换向杆(123),所述拉杆(121)上还设置有供牵引限位钢索(3)穿过的限位孔(124)所述弹性件(122)用于驱动拉杆(121)复位。
技术总结
本技术公开了一种窗帘防风牵引装置,包括装置本体,所述装置本体上设置有固定结构用于与墙面相对固定安装,还包括活动组件以及牵引限位钢索,所述活动组件与帘布下轨道固定安装,所述活动组件包括安装板、伸缩块,所述伸缩块相对安装板活动设置,且其露出帘布下轨道的一端设置有过孔,所述牵引限位钢索贯穿过孔设置;本技术的防风牵引装置主要适用在卷式窗帘、百叶帘上,可以减轻有风状态下,帘片、帘布被风吹起,导致遮光、遮挡不力以及帘布下轨道被风吹起后落下撞击玻璃、墙面等造成两者的损坏等问题,通过防风牵引装置的使用,还能够使得窗帘的帘布更平整美观,不易产生摆动,增强装饰美观等效果。
技术研发人员:毛东双
受保护的技术使用者:安徽美尔耐时尚家居遮阳品制造有限公司
技术研发日:20231031
技术公布日:2024/8/20
技术研发人员:毛东双
技术所有人:安徽美尔耐时尚家居遮阳品制造有限公司
备 注:该技术已申请专利,仅供学习研究,如用于商业用途,请联系技术所有人。
声 明 :此信息收集于网络,如果你是此专利的发明人不想本网站收录此信息请联系我们,我们会在第一时间删除
