一种方便出沐浴液洗发水的淋浴装置的制作方法

本技术涉及淋浴装置,更具体地说,本技术涉及一种方便出沐浴液洗发水的淋浴装置。
背景技术:
1、淋浴装置是人们在淋浴时使用的,在淋浴时往往需要使用到沐浴液和洗发水对身体进行清洗,而为了更加方便的使用沐浴液和洗发水,会将沐浴液和洗发水倒入储存盒中,在使用沐浴液和洗发水时,可通过按压储存盒出液开关即可使得沐浴液和洗发水排出,但是在使用的过程中,人们往往需要沐浴液和洗发水起沫之后才会使用,但是现有技术中,仅仅是使得沐浴液和洗发水排出,还需要人们单独起沫。
技术实现思路
1、为了克服现有技术的不足,本实用新型提供了一种方便出沐浴液洗发水的淋浴装置,具有方便人们使用的优点。
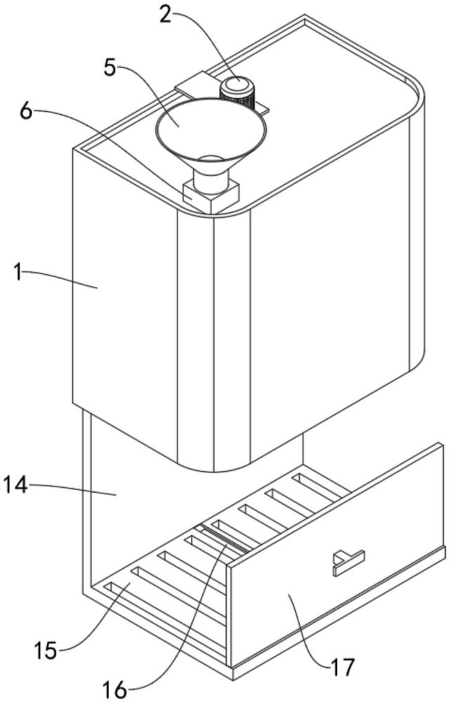
2、为实现上述目的,本实用新型提供如下技术方案:一种方便出沐浴液洗发水的淋浴装置,包括储存盒,所述储存盒的顶端固定连接有伺服电机,所述伺服电机的输出轴固定套装有滚珠丝杠,所述滚珠丝杠的表面啮合有按压板,所述滚珠丝杠的底端固定连接有起沫杆,所述储存盒的底端固定连接有闭合仓,所述闭合仓的底端固定连接有出液管,所述闭合仓的左侧固定连接有微型电机,所述微型电机的输出轴固定套装有双向丝杠,所述双向丝杠的表面啮合有闭合板,所述闭合仓内腔的前侧固定连接有导向杆。
3、作为本实用新型的一种优选技术方案,所述储存盒的底端固定连接有连接板,所述连接板的底端固定连接有出液板,所述出液板的中部开设有t形滑槽,所述t形滑槽的内腔滑动连接有挤压板。
4、作为本实用新型的一种优选技术方案,所述按压板的顶端固定连接有进料管,所述进料管的底端固定安装有单向阀。
5、作为本实用新型的一种优选技术方案,所述闭合板靠近闭合仓中心处一侧的中心处开设有半圆孔,所述闭合板与起沫杆的顶端贴合。
6、作为本实用新型的一种优选技术方案,所述闭合板的前后两端均开设有连接孔,所述闭合板通过连接孔分别啮合在双向丝杠的表面和活动套接在导向杆的表面。
7、作为本实用新型的一种优选技术方案,所述挤压板的底端固定安装有滑杆,所述滑杆滑动连接在t形滑槽的内腔。
8、作为本实用新型的一种优选技术方案,所述挤压板的前侧固定安装有t形把手,所述出液板的底端开设有矩形孔。
9、与现有技术相比,本实用新型的有益效果如下:
10、1、本实用新型通过首先启动微型电机带动双向丝杠旋转,从而带动两个闭合板向闭合仓的左右两侧移动,启动伺服电机带动滚珠丝杠旋转从而带动按压板在储存盒的内腔下降,从而对储存盒内腔的液体进行挤压,接着通过滚珠丝杠带动起沫杆旋转,从而通过起沫杆对沐浴液或洗发水进行搅拌起沫,从而使得洗发水或沐浴液排出时即可成沫,从而提高了使用时的便利性。
11、2、本实用新型通过将用好的洗浴物品放置在出液板的顶端进行晾干,水从出液板漏出,当需要对洗浴物品进行挤干时,通过向连接板的方向按压挤压板,从而通过挤压板对洗浴物品进行挤压,从而将洗浴物品内部的水挤出。
技术特征:
1.一种方便出沐浴液洗发水的淋浴装置,包括储存盒(1),其特征在于:所述储存盒(1)的顶端固定连接有伺服电机(2),所述伺服电机(2)的输出轴固定套装有滚珠丝杠(3),所述滚珠丝杠(3)的表面啮合有按压板(4),所述滚珠丝杠(3)的底端固定连接有起沫杆(7),所述储存盒(1)的底端固定连接有闭合仓(8),所述闭合仓(8)的底端固定连接有出液管(9),所述闭合仓(8)的左侧固定连接有微型电机(10),所述微型电机(10)的输出轴固定套装有双向丝杠(11),所述双向丝杠(11)的表面啮合有闭合板(12),所述闭合仓(8)内腔的前侧固定连接有导向杆(13)。
2.根据权利要求1所述的一种方便出沐浴液洗发水的淋浴装置,其特征在于:所述储存盒(1)的底端固定连接有连接板(14),所述连接板(14)的底端固定连接有出液板(15),所述出液板(15)的中部开设有t形滑槽(16),所述t形滑槽(16)的内腔滑动连接有挤压板(17)。
3.根据权利要求1所述的一种方便出沐浴液洗发水的淋浴装置,其特征在于:所述按压板(4)的顶端固定连接有进料管(5),所述进料管(5)的底端固定安装有单向阀(6)。
4.根据权利要求1所述的一种方便出沐浴液洗发水的淋浴装置,其特征在于:所述闭合板(12)靠近闭合仓(8)中心处一侧的中心处开设有半圆孔,所述闭合板(12)与起沫杆(7)的顶端贴合。
5.根据权利要求1所述的一种方便出沐浴液洗发水的淋浴装置,其特征在于:所述闭合板(12)的前后两端均开设有连接孔,所述闭合板(12)通过连接孔分别啮合在双向丝杠(11)的表面和活动套接在导向杆(13)的表面。
6.根据权利要求2所述的一种方便出沐浴液洗发水的淋浴装置,其特征在于:所述挤压板(17)的底端固定安装有滑杆(18),所述滑杆(18)滑动连接在t形滑槽(16)的内腔。
7.根据权利要求2所述的一种方便出沐浴液洗发水的淋浴装置,其特征在于:所述挤压板(17)的前侧固定安装有t形把手,所述出液板(15)的底端开设有矩形孔。
技术总结
本技术涉及淋浴装置技术领域,且公开了一种方便出沐浴液洗发水的淋浴装置,包括储存盒,所述储存盒的顶端固定连接有伺服电机,所述伺服电机的输出轴固定套装有滚珠丝杠,所述滚珠丝杠的表面啮合有按压板,所述滚珠丝杠的底端固定连接有起沫杆,所述储存盒的底端固定连接有闭合仓,所述闭合仓的底端固定连接有出液管,所述闭合仓的左侧固定连接有微型电机,所述微型电机的输出轴固定套装有双向丝杠,所述双向丝杠的表面啮合有闭合板,所述闭合仓内腔的前侧固定连接有导向杆。接着通过滚珠丝杠带动起沫杆旋转,从而通过起沫杆对沐浴液或洗发水进行搅拌起沫,从而使得洗发水或沐浴液排出时即可成沫,从而提高了使用时的便利性。
技术研发人员:柏强,周柏麟
受保护的技术使用者:周柏麟
技术研发日:20231127
技术公布日:2024/8/20
技术研发人员:柏强,周柏麟
技术所有人:周柏麟
备 注:该技术已申请专利,仅供学习研究,如用于商业用途,请联系技术所有人。
声 明 :此信息收集于网络,如果你是此专利的发明人不想本网站收录此信息请联系我们,我们会在第一时间删除
