一种消防应急逃生器的制作方法

本技术涉及消防缓降装置,具体为一种消防应急逃生器。
背景技术:
1、消防即消除隐患,预防灾患,预防和解决人们在生活、工作、学习过程中遇到的人为与自然、偶然灾害的总称。逃生器是一种高楼自救逃生装置,当楼房等高层建筑突发火灾等事件时,被困者迅速脱险的最佳选择。使用该逃生器,被困人员可迅速脱离险境,无需借助外援。
2、现有的逃生器主要是通过将安全带置于逃生人员腹部,然后将绳索盘仍至楼下,在下降时速放控制器通过逃生人员的自重来调节安全绳的下降速率,在逃生完成后需要底部的逃生人员拉动绳索盘处的安全绳使得安全带上升至逃离高度才可进行再次逃生,但是在实际使用时,若同一室内所需逃生的人员较多,而上述逃生操作较为繁琐,安全绳的下降速率无法根据实际逃生人数进行控制,实用性较差。
技术实现思路
1、本实用新型提供了一种消防应急逃生器,具备可以根据实际逃生人数对安全绳的下降速率进行控制的有益效果,解决了上述背景技术中所提到的问题。
2、为实现上述目的,本实用新型提供如下技术方案:一种消防应急逃生器,包括箱体、盖体和安全绳,所述箱体的前表面开设有安装槽,所述安装槽的内部设置有收卷辊,所述安全绳缠绕于所述收卷辊上,所述箱体一侧相对于所述安全绳的位置开设有出口槽,所述收卷辊上设置有驱动组件,所述箱体内部底端相对于所述驱动组件的位置设置有锁死组件;
3、驱动组件,所述驱动组件包括与所述收卷辊固定套接的驱动轴,所述盖体前表面相对于所述驱动轴的位置固定安装有电机,所述箱体的一侧固定安装有微控制器;
4、所述锁死组件包括开设于所述驱动轴远离所述电机的一端卡槽,所述安装槽内部底端相对于所述驱动轴的位置开设有承接槽,所述承接槽内部底端相对于所述卡槽的位置开设有收缩槽,所述收缩槽的内部活动套接有卡块,所述卡块远离所述驱动轴的一侧固定连接有电推杆;
5、所述安装槽的内部底端固定连接有安装板,所述安装板下表面相对于所述安全绳的位置固定安装有速度传感器,通过所述速度传感器可以使得锁死组件将所述驱动组件进行卡死;
6、所述安装槽内部底端相对于所述出口槽的位置设置有导向组件,所述安全绳的一端通过连接组件可拆卸安装有捆绑组件。
7、优选的,所述驱动轴的一端与所述盖体之间转动连接且与所述电机的输出端固定连接,所述驱动轴的另一端与所述承接槽之间转动连接。
8、优选的,所述电推杆的底端固定连接有u形架,所述箱体后表面相对于所述u形架的位置开设有预留槽,所述u形架与所述预留槽的内部底端相连接。
9、优选的,所述导向组件包括固定安装于所述安装槽内部底端的第一导向辊和两个第二导向辊,所述第一导向辊和两个所述第二导向辊分别设置于所述安全绳的底端和顶端位置处。
10、优选的,所述第一导向辊和所述第二导向辊均包括与所述安装槽内部底端相连接的定位轴,所述定位轴的外侧转动套接有转动套块。
11、优选的,所述定位轴的外侧面等距开设有两个限位槽,两个所述限位槽的内部均转动套接有环形套块,所述环形套块的外侧面与所述转动套块的内侧壁固定连接。
12、优选的,所述箱体的两侧均固定连接有固定板,两个所述固定板上均开设有固定槽。
13、优选的,所述捆绑组件包括安全带,所述安全带的下表面两侧均固定连接有弹性绳,两个所述弹性绳的下表面均固定连接有坐垫,所述安全带的上表面等距设置有三个悬挂绳,三个所述悬挂绳的顶部均固定连接有第一吊耳。
14、优选的,所述连接组件包括连接绳,所述安全绳的一端固定连接有第二吊耳,所述连接绳的两侧分别固定连接有第一安全钩和第二安全钩,所述连接绳通过所述第一安全钩和所述第二安全钩与所述第一吊耳和所述第二吊耳卡合连接。
15、本实用新型具备以下有益效果:
16、1、该消防应急逃生器,通过微控制器生成pwm信号,从而控制电机的转速,通过电机带动驱动轴进行转动,从而可以使得缠绕在收卷辊外侧的安全绳进行放卷,以此可以根据实际逃生人数来自由控制安全绳的放卷速率,进而可以帮助更多的人进行逃生,解决了现有技术中无法根据实际逃生人数对安全绳的下降速率进行控制的问题。
17、2、该消防应急逃生器,通过设置速度传感器,可以对安全绳放卷时的速度进行检测,当放卷速率过快时,此时电推杆会带动卡块在收缩槽的内部滑动,并插入到驱动轴的内部,从而强制对驱动轴进行停止,以此避免安全事故的发生,大大的增加了装置的安全性。
18、3、该消防应急逃生器,通过设置驱动组件和微控制器,可以对安全绳的收放速率进行调节,进而可以在第一个人员逃生后,通过提高电机的转速来缩短捆绑组件收回的时间,进而增加了逃生时间。
技术特征:
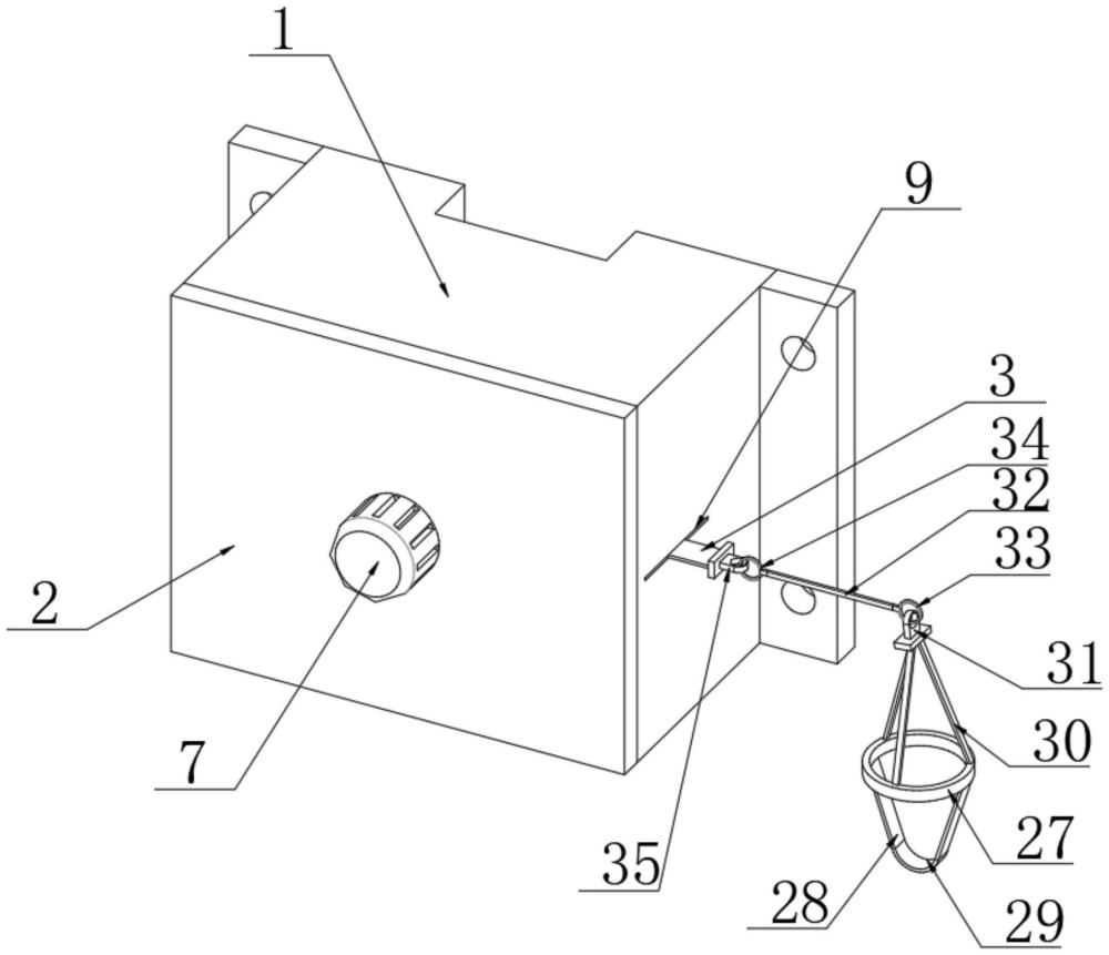
1.一种消防应急逃生器,包括箱体(1)、盖体(2)和安全绳(3),其特征在于:所述箱体(1)的前表面开设有安装槽(4),所述安装槽(4)的内部设置有收卷辊(5),所述安全绳(3)缠绕于所述收卷辊(5)上,所述箱体(1)一侧相对于所述安全绳(3)的位置开设有出口槽(9),所述收卷辊(5)上设置有驱动组件,所述箱体(1)内部底端相对于所述驱动组件的位置设置有锁死组件;
2.根据权利要求1所述的消防应急逃生器,其特征在于:所述驱动轴(6)的一端与所述盖体(2)之间转动连接且与所述电机(7)的输出端固定连接,所述驱动轴(6)的另一端与所述承接槽(10)之间转动连接。
3.根据权利要求1所述的消防应急逃生器,其特征在于:所述电推杆(14)的底端固定连接有u形架(15),所述箱体(1)后表面相对于所述u形架(15)的位置开设有预留槽(16),所述u形架(15)与所述预留槽(16)的内部底端相连接。
4.根据权利要求1所述的消防应急逃生器,其特征在于:所述导向组件包括固定安装于所述安装槽(4)内部底端的第一导向辊(19)和两个第二导向辊(20),所述第一导向辊(19)和两个所述第二导向辊(20)分别设置于所述安全绳(3)的底端和顶端位置处。
5.根据权利要求4所述的消防应急逃生器,其特征在于:所述第一导向辊(19)和所述第二导向辊(20)均包括与所述安装槽(4)内部底端相连接的定位轴(21),所述定位轴(21)的外侧转动套接有转动套块(22)。
6.根据权利要求5所述的消防应急逃生器,其特征在于:所述定位轴(21)的外侧面等距开设有两个限位槽(23),两个所述限位槽(23)的内部均转动套接有环形套块(24),所述环形套块(24)的外侧面与所述转动套块(22)的内侧壁固定连接。
7.根据权利要求1所述的消防应急逃生器,其特征在于:所述箱体(1)的两侧均固定连接有固定板(25),两个所述固定板(25)上均开设有固定槽(26)。
8.根据权利要求1所述的消防应急逃生器,其特征在于:所述捆绑组件包括安全带(27),所述安全带(27)的下表面两侧均固定连接有弹性绳(28),两个所述弹性绳(28)的下表面均固定连接有坐垫(29),所述安全带(27)的上表面等距设置有三个悬挂绳(30),三个所述悬挂绳(30)的顶部均固定连接有第一吊耳(31)。
9.根据权利要求8所述的消防应急逃生器,其特征在于:所述连接组件包括连接绳(32),所述安全绳(3)的一端固定连接有第二吊耳(35),所述连接绳(32)的两侧分别固定连接有第一安全钩(33)和第二安全钩(34),所述连接绳(32)通过所述第一安全钩(33)和所述第二安全钩(34)与所述第一吊耳(31)和所述第二吊耳(35)卡合连接。
技术总结
本技术涉及消防缓降装置技术领域,且公开了一种消防应急逃生器,包括箱体、盖体和安全绳,箱体的前表面开设有安装槽,安装槽的内部设置有收卷辊,安全绳缠绕于收卷辊上,箱体一侧相对于安全绳的位置开设有出口槽,收卷辊上设置有驱动组件,箱体内部底端相对于驱动组件的位置设置有锁死组件。该消防应急逃生器,通过微控制器生成PWM信号,从而控制电机的转速,通过电机带动驱动轴进行转动,从而可以使得缠绕在收卷辊外侧的安全绳进行放卷,以此可以根据实际逃生人数来自由控制安全绳的放卷速率,进而可以帮助更多的人进行逃生,解决了现有技术中无法根据实际逃生人数对安全绳的下降速率进行控制的问题。
技术研发人员:张晓强
受保护的技术使用者:上海熠阔电气有限公司
技术研发日:20231130
技术公布日:2024/9/2
技术研发人员:张晓强
技术所有人:上海熠阔电气有限公司
备 注:该技术已申请专利,仅供学习研究,如用于商业用途,请联系技术所有人。
声 明 :此信息收集于网络,如果你是此专利的发明人不想本网站收录此信息请联系我们,我们会在第一时间删除
