首页  专利技术  其他产品的制造及其应用技术

MEMS器件以及MEMS器件的制造工艺的制作方法

2025-09-23 10:40:07 290次浏览
MEMS器件以及MEMS器件的制造工艺的制作方法

本公开涉及一种mems器件,尤其是反射镜型mems器件,其具有对mems器件的可变形结构的变形的改善检测,并且涉及一种用于mems器件的制造工艺。具体来说,本公开涉及一种mems器件,其包括可变形结构,所述可变形结构包括用于控制所述可变形结构的变形的压电致动器和用于改善对所述可变形结构的变形的检测的应变传感器。本公开还涉及mems器件的制造工艺,mems器件的操作方法,以及包括mems器件的电子装置。


背景技术:

1、众所周知,微机电系统(mems)器件通常被使用和销售,这种mems器件包括用半导体材料技术形成的可倾斜结构,例如反射镜结构。

2、例如,具有反射镜结构的mems器件例如用在便携式设备中,例如用于光学应用的便携式计算机、膝上型计算机、笔记本(包括超薄笔记本)、pda、平板计算机、智能电话。特别地,它们可以用于以期望的模式引导由屏幕上或lidar型显示器应用中的光源生成的光辐射束。

3、由于它们的小尺寸,这些器件允许在面积和厚度方面满足关于器件尺寸的严格要求。

4、例如,mems反射镜器件被用在小型化的投影仪模块(所谓的微微投影仪)中,其能够在一定距离处投影图像或生成期望的光图案。

5、mems反射镜装置通常包括悬置在腔体上方的反射镜元件和将反射镜元件弹性地耦合到mems反射镜装置的锚定结构的可变形结构。反射镜元件从半导体材料体开始形成,从而使得其可移动,通常以倾斜或旋转运动,从而以期望的方式引导入射光束。通常,反射镜元件由压电型或电容型致动器控制和旋转,所述致动器是可变形结构的一部分。

6、为了允许更好地控制该反射镜元件并且因此更好地控制由此引导的光束,已知的是将被配置为检测该可变形结构的变形的一个或多个应变传感器耦合到该反射镜元件上以便允许确定该反射镜元件的位置。这允许例如以闭环模式控制反射镜元件,根据反射镜元件的检测位置操作致动器。因此,应变传感器的使用允许更精确地控制反射镜元件的位置。

7、为此,已知例如使用压阻传感器来检测反射镜元件的位置。具体地,这种压阻传感器包括半导体材料(例如硅)的敏感元件,其电阻是这些敏感元件的机械变形的函数。因此,当致动器生成反射镜元件的运动时,它们还引起敏感元件的机械变形,该机械变形被检测为敏感元件两端的电压/电流变化。然而,压阻式传感器具有低测量灵敏度(例如,低于约3mv/℃)、高电力消耗、需要额外的制造步骤且因此需要较高的生产成本和时间、并且高度关联于(dependent on)温度变化(例如,-0.25%/℃)。因此,使用压阻传感器需要复杂的校准过程来平衡这些传感器可能受到的热效应,并且通常导致测量精度受到限制。

8、其它已知的方法基于使用具有“单端”读数的压电传感器来检测反射镜元件的位置。压电传感器可以包括压电绝缘材料(例如,锆钛酸铅、pzt或氮化铝、铝)的相应敏感元件,当经受由致动器生成用以控制反射镜元件的机械变形时,该敏感元件被偏置,从而在其间生成电势差。已知的方法包括以“单端”模式读取该电势差,即放大该电势差,从而通过adc转换器将其转换为相应的数字信号,并且使用该数字信号来确定反射镜元件的位置和/或控制其“闭环”位置。

9、类似地,还存在基于使用具有差分读数的多个压电传感器来检测反射镜元件的位置的已知方法。例如,这些压电传感器具有类似于针对“单端”读取情况所描述的结构,并且相对于反射镜元件对称地布置,从而在使用中分别在“单端”情况下测量彼此相位相反并且因此可以以差分模式采集的电信号,以便提高测量灵敏度和增加snr。

10、然而,在这两种情况下,通过相对于用于形成致动器的制造工艺步骤附加的制造工艺步骤,或者通过用于形成致动器的相同制造工艺步骤,压电传感器通常被形成为横向于通常为压电类型的致动器以便更容易在制造步骤中与压电传感器集成。

11、在第一种情况下,由于用于形成器件的光刻掩模和制造步骤的数量更多,这需要制造工艺的更大复杂性。

12、在第二种情况下,这使得应变传感器和致动器具有类似的物理结构(即,形成它们的层的垂直连续对于应变传感器和致动器是相同的)。此外,由致动器用来生成反射镜元件的运动的压电绝缘材料部分和由压电传感器用来检测反射镜元件的运动的压电绝缘材料部分是同一压电绝缘材料层的一部分,即从同一压电绝缘材料(例如pzt)层开始形成,该压电绝缘材料层首先被沉积,然后被图案化以形成用于不同检测或致动用途的不同部分。这在装置设计中生成了额外的限制,因为用于检测和致动的压电绝缘材料对于致动器和压电传感器是相同的。当选择压电绝缘材料例如pzt时,该限制是特别相关的,因为这防止获得其中致动和检测都被优化的装置。事实上,已知pzt由于诸如压电疲劳和“去极化(depoling)”的现象而随时间变得不稳定,这可能显著影响反射镜元件位置的检测。此外,pzt具有磁滞现象并且还具有高介电常数(例如,包括在约1000c2/(n·m2)和约1200c2/(n·m2)之间)。因此,尽管pzt在用于致动目的(其中pzt和相应电极之间的接触面积通常较大)时没有相关的问题,但是这种材料在用于检测目的(其中pzt和相应电极之间的接触面积通常减小)时可能受到限制,因为它可能导致噪声过大和测量不准确,并且导致由应变传感器生成的输出信号的snr和振幅的过度减小。

13、在本领域中需要提供一种克服了现有技术的缺点的mems器件、该mems器件的制造工艺、该mems器件的操作方法以及包括该mems器件的电子装置。


技术实现思路

1、提供了一种mems器件,该mems器件的制造工艺,该mems器件的操作方法以及包括该mems器件的电子装置。

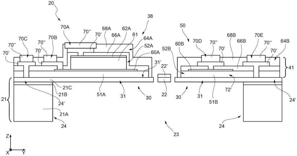
2、为此,本文公开了一种mems器件,包括:具有固定结构和可变形主体的半导体本体,固定结构在半导体本体中限定腔体,可变形主体固定到固定结构并悬置在腔体上方;在可变形主体上方延伸的压电致动器;以及压电传感器元件,其在可变形主体上横向于压电致动器延伸,并且与可变形主体一起形成应变传感器。

3、压电传感器元件包括:氮化铝的检测压电区域,其在可变形主体上方延伸;以及在检测压电区域上方延伸的中间检测电极。

4、可变形主体、检测压电区域和中间检测电极形成应变传感器的有源检测结构的第一检测电容器,可变形主体被配置为作为第一检测电容器的底部检测电极操作。可变形主体、压电致动器和压电传感器元件形成悬置在腔体上的可变形结构。压电致动器是电可控的,以生成可变形结构的变形。

5、应变传感器的有源检测结构被配置为响应于可变形结构的变形而在第一检测电容器的底部检测电极与中间检测电极之间生成第一检测电压,第一检测电压指示可变形结构的变形。

6、压电传感器元件还可包括:绝缘材料钝化区域,其在中间检测电极上方延伸;导电材料的第一检测电连接,其延伸穿过压电传感器元件的钝化区域并且与中间检测电极电接触;以及导电材料的第二检测电连接,其延伸穿过压电传感器元件的钝化区域,与可变形主体电接触并且与第一检测电连接电绝缘。

7、钝化区域可以是单片的并且由氮化铝形成。

8、压电传感器元件还可以包括在钝化区域上方延伸的顶部检测电极。

9、顶部检测电极、钝化区域和中间检测电极可以形成应变传感器的有源检测结构的第二检测电容器、第一检测电容器和第二检测电容器彼此串联电连接。

10、应变传感器的有源检测结构还可以被配置为响应于可变形结构的变形而在第二检测电容器的中间检测电极与顶部检测电极之间生成第二检测电压,第二检测电压指示可变形结构的变形。

11、可变形主体可以由掺杂半导体材料形成并且具有不超过30mω·cm的电阻率。

12、压电致动器可以包括:氮化铝的绝缘压电区域,其在可变形主体上横向延伸到检测压电区域;导电材料的中间致动电极,其在绝缘压电区域上方延伸;压电材料的致动压电区域,其在中间致动电极上方延伸;以及导电材料的顶部致动电极,其在致动压电区域上方延伸。中间致动电极、致动压电区域和顶部致动电极可以形成压电致动器的有源致动结构的致动电容器。

13、压电致动器还可包括:绝缘材料的相应钝化区域,其在顶部致动电极上方延伸;导电材料的第一致动电连接,其延伸穿过压电致动器的钝化区域并与顶部致动电极电接触;以及导电材料的第二致动电连接,其延伸穿过压电致动器的钝化区域并与第一致动电连接电绝缘。第二致动电连接可以与可变形主体和中间致动电极电接触。

14、压电致动器还可包括:绝缘材料的相应钝化区域,其在顶部致动电极上方延伸;导电材料的第一致动电连接,其延伸穿过压电致动器的钝化区域并与顶部致动电极电接触;以及导电材料的第二致动电连接,其延伸穿过压电致动器的钝化区域并与第一致动电连接电绝缘。第二致动电连接可以与中间致动电极电接触,并且压电致动器还可以包括导电材料的第三致动电连接,其延伸穿过压电致动器的钝化区域,与第一致动电连接以及第二致动电连接电绝缘,并且与可变形主体电接触。

15、该mems器件可以是反射镜型的并且进一步包括:可倾斜结构,可倾斜结构弹性地悬置在腔体上方;第一支撑臂和第二支撑臂,第一支撑臂和第二支撑臂沿着可倾斜结构的旋转轴线在固定结构与可倾斜结构的相对侧之间延伸;以及多个可变形结构,面向第一支撑臂的相对侧,在固定结构与第一支撑臂的相对侧之间延伸,并且可电控制以机械地变形,从而生成可倾斜结构围绕旋转轴线的旋转。

16、可变形结构的应变传感器可以相对于旋转轴线彼此相对。当可倾斜结构由于可变形结构而围绕旋转轴线旋转时,可变形结构的应变传感器可经历相应的机械变形并且生成相应的检测信号,该检测信号指示可倾斜结构围绕旋转轴线的旋转并彼此相位相反。

17、该mems器件可以是反射镜型的并且进一步包括:可倾斜结构,可倾斜结构弹性地悬置在腔体上;第一支撑臂和第二支撑臂,第一支撑臂和第二支撑臂沿着可倾斜结构的旋转轴线在固定结构与可倾斜结构的相对侧之间延伸;以及多个可变形结构,其面向第一支撑臂的相对侧,在固定结构与可倾斜结构之间延伸,并且是电可控的以机械地变形,从而生成可倾斜结构围绕旋转轴线的旋转。

18、可变形结构的应变传感器可以相对于旋转轴线彼此相对。当可倾斜结构由于可变形结构而围绕旋转轴线旋转时,可变形结构的应变传感器可经历相应的机械变形并生成相应的检测信号,该检测信号指示可倾斜结构围绕旋转轴线的旋转并且彼此相位相反。

19、本文还公开了一种制造mems器件的方法,包括以下步骤:a.在工作晶片的第一表面上形成氮化铝的第一压电层,工作晶片包括半导体材料的底部半导体区域和半导体材料的顶部半导体区域,第一压电层沿第一轴线叠加在工作晶片的底部半导体区域上并限定工作晶片的第一表面,工作晶片还具有沿第一轴线与第一表面相对的第二表面;b.在第一压电层上形成导电材料的第一导电层;f.通过化学蚀刻对第一导电层进行图案化以形成应变传感器的中间检测电极;i.通过化学蚀刻形成第一工作沟槽,第一工作沟槽穿过第一压电层并且直到工作晶片的顶部半导体区域并且暴露工作晶片的顶部半导体区域,其中第一工作沟槽与第一轴线正交地围绕第一压电层的一部分,第一压电层的一部分沿第一轴线位于中间检测电极下方并且形成检测压电区域;p.通过化学蚀刻形成穿过工作晶片的顶部半导体区域的平面轮廓沟槽,平面轮廓沟槽正交于第一轴线部分地围绕工作晶片的顶部半导体区域的一部分,在检测压电区域下方并且适于形成可变形主体,并且正交于第一轴线地将顶部半导体区域的部分的一部分与工作晶片的顶部半导体区域的剩余部分物理地分隔,从而正交于第一轴线地限定可变形主体的平面轮廓;以及通过从工作晶片的第二表面开始执行的化学蚀刻,去除工作晶片的位于可变形主体下方的底部半导体区域的一部分,直到暴露工作晶片的顶部半导体区域为止,从而形成腔体。

20、该方法在步骤b与f之间可以进一步包括以下步骤:c.在第一导电层上形成压电材料的第二压电层;d.在第二压电层上形成导电材料的第二导电层;和e.通过化学蚀刻对第二导电层和第二压电层进行图案化,从而沿着第一轴线分别形成顶部致动电极和位于顶部致动电极下方的致动压电区。步骤f还包括横向于应变传感器的中间检测电极并且与之隔开地形成压电致动器的中间致动电极。

21、在步骤f与i之间,该方法可以包括在压电传感器元件的中间检测电极上、在第一检测电连接上以及在穿过钝化区域的第二检测电连接上形成钝化区域的步骤。

22、在所述中间检测电极和所述第一检测电连接以及穿过所述钝化区域的所述第二检测电连接上形成所述钝化区域的步骤在步骤f与i之间包括以下步骤:g.在应变传感器的中间检测电极上和第一压电层上形成绝缘材料的第一绝缘层;和h.形成穿过第一绝缘层的第一电连接沟槽,从而部分暴露中间检测电极。

23、步骤i可以包括形成也穿过第一绝缘层的第一工作沟槽,第一工作沟槽还与第一轴线正交地围绕第一绝缘层的一部分,该部分沿着第一轴线叠加在中间检测电极上,其形成压电传感器元件的钝化区域的第一绝缘钝化层。步骤i还可以包括形成穿过第一绝缘层和第一压电层的第二电连接沟槽,从而部分地暴露工作晶片的顶部半导体区域。

24、在所述中间检测电极和所述第一检测电连接以及穿过所述钝化区域的所述第二检测电连接上形成所述钝化区域的步骤在步骤i与p之间还可包括以下步骤:j.在压电传感器元件的钝化区域的第一绝缘钝化层上,在中间检测电极上和在工作晶片的顶部半导体区域上形成导电材料的第三导电层;k.通过化学蚀刻图案化第三导电层,从而从第三导电层开始在第一电连接沟槽中形成第一检测电连接的连接区域,并且在第二电连接沟槽中形成第二检测电连接的连接区域l.在第一绝缘钝化层,第一检测电连接和第二检测电连接上形成绝缘材料的第二绝缘层,第二绝缘层限定压电传感器元件的钝化区域的第二绝缘钝化层,并且与第一绝缘钝化层一起形成压电传感器元件的钝化区域;m.形成穿过第二绝缘层的第三电连接沟槽,从而部分地暴露第一检测电连接和第二检测电连接的连接区域;和n.在第三电连接沟槽中形成导电材料的第一检测电连接和第二检测电连接的相应的接触焊盘,并且与相应的连接区域电接触,每个接触焊盘分别与相应的连接区域形成第一检测电连接或第二检测电连接。

25、在所述中间检测电极和所述第一检测电连接以及穿过所述钝化区域的所述第二检测电连接上形成所述钝化区域的步骤可包括以下步骤:g.在应变传感器的中间检测电极上和第一压电层上形成氮化铝的第一绝缘层;和h.形成穿过第一绝缘层的第一电连接沟槽,从而部分地暴露中间检测电极。

26、步骤i可以包括形成也穿过第一绝缘层的第一工作沟槽,第一工作沟槽还与第一轴线正交地围绕第一绝缘层的一部分,该部分沿着第一轴线叠加在中间检测电极上,其形成压电传感器元件的钝化区域。

27、步骤i还可以包括形成穿过第一绝缘层和第一压电层的第二电连接沟槽,从而部分地暴露工作晶片的顶部半导体区域。

28、在所述中间检测电极和所述第一检测电连接以及穿过所述钝化区域的所述第二检测电连接上形成所述钝化区域的步骤在步骤i与p之间可以进一步包括以下步骤:j.在压电传感器元件的钝化区域上,中间检测电极上和工作晶片的顶部半导体区域上形成导电材料的第三导电层;和k.通过化学蚀刻图案化第三导电层,使得从第三导电层开始,在第一电连接沟槽中形成第一检测电连接,在第二电连接沟槽中形成第二检测电连接,并且在压电传感器元件的钝化区域上形成顶部检测电极。

29、方法还可包括以下步骤:形成弹性悬置在腔体上方的可倾斜结构;形成第一支撑臂和第二支撑臂,第一支撑臂和第二支撑臂沿着可倾斜结构的旋转轴线在固定结构与可倾斜结构的相对侧之间延伸;以及形成多个可变形结构,可变形结构面向第一支撑臂的相对侧,在固定结构与第一支撑臂的相对侧之间或在固定结构与可倾斜结构之间延伸,并且是电可控的以机械地变形,从而生成可倾斜结构围绕旋转轴线的旋转。

30、可变形结构的应变传感器可以相对于旋转轴线彼此相对。当可倾斜结构由于可变形结构而围绕旋转轴线旋转时,可变形结构的应变传感器可经历相应的机械变形并生成相应的检测信号,该检测信号指示可倾斜结构围绕旋转轴线的旋转并彼此相位相反。

文档序号 : 【 39204979 】

技术研发人员:R·卡尔米纳蒂,T·阿菲菲·阿菲菲,C·L·佩瑞里尼,S·克斯坦蒂尼
技术所有人:意法半导体国际公司

备 注:该技术已申请专利,仅供学习研究,如用于商业用途,请联系技术所有人。
声 明此信息收集于网络,如果你是此专利的发明人不想本网站收录此信息请联系我们,我们会在第一时间删除
R·卡尔米纳蒂T·阿菲菲·阿菲菲C·L·佩瑞里尼S·克斯坦蒂尼意法半导体国际公司
MEMS器件和制造MEMS器件的方法与流程 用于制造微电子机械结构元件的方法与流程
相关内容