MEMS器件和制造MEMS器件的方法与流程

本发明涉及mems器件和生产mems器件的方法。更具体地,本发明涉及包括两个器件层的mems器件和用于制造双层mems器件的方法。
背景技术:
1、使用硅基技术制造的微机电系统(mems)器件是广泛的。mems器件的典型应用是惯性传感器,其检测加速度和角速度中的至少一个。该类型的mems器件广泛用于消费、汽车和工业应用中。
2、mems器件中的电容感测通过检测由两个电极之间的距离变化引起的电容变化来实现。通常,在可移动电极与一个或更多个静态电极之间感测电容。
3、在用于惯性感测的典型电容mems器件中,在诸如处理晶片或盖晶片的衬底上设置静态电极。例如,可以在衬底晶片的表面上设置金属电极。mems器件经受各种应力源。在部件的封装期间,诸如模制的方法的一些步骤对衬底施加压力。不同的材料具有不同的热特性,并且因此,由于mems器件封装内的材料的热膨胀的差异,衬底也可能经受压力。mems器件也可能经受各种外力,从而引起衬底的形状的变化。使用mems器件的环境可能经受大的温度变化、振动、撞击等,所有这些都在mems器件上引起应力。当静态电极附接至衬底时,由应力引起的衬底的形式的任何变化也可能影响静态电极与相应的可移动电极之间的距离。这引起使电容感测的准确度劣化的风险。
4、在下面的描述中,将提及惯性mems传感器及其制造的问题。然而,本公开内容通常适用于其他类型的mems器件。例如,mems器件可以包括以下结构中的一个或更多个、单个或彼此组合:加速度计、陀螺仪、地震检波器、倾角仪和谐振器。此外,mems器件还可以是mems执行器。
5、相关技术的描述
6、专利申请us20200156930公开了具有中空体的双侧电容感测mems器件。该器件是通过多晶硅(poly-si)结构的外延生长制造的。制造绝缘体上硅(soi)结构的基本原理是在各向同性蚀刻步骤中使用诸如硅氧化物的绝缘体作为牺牲层。两个交叠层之间的间隙是通过设置在多晶硅层中的各向同性蚀刻孔来实现的。然而,多晶硅块的穿孔降低了测震质量和电容,并且因此,降低了传感器器件的灵敏度。
7、专利申请us20210363000a1公开了mems器件和用于制造mems器件的方法,其应用厚外延多晶硅的生长来确定两个结构层。
8、专利申请us20160090297a1公开了具有通过应力消除间隙与衬底层的其余部分分离的mems平台的soi mems器件以及用于制造这样的器件的方法。
技术实现思路
1、目的是提供方法和装置,以解决在应力影响mems器件的情况下提高mems器件的准确度的问题。本发明的目的是利用根据本公开内容的mems器件和制造mems器件的方法来实现的。
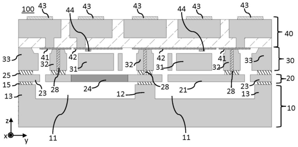
2、根据一方面,提供了一种微机电系统(mems)器件,包括至少一个电容电极对,至少一个电容电极对包括至少一个静态电极和至少一个可移动电极,所述器件按从下到上的顺序包括:处理层,包括至少一个腔和至少一个悬挂结构;第一器件层,包括至少一个静态电极;第二器件层,包括能够移动地悬挂在所述第一器件层上方的至少一个感震元件,其中,至少一个感震元件充当至少一个可移动电极,或者至少一个感震元件机械地耦接以与至少一个可移动电极一起移动,以及盖层,其中,通过设置在至少一个腔中的至少一个悬挂结构和/或设置在第二器件层中的至少一个悬挂结构,将至少一个静态电极悬挂在腔上方,并且其中,处理层、第一器件层、第二器件层和盖层、在处理层与第一器件层之间的第一电绝缘层以及在第一器件层与第二器件层之间的第二电绝缘层被配置成形成包括至少一个感震元件、至少一个静态电极和至少一个可移动电极的壳体的壁。
3、根据另一方面,提供了一种制造mems器件的方法,该方法包括:由单晶硅处理晶片形成所述处理层,处理层的形成包括形成至少一个腔并在处理层的第一面上同时形成至少一个悬挂结构,以及利用第一电绝缘层覆盖处理层的第一面;在第一单晶硅晶片上形成第二电绝缘层;在第二电绝缘层上熔融接合第二单晶硅晶片;由第二单晶硅晶片形成第一器件层,第一器件层的形成包括将第二单晶硅晶片减薄到第一厚度,以及借助于干法蚀刻形成延伸穿过第一器件层的多个第一沟槽,其中,第一器件层包括至少一个静态电极;在处理层的第一面上的第一电绝缘层上熔融接合第一器件层;由所述第二单晶硅晶片形成所述第二器件层,所述第二器件层的形成包括:将第一单晶硅晶片减薄到第二厚度,在第一单晶硅晶片中形成至少一个凹陷区域,以及对延伸穿过第一单晶硅晶片的多个第二沟槽进行干法蚀刻;通过利用氢氟酸hf气相蚀刻去除在第一电绝缘层和第二电绝缘层的厚度上的第一电绝缘层和第二电绝缘层的暴露部分来释放第一器件层和第二器件层的结构元件;以及通过将盖层接合在所述第二器件层的顶部上,将结构元件封闭在壳体内。
4、本发明基于在mems器件中具有两个悬挂器件层的构思:第一器件层包括悬挂的、非移动的结构元件,并且第二器件层包括悬挂的地震可移动块。第一器件层中的结构元件通过诸如锚的刚性悬挂结构悬挂至处理层和/或经由第二器件层悬挂至盖层。第一器件层包括用作静电电极的结构,并且第一器件层也可以用于电布线。第二器件层包括用作可移动电极的地震块和/或耦接至可移动电极的地震块。如本领域中已知的,地震块的悬挂通常包括诸如弹簧和梁的柔性悬挂结构,这样的柔性悬挂结构被设计成实现地震块的一个或更多个期望的移动方向,但抑制地震块的任何不期望的移动方向。两个器件层由单晶硅(mono-si)制成,使用绝缘体上硅soi工艺制造,该绝缘体上硅soi工艺利用蚀刻——优选地诸如深反应离子蚀刻(drie)等的干法蚀刻——来确定器件层中的功能元件。
5、本发明具有以下优点,双器件层结构通过在mems器件内设置机械稳定的结构,两个器件层结构提高了mems器件的准确度,同时本发明的器件结构还有利于高的设计灵活性和小的管芯面积。由于移动电极和静态电极两者可以实现与衬底(处理层和盖层)机械分离,因此影响衬底的应力不引起器件层中的结构元件的几何形状的变化。通过将两个器件层悬挂在横向共同锚定位置上,可以进一步提高对应力的灵敏度。可以设计和制造双硅器件分层设计的一些实施方式,而不需要器件层中的功能元件的穿孔,因此避免了由这样的穿孔引起的电容和质量的减小,这有利于mems器件的更高的电容和改善的灵敏度。
技术特征:
1.一种微机电系统mems器件,包括至少一个电容电极对,所述至少一个电容电极对包括至少一个静态电极和至少一个可移动电极,所述器件按从下到上的顺序包括:
2.根据权利要求1所述的微机电系统器件,其中,所述第一器件层和所述第二器件层两者包括单晶硅。
3.根据权利要求1或2所述的微机电系统器件,其中,所述第二器件层的厚度至少是所述第一器件层的厚度的两倍。
4.根据权利要求1至3中任一项所述的微机电系统器件,其中,所述第一电绝缘层和所述第二电绝缘层包括硅氧化物。
5.根据权利要求1至4中任一项所述的微机电系统器件,其中,存在至少在所述第一器件层与所述第二器件层之间延伸的至少一个多晶硅馈通件,用于将所述第一器件层的结构元件电耦接至所述第二器件层的结构元件和/或设置在所述盖层中的电连接件。
6.根据权利要求5所述的微机电系统器件,其中,还存在从所述第一器件层的结构元件的面朝向所述第二器件层的结构元件的相对面延伸的至少一个多晶硅凸起。
7.根据权利要求5或6所述的微机电系统器件,其中,已在所述至少一个多晶硅馈通件周围去除所述第二电绝缘层中的电绝缘材料,使得所述至少一个多晶硅馈通件是所述第一器件层和所述第二器件层的相应结构元件之间的唯一机械接触。
8.根据权利要求1至7中任一项所述的微机电系统器件,其中,所述第一器件层还包括被配置成提供电连接的至少一个信号承载梁。
9.根据权利要求1至8中任一项所述的微机电系统器件,还包括在所述第二器件层与所述盖层之间的金属接合层。
10.一种用于制造根据权利要求1至9中任一项所述的微机电系统器件的方法,所述方法包括:
11.根据权利要求10所述的方法,其中,所述方法包括:在在所述第二电绝缘层上熔融接合所述第二单晶硅晶片之前,预蚀刻所述第二电绝缘层以去除所述第二电绝缘层的至少一部分。
12.根据权利要求11所述的方法,其中,所述方法还包括:形成在所述第一器件层与所述第二器件层之间延伸的至少一个多晶硅馈通件,用于实现所述第一器件层与所述第二器件层之间的至少一个电连接。
13.根据权利要求12所述的方法,其中,所述至少一个多晶硅馈通件还穿过所述第一器件层,并且其中,所述至少一个多晶硅馈通件的生成包括:
14.根据权利要求13所述的方法,还包括:在所述第一器件层中生成至少一个运动限制凸起。
15.根据权利要求12所述的方法,其中,所述至少一个多晶硅馈通件还穿过所述第二器件层,并且其中,所述至少一个多晶硅馈通件的生成包括:
16.根据权利要求12至15中任一项所述的方法,其中,在释放结构元件的步骤期间,通过所述氢氟酸气相蚀刻整体去除所述第二绝缘层中在所述至少一个多晶硅馈通件附近的一部分,使得将所述第一器件层的结构元件电连接至所述第二器件层的结构元件的所述多晶硅馈通件保留为这些结构元件之间的唯一机械耦接。
17.根据权利要求10至15中任一项所述的方法,其中,将所述第一器件层的至少一个结构元件穿孔,以使得氢氟酸气相蚀刻能够释放包括在所述第二器件层中的至少一个感震元件。
18.根据权利要求10至17中任一项所述的方法,其中,所述方法还包括形成所述盖层,其中,所述盖层包括至少一个凸起,用于限制所述至少一个感震元件的移动。
19.根据权利要求10至18中任一项所述的方法,其中,所述方法还包括:在所述第二器件层与所述盖层之间施加金属接合层。
20.根据权利要求18或19所述的方法,其中,所述方法还包括:在所述盖层的面向所述第二器件层的面上形成至少一个腔。
技术总结
本发明涉及MEMS器件和制造MEMS器件的方法。该MEMS器件包括:处理层,包括至少一个腔和至少一个悬挂结构;第一器件层,包括至少一个静态电极;第二器件层,包括可移动地悬挂在第一器件层上方的至少一个感震元件;以及盖层。至少一个感震元件充当至少一个可移动电极,或者至少一个感震元件机械地耦接以与至少一个可移动电极一起移动。处理层、第一器件层、第二器件层和盖层、在处理层与第一器件层之间的第一电绝缘层以及在第一器件层与第二器件层之间的第二电绝缘层被配置成形成壳体,该壳体包括至少一个感震元件、至少一个静态电极和至少一个可移动电极。
技术研发人员:阿尔蒂·托尔凯利,福光政和,安斯·布卢姆奎斯特,马蒂·柳库,维莱-佩卡·吕特克宁,大川忠行,基尔皮宁·彼得里
受保护的技术使用者:株式会社村田制作所
技术研发日:
技术公布日:2024/8/27
技术研发人员:阿尔蒂·托尔凯利,福光政和,安斯·布卢姆奎斯特,马蒂·柳库,维莱-佩卡·吕特克宁,大川忠行,基尔皮宁·彼得里
技术所有人:株式会社村田制作所
备 注:该技术已申请专利,仅供学习研究,如用于商业用途,请联系技术所有人。
声 明 :此信息收集于网络,如果你是此专利的发明人不想本网站收录此信息请联系我们,我们会在第一时间删除
