用于制造微电子机械结构元件的方法与流程

本发明涉及一种用于制造微电子机械结构元件的方法。
背景技术:
1、从现有技术中已知用于制造微电子机械结构元件的方法。
技术实现思路
1、本发明的任务在于,给出一种改进的用于制造微电子机械结构元件的方法。该任务通过具有独立权利要求的特征的用于制造微电子机械结构元件的方法来解决。在从属权利要求中给出有利的扩展方案。
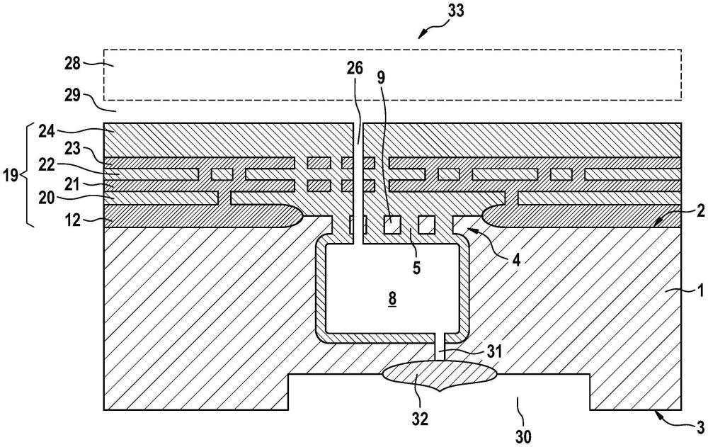
2、一种用于制造微电子机械结构元件的方法包括以下方法步骤。提供第一衬底,第一衬底具有上侧和与上侧相对置的下侧。在第一衬底的上侧上构造晶格结构。在第一衬底中以及晶格结构下方的区域中产生空腔,其中,晶格结构保留在第一衬底的上侧上并且跨越空腔。将封闭层布置在第一衬底的上侧上以及晶格结构的区域中,其中,气密地封闭所述空腔。将层序列布置在封闭层的背离第一衬底的一侧上以及空腔上方。通过使层序列结构化来构造和暴露微电子机械结构元件的功能结构。设立从层序列背离第一衬底的一侧穿过所述层序列延伸至空腔中的进入通道。将第二衬底布置在层序列的背离第一衬底的一侧上,并且使第一衬底和第二衬底彼此连接,其中,微电子机械结构元件的功能结构被气密地包封在构造在第一衬底与第二衬底之间的空穴中,并且该空穴经由进入通道与空腔连接。构造从第一衬底的下侧延伸至空腔中的通风结构。将介质引入到空穴中或者从空穴中去除介质,调设空穴内压,并且封闭在通风结构的区域中的空穴。
3、该方法基于以下思想:在第一衬底中的晶格结构下方设置空腔,该空腔能够实现气密地封闭该空穴。空腔提供了以下优点:除了空穴体积之外也提供空腔的体积,由此可以增加所包封的总体积。另一优点在于,通风结构构造在第一衬底的下侧上。由此,不必在第二衬底中设置通风结构。这是有利的,因为第二衬底可以具有专用集成电路,该专用集成电路使得难以或甚至不能构造通风结构或者说通风通路。
4、在一个实施方式中,通风结构布置在第一衬底的下侧上的挖深部中以及空腔的区域中。由此,mems结构元件在第一衬底的下侧上不具有取决于封闭部的粗糙度,并且可以有利地保护该密封部在后续工艺中免受机械损坏。
5、在一个实施方式中,通过使第一衬底的上侧结构化和/或通过在第一衬底的上侧上设立槽口来构造晶格结构,用填料填充所述槽口,并且使填料结构化。有利地,晶格结构不必所需要地具有第一衬底的材料和/或结晶度/结晶程度。例如,第一衬底可以具有单晶硅,而晶格结构具有用作填料的多晶硅。
6、在一个实施方式中,在将填料布置在槽口中之前,至少在槽口的底部处布置有蚀刻停止层。有利地,通过设置蚀刻停止层可以避免对晶格结构的蚀刻攻击,所述蚀刻攻击可发生在晶格结构的背离第一衬底的上侧的一侧上。
7、在一个实施方式中,层序列的布置包括在构造晶格结构之前的制造工艺和/或工艺步骤,在该制造工艺和/或工艺步骤的框架中将第一介电层布置在第一衬底的上侧上。第一介电层具有另一槽口。晶格结构构造在所述第一介电层的另一槽口的区域中。
8、在一个实施方式中,在构造晶格结构之前,在第一衬底的上侧上以及另一槽口的区域中产生沉降部。有利地,所述沉降部实现了空腔的密封点可以相对于第一衬底的上侧降低。在可选的后续平坦化步骤的情况下,以这种方式降低了再次打开空腔的风险。
9、在一个实施方式中,晶格结构的构造借助布置在第一衬底的上侧上的蚀刻掩模来实现。在布置封闭层之前,从第一衬底的上侧去除蚀刻掩模。作为蚀刻掩模可以例如使用光刻胶掩模或氧化物掩模。相对于光刻胶掩模,氧化物掩模提供了在产生空腔时提高抗蚀刻性的优点。由此可以构造较深的空腔。氧化物掩模的材料可以包含硅和氧。
10、在一个实施方式中,将另一填料至少区段地布置在第一介电层与蚀刻掩模之间且至少区段地布置在第一介电层的另一槽口中。在构造晶格结构之前和/或在构造晶格结构时,可以使所述另一填料结构化。为了制造平坦的表面,在用另一填料填充之后可以执行化学机械抛光步骤(cmp步骤)。有利地,蚀刻停止层可以使得能够在产生空腔时减少/避免对填料的影响,例如其层厚度的变化。
11、在一个实施方式中,在产生空腔之前,借助保护层使晶格结构的横向侧壁钝化。由此,尤其在用于在晶格结构下方产生深空腔的长蚀刻时间中,可以有利地避免对晶格结构的横向蚀刻攻击。
12、在一个实施方式中,在布置封闭层之后,进行第一衬底的退火。有利地,由此可以降低在空腔的内壁部的区域以及晶格结构和封闭层的区域中的粗糙度。此外,通过第一衬底的退火可以在这些区域中提高结晶度。
技术特征:
1.一种用于制造微电子机械结构元件(33)的方法,所述方法具有以下方法步骤:
2.根据权利要求1所述的方法,
3.根据权利要求1或2所述的方法,
4.根据权利要求3所述的方法,
5.根据前述权利要求中任一项所述的方法,
6.根据权利要求5所述的方法,
7.根据前述权利要求中任一项所述的方法,
8.根据权利要求5和6中任一项且根据权利要求7所述的方法,
9.根据权利要求8所述的方法,
10.根据前述权利要求中任一项所述的方法,
11.根据前述权利要求中任一项所述的方法,
技术总结
一种用于制造微电子机械结构元件(33)的方法,其包括以下方法步骤。在第一衬底(1)的上侧(2)上构造晶格结构(4)。在第一衬底(1)中以及晶格结构(4)下方的区域中产生空腔(8),晶格结构(4)保留在所述上侧(2)上并且跨越空腔(8)。将封闭层(11)布置在所述晶格结构(4)的区域中,封闭所述空腔(8)。将层序列(19)布置在封闭层(11)上以及空腔(8)上方。通过使层序列(19)结构化来构造功能结构。设立穿过层序列(19)延伸至空腔(8)的进入通道(26)。将第二衬底(28)与第一衬底(1)连接,使得将功能结构包封在空穴(29)中,所述空穴经由进入通道(26)与空腔(8)连接。
技术研发人员:H·韦伯,P·施莫尔格鲁贝尔
受保护的技术使用者:罗伯特·博世有限公司
技术研发日:
技术公布日:2024/8/27
技术研发人员:H·韦伯,P·施莫尔格鲁贝尔
技术所有人:罗伯特·博世有限公司
备 注:该技术已申请专利,仅供学习研究,如用于商业用途,请联系技术所有人。
声 明 :此信息收集于网络,如果你是此专利的发明人不想本网站收录此信息请联系我们,我们会在第一时间删除
