一种电力电缆装置的制作方法

本发明涉及电力电缆技术领域,特别是一种电力电缆装置。
背景技术:
电缆是电力建设的重要组成部分之一,为方便电缆运输,生产完成后都要进行卷盘,以节约储藏空间。目前的电缆卷盘机结构都比较单一,功能较少,使用效果不佳,给生产作业带来许多麻烦,并且在卷电缆时,电缆中间容易下垂,使得卷盘受到阻力,影响效率,且现有的卷盘机只有一种卷盘距离,距离过大需要中停拉紧电缆再重新卷盘,费时费力。
技术实现要素:
本发明所要解决的技术问题是提供一种电力电缆装置,其能够解决上述现在技术中的问题。
本发明是通过以下技术方案来实现的:本发明的一种电力电缆装置,包括台体以及固定在所述台体左侧上侧面的电缆架,所述台体左侧内部设有前后伸长设置的第一容腔,所述第一容腔右侧的所述台体内设有上下相应且左右伸长设置的导引槽,每个所述导引槽左侧末梢与所述第一容腔右侧之间均设有隔离板,每个所述隔离板内均设有槽孔,每个所述槽孔内均配合设有向左右两侧伸长设置的第一螺形杆,所述第一螺形杆左侧伸长末梢探入所述第一容腔内且与所述第一容腔左侧内壁转绕配合连接,所述第一螺形杆右侧伸长末梢探入所述导引槽内且与所述导引槽右侧内壁转绕配合连接,所述第一容腔内的每个所述第一螺形杆上均固定设有蜗轮,每个所述蜗轮顶部均配合连接有蜗杆,所述蜗杆上固定设有前后伸长设置的转绕轴,所述第一容腔左侧内壁设有槽眼,所述槽眼左侧设有向前伸长设置滑接腔,所述第一容腔前侧的所述台体内设有第二容腔,所述第二容腔内设有转化连接装置,所述第二容腔前侧的所述台体内设有左侧与所述滑接腔前侧相穿通设置的连接腔,所述滑接腔内的所述导引块,所述导引块内设有螺形纹配合连接的第二螺形杆,所述槽眼内设有左侧末梢与所述导引块后侧部固定连接的第一滑接块,所述连接腔内设有左侧末梢与所述导引块前侧部固定连接的第二滑接块,所述第二容腔与所述连接腔之间的所述台体内设有连接动力装置,所述台体左右两端分别固定设置有安装脚垫,所述安装脚垫与所述台体为一体式结构,所述安装脚垫中部设置有螺丝槽。
作为优选地技术方案,所述电缆架内设有卷盘轴,所述卷盘轴前后两侧末梢均设有与所述电缆架前后两侧转绕配合连接的第一转绕轴,前侧所述第一转绕轴穿通所述电缆架前侧面外且末梢固定设有第一转化轮。
作为优选地技术方案,所述转绕轴前侧末梢与所述第一容腔前侧内壁转绕配合连接,所述转绕轴后侧末梢与所述第一容腔后侧内壁转绕配合连接。
作为优选地技术方案,所述第二螺形杆左侧末梢与第一动力装置配合连接,所述第一动力装置外表面设置于所述滑接腔左侧内壁内且固定连接,所述第二螺形杆右侧末梢与所述滑接腔右侧内壁转绕配合连接。
作为优选地技术方案,所述第一滑接块右侧面内设有第二动力装置,所述第二动力装置右侧配合连接有第一锥形轮,所述第一锥形轮右侧相对的所述转绕轴外表面固定设有用以与所述第一锥形轮配合连接的第二锥形轮,所述第二滑接块后侧面内设有斜坡面滑接槽。
作为优选地技术方案,所述转化连接装置由前后相应固定在所述第二容腔内底壁的竖架以及转绕配合连接在两组所述竖架之间的转绕筒套,两组所述竖架之间的所述转绕筒套外表面固定设有第二转化轮,所述第二转化轮与所述第一转化轮之间设有转化带,所述转绕筒套内设有卡接槽。
作为优选地技术方案,所述连接动力装置由第一滑接槽、设置在所述第一滑接槽左右两侧内壁的第一导引槽以及设置在所述第一滑接槽内且滑接的第三滑接块组成,两侧所述第一导引槽内分别设有与所述第三滑接块左右两侧外壁固定连接的第一导引块,所述第一导引块后侧的所述第一导引槽内设有第一簧件,所述第三滑接块后侧内壁内固定设有第三动力装置,所述第三动力装置后侧配合连接有探入所述第二容腔内的卡接轴,所述第三滑接块前侧设有探入所述连接腔内且与所述斜坡面滑接槽滑接配合的凸端部。
作为优选地技术方案,每个所述导引槽内的所述第一螺形杆上均设有螺形纹配合连接的导引块,所述导引块顶部设有滑接架,所述滑接架上侧面设有前后相应设置的竖架,所述竖架相对侧均设有第二滑接槽,每个所述第二滑接槽内均设有滑接支撑块,每个所述滑接支撑块底侧的所述第二滑接槽内设有第二簧件,两组所述滑接支撑块之间转绕配合连接有第一导电缆轴,所述第一导电缆轴顶部配合连接有前后两侧末梢与前后所述竖架内壁转绕配合连接的第二导电缆轴。
本发明的有益效果是:1.通过第一螺形杆左侧伸长末梢探入第一容腔内且与第一容腔左侧内壁转绕配合连接,第一螺形杆右侧伸长末梢探入导引槽内且与导引槽右侧内壁转绕配合连接,第一容腔内的每个第一螺形杆上均固定设蜗轮,每个蜗轮顶部均配合连接蜗杆,蜗杆上固定设前后伸长设置的转绕轴,从而实现自动控制前后第一螺形杆的同时转化工作,提高滑接架滑接稳定性。
2.通过第二容腔内设转化连接装置,第二容腔前侧的台体内设左侧与滑接腔前侧相穿通设置的连接腔,滑接腔内的导引块,导引块内设螺形纹配合连接的第二螺形杆,槽眼内设左侧末梢与导引块后侧部固定连接的第一滑接块,连接腔内设左侧末梢与导引块前侧部固定连接的第二滑接块,第二容腔与连接腔之间的台体内设连接动力装置,从而实现卷盘电缆的自动连接以及配合工作,提高本装置的卷盘电缆稳定性以及实现自动控制收卷,提高工作效率。
3.通过第一滑接块右侧面内设第二动力装置,第二动力装置右侧配合连接第一锥形轮,第一锥形轮右侧相对的转绕轴外表面固定设用以与第一锥形轮配合连接的第二锥形轮,第二滑接块后侧面内设斜坡面滑接槽,从而实现自动控制导引块的左右滑接工作,实现根据电缆收卷的直径大小进行自动调节电缆的支撑距离,如果电缆支撑距离过长容易在自身的重力作用下下垂,如果电缆支撑距离过短容易在卷盘轴的拉扯下造成电缆损伤。
4.本发明结构简单,能实现自动控制调节电缆的支撑距离,提高收卷的收卷质量,能实现自动卷盘电缆工作,提高卷盘电缆效率,通过第一导电缆轴与第二导电缆轴的弹性压紧配合,从而实现收卷的规整性,提高卷盘电缆质量。
附图说明
为了易于说明,本发明由下述的具体实施例及附图作以详细描述。
图1为本发明的一种电力电缆装置外部结构示意图;
图2为本发明的台体内部结构示意图;
图3为本发明的第一导电缆轴和第二导电缆轴的分布结构示意图;
图4为本发明的卡接轴与卡接槽完全配合连接时的结构示意图;
图5为本发明的安装脚垫的结构示意图。
具体实施方式
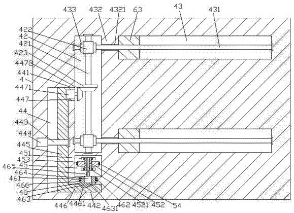
如图1-图5所示,本发明的一种电力电缆装置,包括台体4以及固定在所述台体4左侧上侧面的电缆架5,所述台体4左侧内部设有前后伸长设置的第一容腔42,所述第一容腔42右侧的所述台体4内设有上下相应且左右伸长设置的导引槽43,每个所述导引槽43左侧末梢与所述第一容腔42右侧之间均设有隔离板432,每个所述隔离板432内均设有槽孔4321,每个所述槽孔4321内均配合设有向左右两侧伸长设置的第一螺形杆431,所述第一螺形杆431左侧伸长末梢探入所述第一容腔42内且与所述第一容腔42左侧内壁转绕配合连接,所述第一螺形杆431右侧伸长末梢探入所述导引槽43内且与所述导引槽43右侧内壁转绕配合连接,所述第一容腔42内的每个所述第一螺形杆431上均固定设有蜗轮433,每个所述蜗轮433顶部均配合连接有蜗杆422,所述蜗杆422上固定设有前后伸长设置的转绕轴421,所述第一容腔42左侧内壁设有槽眼441,所述槽眼441左侧设有向前伸长设置滑接腔44,所述第一容腔42前侧的所述台体4内设有第二容腔45,所述第二容腔45内设有转化连接装置,所述第二容腔45前侧的所述台体4内设有左侧与所述滑接腔44前侧相穿通设置的连接腔442,所述滑接腔44内的所述导引块445,所述导引块445内设有螺形纹配合连接的第二螺形杆443,所述槽眼441内设有左侧末梢与所述导引块445后侧部固定连接的第一滑接块447,所述连接腔442内设有左侧末梢与所述导引块445前侧部固定连接的第二滑接块446,所述第二容腔45与所述连接腔442之间的所述台体4内设有连接动力装置,所述台体4左右两端分别固定设置有安装脚垫401,所述安装脚垫401与所述台体4为一体式结构,所述安装脚垫401中部设置有螺丝槽402。
其中,所述电缆架5内设有卷盘轴51,所述卷盘轴51前后两侧末梢均设有与所述电缆架5前后两侧转绕配合连接的第一转绕轴53,前侧所述第一转绕轴53穿通所述电缆架5前侧面外且末梢固定设有第一转化轮52,从而实现收卷转化配合连接,实现自动控制收卷工作,提高工作效率。
其中,所述转绕轴421前侧末梢与所述第一容腔42前侧内壁转绕配合连接,所述转绕轴421后侧末梢与所述第一容腔42后侧内壁转绕配合连接。
其中,所述第二螺形杆443左侧末梢与第一动力装置444配合连接,所述第一动力装置444外表面设置于所述滑接腔44左侧内壁内且固定连接,所述第二螺形杆443右侧末梢与所述滑接腔44右侧内壁转绕配合连接,从而实现自动控制收卷连接以及卷盘电缆支撑调节的动力切换。
其中,所述第一滑接块447右侧面内设有第二动力装置4471,所述第二动力装置4471右侧配合连接有第一锥形轮4472,所述第一锥形轮4472右侧相对的所述转绕轴421外表面固定设有用以与所述第一锥形轮4472配合连接的第二锥形轮423,所述第二滑接块446后侧面内设有斜坡面滑接槽4461,从而实现自动控制导引块63的左右滑接工作,实现根据电缆收卷的直径大小进行自动调节电缆的支撑距离,如果电缆支撑距离过长容易在自身的重力作用下下垂,如果电缆支撑距离过短容易在卷盘轴51的拉扯下造成电缆损伤。
其中,所述转化连接装置由前后相应固定在所述第二容腔45内底壁的竖架451以及转绕配合连接在两组所述竖架451之间的转绕筒套452,两组所述竖架451之间的所述转绕筒套452外表面固定设有第二转化轮453,所述第二转化轮453与所述第一转化轮52之间设有转化带54,所述转绕筒套452内设有卡接槽4521,从而通过第二转化轮453与第一转化轮52之间配合连接的转化带54,实现第二转化轮453对第一转化轮52上的卷盘轴51进行转化连接。
其中,所述连接动力装置由第一滑接槽46、设置在所述第一滑接槽46左右两侧内壁的第一导引槽461以及设置在所述第一滑接槽46内且滑接的第三滑接块463组成,两侧所述第一导引槽461内分别设有与所述第三滑接块463左右两侧外壁固定连接的第一导引块466,所述第一导引块466后侧的所述第一导引槽461内设有第一簧件462,所述第三滑接块463后侧内壁内固定设有第三动力装置464,所述第三动力装置464后侧配合连接有探入所述第二容腔45内的卡接轴465,所述第三滑接块463前侧设有探入所述连接腔442内且与所述斜坡面滑接槽4461滑接配合的凸端部4631,从而实现自动切换第三动力装置464与第二转化轮453的动力配合连接,提高工作效率。
其中,每个所述导引槽43内的所述第一螺形杆431上均设有螺形纹配合连接的导引块63,所述导引块63顶部设有滑接架61,所述滑接架61上侧面设有前后相应设置的竖架62,所述竖架62相对侧均设有第二滑接槽621,每个所述第二滑接槽621内均设有滑接支撑块622,每个所述滑接支撑块622底侧的所述第二滑接槽621内设有第二簧件623,两组所述滑接支撑块622之间转绕配合连接有第一导电缆轴65,所述第一导电缆轴65顶部配合连接有前后两侧末梢与前后所述竖架62内壁转绕配合连接的第二导电缆轴64,从而实现收卷的规整性,提高卷盘电缆质量。
初始状态时,导引块63位于导引槽43内的最左侧位置,此时,导引块445位于滑接腔44内的最右侧位置,使导引块445带动后侧的第一滑接块447完全探入槽眼441内,同时,导引块445右侧的第一锥形轮4472最大程度探入第一容腔42内且第一锥形轮4472右后侧与第二锥形轮423左前侧啮合连接,此时,导引块445带动前侧的第二滑接块446完全探入连接腔442内,同时,第三滑接块463左右两侧的第一导引块466受到第一簧件462的顶压力,使第一导引块466位于第一导引槽461内的最前侧位置,同时,使第三滑接块463前侧的凸端部4631完全位于斜坡面滑接槽4461内,此时,第三滑接块463后侧面的卡接轴465最大程度远离转绕筒套452内的卡接槽4521。
当需要调节卷盘电缆支撑距离以及卷盘电缆时,首先通过第二动力装置4471带动第一锥形轮4472转绕,由第一锥形轮4472带动第二锥形轮423以及第二锥形轮423上的转绕轴421转绕,进而由转绕轴421带动前后两侧的蜗杆422,然后由前后两侧的蜗杆422分别带动前后两侧的蜗轮433以及蜗轮433上的第一螺形杆431转绕,进而由前后两侧的第一螺形杆431分别带动前后两侧导引槽43内的导引块63逐渐沿导引槽43右侧方向滑接,直至调节到指定位置,然后控制第二动力装置4471停止转绕,此时,通过第一动力装置444带动第二螺形杆443转绕,同时,由第二螺形杆443带动导引块445逐渐沿滑接腔44左侧方向滑接,此时,导引块445带动后侧的第一滑接块447向滑接腔44左侧内滑接逐渐滑离槽眼441内,同时,第一滑接块447带动第一锥形轮4472脱离第二锥形轮423且逐渐远离第二锥形轮423,此时,导引块445带动前侧的第二滑接块446向左侧滑接,同时,由斜坡面滑接槽4461内的斜坡面与凸端部4631内的斜坡面滑接顶压配合,使第三滑接块463左右两侧的第一导引块466逐渐克服第一簧件462内的顶压力向后侧滑接,直至如图4所示导引块445滑接到滑接腔44内的最左侧位置时,此时,导引块445后侧的第一滑接块447完全滑入滑接腔44内,同时,第一滑接块447右侧的第一锥形轮4472最大程度远离第二锥形轮423,此时,导引块445前侧的第二滑接块446最大程度探入滑接腔44内,同时,第二滑接块446上斜坡面滑接槽4461右侧的后侧面与第三滑接块463前侧面滑接,此时,第三滑接块463克服第一簧件462的顶压力,使第三滑接块463后侧最大程度探入第二容腔45内,同时,使第三滑接块463后侧的卡接轴465最大程度探入卡接槽4521内,此时,通过第三动力装置464带动卡接轴465转绕,进而由卡接轴465带动转绕筒套452以及转绕筒套452外表面上的第二转化轮453转绕,通过第二转化轮453上的转化带54带动第一转化轮52转绕,进而由第一转化轮52带动第一转绕轴53以及第一转绕轴53上的卷盘轴51转绕,实现自动收卷。
本发明的有益效果是:
1.通过第一螺形杆左侧伸长末梢探入第一容腔内且与第一容腔左侧内壁转绕配合连接,第一螺形杆右侧伸长末梢探入导引槽内且与导引槽右侧内壁转绕配合连接,第一容腔内的每个第一螺形杆上均固定设蜗轮,每个蜗轮顶部均配合连接蜗杆,蜗杆上固定设前后伸长设置的转绕轴,从而实现自动控制前后第一螺形杆的同时转化工作,提高滑接架滑接稳定性。
2.通过第二容腔内设转化连接装置,第二容腔前侧的台体内设左侧与滑接腔前侧相穿通设置的连接腔,滑接腔内的导引块,导引块内设螺形纹配合连接的第二螺形杆,槽眼内设左侧末梢与导引块后侧部固定连接的第一滑接块,连接腔内设左侧末梢与导引块前侧部固定连接的第二滑接块,第二容腔与连接腔之间的台体内设连接动力装置,从而实现卷盘电缆的自动连接以及配合工作,提高本装置的卷盘电缆稳定性以及实现自动控制收卷,提高工作效率。
3.通过第一滑接块右侧面内设第二动力装置,第二动力装置右侧配合连接第一锥形轮,第一锥形轮右侧相对的转绕轴外表面固定设用以与第一锥形轮配合连接的第二锥形轮,第二滑接块后侧面内设斜坡面滑接槽,从而实现自动控制导引块的左右滑接工作,实现根据电缆收卷的直径大小进行自动调节电缆的支撑距离,如果电缆支撑距离过长容易在自身的重力作用下下垂,如果电缆支撑距离过短容易在卷盘轴的拉扯下造成电缆损伤。
4.本发明结构简单,能实现自动控制调节电缆的支撑距离,提高收卷的收卷质量,能实现自动卷盘电缆工作,提高卷盘电缆效率,通过第一导电缆轴与第二导电缆轴的弹性压紧配合,从而实现收卷的规整性,提高卷盘电缆质量。
以上所述,仅为本发明的具体实施方式,但本发明的保护范围并不局限于此,任何不经过创造性劳动想到的变化或替换,都应涵盖在本发明的保护范围之内。因此,本发明的保护范围应该以权利要求书所限定的保护范围为准。
技术研发人员:俞岳田
技术所有人:俞岳田
备 注:该技术已申请专利,仅供学习研究,如用于商业用途,请联系技术所有人。
声 明 :此信息收集于网络,如果你是此专利的发明人不想本网站收录此信息请联系我们,我们会在第一时间删除
