一种便于上下料的卷绕装置的制作方法

本发明涉及卷绕传动领域,特别涉及一种便于上下料的卷绕装置。
背景技术:
目前,针对市场上的电子包装类材料、铜箔铝箔、纸张、硅胶、泡棉等细密度进口材料分切超窄宽度、长米数,需要使用塑料挡盘来控制边缘系数、缠绕端面平整度、精密度,但是这种收卷机构控制难度高,当超窄宽度的材料卷绕到收卷盘边缘时,由于偏转角度问题,材料到达收卷盘边缘排线会出现不整齐,端面差,层次不齐,精度无法保证,往往无法达到市场需要。
另外的,工人在上料时,需要一只手将压轮抬起后,将绕线绕在滚轮上,这样操作繁琐,而且不方便对绕线位置进行调整,有的企业选择气缸控制压轮的压制和张开,这样需要同时配备气源并且需要控制系统控制汽缸的工作,还需要单独设置气缸支架,位置设置要求高,占用空间大,制作成本高,操作不方便,日常维护成本大。
因此,一种精确定位收卷盘结构、解决卷绕材料缠绕一系列不良等问题的收卷装置亟待开发。
技术实现要素:
针对以上现有技术存在的缺陷,本发明的主要目的在于克服现有技术的不足之处,公开了一种便于上下料的卷绕装置,包括收卷装置、压轮装置、机台,其中,所述收卷装置与压轮装置设置在所述机台上,绕线通过所述压轮装置后经收卷装置进行卷绕;
收卷装置包括压轮臂、大压轮、收卷轴、收卷盘,其中,所述收卷轴设置在所述机台上,所述收卷盘套装在所述收卷轴上,所述压轮臂的一端通过轴与所述机台旋转连接,所述大压轮设置在所述压轮臂的另一端,所述大压轮压在所述收卷盘的盘芯上。
压轮装置包括压轮、压臂、吸附装置、吸附支架、导轮架、支架导轮,其中,所述压臂的一端与所述导轮架的一端通过轴相连接,所述压臂的另一端设置所述压轮,所述导轮架上竖直设置有所述支架导轮,所述吸附支架的一端设置在所述导轮架上,另一端设置有所述吸附装置。
进一步地,所述压轮臂能够调整前后位置。
进一步地,所述收卷盘的盘壁的外边缘始终不触碰到所述压轮臂。
进一步地,所述大压轮的轴向距离等于所述收卷盘的盘芯的轴向距离。
进一步地,所述压轮的一侧设置有导轮。
进一步地,所述压轮的表面设置有定位槽。
进一步地,还包括定位轮,所述定位轮的表面设置有定位槽。
进一步地,所述吸附装置为吸盘。
进一步地,所述吸附装置为磁铁。
进一步地,磁铁设置在压臂的上方或者设置在压臂的侧边。
本发明取得的有益效果:
1.通过单独设置大压轮压在收卷盘上,可以使得卷绕更加均匀平整,大压轮直径大,绕线包角大,绕线在大压轮表面附着力高,特别是由于大压轮压在收卷盘的盘芯上,并且轴向距离与收卷盘的盘芯的轴向距离相同,保证了卷绕材料能顺利卷绕到收卷盘边缘,在拐角处排线整齐,端面平整,有层次感,大大提高了产品的精度和合格率。
2.通过设置定位槽,可以在工作时更好地对绕线进行控制,设置吸附装置可以方便工人对压臂进行操作,节约了空间和制造成本,而且设计简单,操作方便可靠。
附图说明
图1为本发明一种便于上下料的卷绕装置工作时的状态图;
图2为本发明一种便于上下料的卷绕装置的收卷装置位置关系示意图;
图3为本发明一种便于上下料的卷绕装置非工作时的状态图;
附图标记如下:
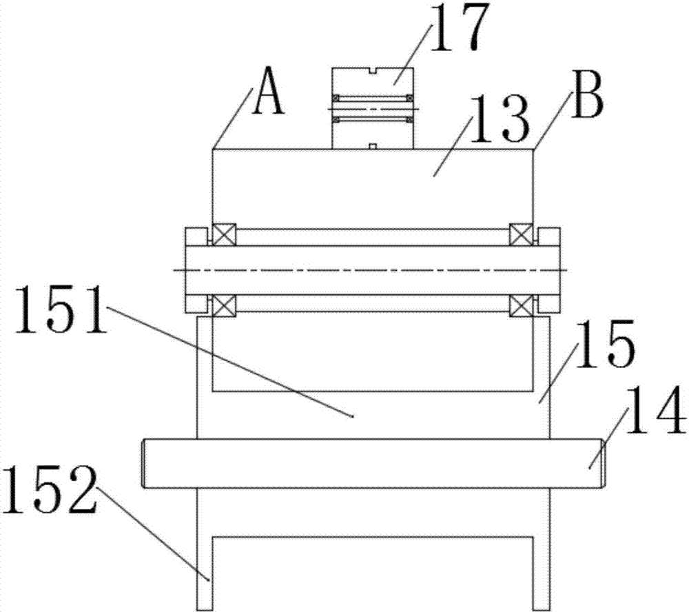
1、收卷装置,2、压轮装置,3、机台,12、压轮臂,13、大压轮,14、收卷轴,15、收卷盘,51、盘芯,152、盘壁,21、压轮,22、压臂,23、导轮,24、吸附装置,25、吸附支架,26、导轮架,27、定位轮,28、支架导轮。
具体实施方式
为了使本发明的目的、技术方案及优点更加清楚明白,下面结合附图及实施例对本发明作进一步详细说明。应当理解,此处所描述的具体实施例仅用以解释本发明,并不用于限定本发明。
本发明的一种便于上下料的卷绕装置包括收卷装置1,压轮装置2,机台3,其中,所述收卷装置1与压轮装置2设置在所述机台3上,绕线通过所述压轮装置2后经收卷装置1进行卷绕;
收卷装置包括压轮臂12,大压轮13,收卷轴14,收卷盘15,其中,
参照图1和图2所示,所述收卷轴14设置在所述机台3上,所述收卷盘15套装在所述收卷轴14上,所述压轮臂12的一端通过轴与所述机台3连接并且可以绕轴进行旋转,所述大压轮13设置在所述压轮臂12的另一端,并且所述大压轮13通过所述压轮臂12绕轴旋转压在所述收卷盘15的盘芯151上,所述大压轮13与所述收卷盘15的盘芯151外切;优选的,所述压轮臂12可以调整前后位置,用于调整大压轮13与所述收卷盘15的相对位置,使大压轮13可以压在所述收卷盘15的盘芯151上,并根据卷绕材料的不同形成不同的切角;为了卷绕顺利,所述收卷盘15的盘壁152的外边缘始终不触碰到所述压轮臂12;优选的,所述大压轮13的轴向距离与所述收卷盘15的盘芯151的轴向距离相同的情况下,卷绕材料能顺利卷绕到收卷盘边缘,在拐角处排线整齐,端面平整;当所述大压轮13的直径大于所述收卷盘15的盘壁152的直径时,由于大压轮13直径大,绕线包角大,绕线在大压轮13表面附着力高,不会松脱,绕线精密度更高。
压轮装置包括压轮21,压臂22,吸附装置24,吸附支架25,导轮架26,支架导轮28,其中,所述压臂22的一端与所述导轮架26的一端通过轴相连接,并且所述压臂22可以绕轴旋转,所述压臂22的另一端设置所述压轮21,优选的,在所述压轮21的一侧设置有导轮23;所述导轮架26上竖直设置有所述支架导轮28,所述吸附支架25的一端设置在所述导轮架26上,另一端设置有所述吸附装置24。
由于在工作时,轴带动所述压臂22和导轮架26水平往复移动,为了更好的使绕线随着轴的移动而移动,优选的,所述压轮21的表面设置有定位槽,将绕线嵌于定位槽内能够更好的控制绕线移动;另一优选的,还包括定位轮27,所述定位轮27的表面设置有定位槽,绕线通过定位槽进行水平往复移动时,定位槽的槽壁给绕线一个水平移动的力。
所述吸附装置24可以为吸盘,非工作时,只需要将压臂绕轴旋转抬起,使其碰到吸盘吸住,工作时,仅需要用力下拉即可;为了使吸附力更加强,吸附更稳定,优选的,所述吸附装置24可以是磁铁,非工作时,只需要将压臂绕轴旋转抬起,磁铁的吸力会将压臂吸住,工作时,仅需要用力下拉即可。优选的,磁铁可以设置在压臂22的上方,也可以设置在压臂22的侧边。
本发明在使用时,绕线经过压轮装置2,至压轮21的下表面后再经大压轮13,绕大压轮13逆时针穿过大压轮13与收卷盘15的相切位置,靠大压轮13与压轮21臂自重,将绕线压紧在收卷盘15上,压臂22以轴旋转使压轮21与大压轮13外切,启动机器开始卷绕,收卷轴14带动收卷盘15顺时针旋转,同时,压臂22、定位轮27、压轮21作为一个整体相对大压轮13做轴向移动,在a和b之间往复移动,直至卷绕完毕。
当工作时,只需要将压臂22拉下使其脱离吸附装置,放置在大压轮13上;非工作时,只需要将压臂22绕轴旋转抬起,使其碰到吸附装置24吸住即可。
以上仅为本发明的较佳实施例,并非用来限定本发明的实施范围;如果不脱离本发明的精神和范围,对本发明进行修改或者等同替换,均应涵盖在本发明权利要求的保护范围当中。
技术研发人员:张建浩
技术所有人:太仓鸿海精密机械有限公司
备 注:该技术已申请专利,仅供学习研究,如用于商业用途,请联系技术所有人。
声 明 :此信息收集于网络,如果你是此专利的发明人不想本网站收录此信息请联系我们,我们会在第一时间删除
