一种新型电力电缆设备的制作方法

本发明涉及电力电缆技术领域,一种新型电力电缆设备。
背景技术:
为方便运输以及电力作业,电缆制造完成后需要进行缠卷,成为成卷的电缆线圈。传统的缠卷方式不够稳定,效率低,而且缠卷过程不够安全,不能适应不同尺寸的卷盘进行缠卷,更换空卷盘步骤较繁琐,效率低下。
技术实现要素:
本发明所要解决的技术问题是提供一种新型电力电缆设备,其能够解决上述现在技术中的问题。
本发明是通过以下技术方案来实现的:本发明的一种新型电力电缆设备,包括基架以及设置在所述基架顶部且左右相称设置的卷电缆装置,每个所述卷电缆装置包括设置在左侧的支承柱、设置在右侧的调试柱以及设置在所述支承柱与所述调试柱之间的卷盘,所述基架内左右相称设有左右延展设置的导滑腔,每个所述导滑腔顶部均相通设有沿所述导滑腔顶部左右两侧延展设置的过槽,每个所述过槽右侧延展段顶部相通设有导滑槽,所述导滑腔内平滑配合连接有第一滑块,所述第一滑块顶部左侧设有伸进所述过槽内的凸缘块,所述第一滑块内螺线纹配合连接有左右延展设置的第一螺杆,每个所述导滑腔左侧的所述基架内均设有传导腔,每个所述传导腔右侧内壁上回旋配合连接第一锥面轮,每个所述传导腔内底面均设有右侧上侧与所述第一锥面轮左侧下侧齿合连接的第二锥面轮,左侧所述导滑腔下侧的所述基架内设有左右延展设置的滑腔,所述滑腔左侧延展段位于左侧所述传导腔下侧位置,所述滑腔右侧延展段位于右侧所述传导腔下侧位置,所述滑腔内顶部中端位置设有滑槽,所述滑腔内设有第二滑块,所述第二滑块顶部中端位置固定设置有向上延展设置的第三滑块,所述第三滑块顶部延展段伸进所述滑槽内且平滑配合连接,所述滑槽内设有左右延展设置且与所述第三滑块螺线纹配合连接的第二螺杆,所述第二滑块左右两侧顶部固定设有支承杆,所述滑腔内的所述第三滑块内设有第一电动机,所述第一电动机左右两侧均配合连接有旋轴,所述支承柱底部与所述基架顶部固定连接,所述支承柱右侧面内设有第二电动机,所述基架上顶面右侧边缘处设置有紧急按钮,所述紧急按钮与所述第二电动机电力连接,所述第一电动机外表面设置有降温缓震装置。
作为优选地技术方案,所述第二电动机右侧配合连接有伸出所述支承柱右侧面外的第一卡紧件,所述第一卡紧件相对的所述调试柱左侧面内回旋配合连接第二卡紧件。
作为优选地技术方案,每个所述导滑槽右侧内壁内均设有凹槽,所述凹槽右侧内壁固定设置有向左侧延展设置的导滑杆,所述导滑杆左侧延展段伸进所述导滑槽内且与所述导滑槽左侧内壁固定连接,所述调试柱底部穿过所述导滑槽后伸进所述过槽内,所述导滑槽内的所述调试柱与所述导滑杆平滑配合连接,所述调试柱右侧的所述导滑杆外表面设有弹性件。
作为优选地技术方案,每个所述第一螺杆左侧延展段分别穿透每个所述导滑腔左侧内壁且回旋配合连接,所述第一螺杆左侧尾端伸进所述传导腔内且与所述第一锥面轮右侧固定连接,所述第一螺杆右侧与所述传导腔右侧内壁回旋配合连接。
作为优选地技术方案,所述第二螺杆左侧与所述滑槽左侧内壁回旋配合连接,所述第二螺杆右侧与第三电动机配合连接,所述第三电动机外表面设置于所述滑槽右侧内壁内且固定连接。
作为优选地技术方案,左侧所述传导腔下侧的所述滑腔内顶部与右侧所述传导腔下侧的所述滑腔内顶部均回旋配合连接有第三锥面轮,每个所述第三锥面轮与所述第二锥面轮均固定设有传导轴,左右两侧所述传导轴分别穿透左右两侧所述传导腔与所述滑腔之间的所述基架内壁体且回旋配合连接。
作为优选地技术方案,左侧所述旋轴左侧尾端与左侧所述支承杆回旋配合连接,右侧所述旋轴右侧尾端与右侧所述支承杆回旋配合连接,左右两侧的所述旋轴离开所述第一电动机一侧均固定设有第四锥面轮。
作为优选地技术方案,所述滑腔左右两侧内壁分别固定设有第一触碰感应器和第二触碰感应器,所述第一触碰感应器与所述第二滑块左侧面相对设置,所述第二触碰感应器与所述第二滑块右侧面相对设置,所述第一触碰感应器与左侧所述卷电缆装置内的所述第二电动机电力连接,所述第二触碰感应器与右侧所述卷电缆装置内的所述第二电动机电力连接。
作为优选地技术方案,所述降温缓震装置包括降温片和缓震垫,所述降温片固定设置在所述第一电动机左右两侧面,所述降温片上设置有旋轴过槽,所述缓震垫固定设置在所述第一电动机的上下两侧并与所述第三滑块相连接,通过设置所述降温缓震装置能加快所述第一电动机降温,减少所述第一电动机工作产生的震动。
本发明的有益效果是:
1.通过滑腔内顶部中端位置设滑槽,滑腔内设第二滑块,第二滑块顶部中端位置固定设置向上延展设置的第三滑块,第三滑块顶部延展段伸进滑槽内且平滑配合连接,滑槽内设左右延展设置且与第三滑块螺线纹配合连接的第二螺杆,第二滑块左右两侧顶部固定设支承杆,滑腔内的第三滑块内设第一电动机,第一电动机左右两侧均配合连接旋轴,从而实现左右轮换带动控制,提高工作效率以及实现自动控制拆装工作。
2.通过每个导滑槽右侧内壁内均设凹槽,凹槽右侧内壁固定设置向左侧延展设置的导滑杆,导滑杆左侧延展段伸进导滑槽内且与导滑槽左侧内壁固定连接,调试柱底部穿过导滑槽后伸进过槽内,导滑槽内的调试柱与导滑杆平滑配合连接,调试柱右侧的导滑杆外表面设弹性件,从而实现调试柱的左右定向滑工作,实现对卷盘的快速设置和拆卸工作,同时实现自动复位设置工作,提高拆装速度。
3.通过滑腔左右两侧内壁分别固定设第一触碰感应器和第二触碰感应器,第一触碰感应器与第二滑块左侧面相对设置,第二触碰感应器与第二滑块右侧面相对设置,第一触碰感应器与左侧卷电缆装置内的第二电动机电力连接,第二触碰感应器与右侧卷电缆装置内的第二电动机电力连接,提高工作效率以及安全性。
4.本发明结构简单,设计合理,提高安全性,通过调试柱的左右移动能实现卷盘的快速设置和拆卸,同时通过弹性件实现自动复位设置工作,提高设置速度,能实现自动控制轮换工作,减少设备投入降低制造成本以及维护成本。
附图说明
为了易于说明,本发明由下述的具体实施例及附图作以详细描述。
图1为本发明的一种新型电力电缆设备;
图2为本发明的左侧第四锥面轮与左侧第三锥面轮齿合连接时的结构示意图;
图3为本发明的左侧过槽内的凸缘块与左侧卷电缆装置内的调试柱相抵接时的结构示意图;
图4为本发明的左侧卷电缆装置内的调试柱移动到左侧导滑槽内的最右侧位置时的结构示意图;
图5为本发明的右侧第四锥面轮与右侧第三锥面轮齿合连接时的结构示意图;
图6为本发明的右侧过槽内的凸缘块与右侧卷电缆装置内的调试柱相抵接时的结构示意图;
图7为本发明的右侧卷电缆装置内的调试柱移动到右侧导滑槽内的最右侧位置时的结构示意图;
图8为本发明的的一种新型电力电缆设备的俯视图;
图9为本发明的第一电动机的结构示意图。
具体实施方式
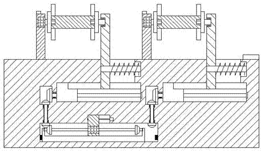
如图1-图9所示,本发明的一种新型电力电缆设备,包括基架5以及设置在所述基架5顶部且左右相称设置的卷电缆装置6,每个所述卷电缆装置6包括设置在左侧的支承柱61、设置在右侧的调试柱63以及设置在所述支承柱61与所述调试柱63之间的卷盘7,所述基架5内左右相称设有左右延展设置的导滑腔54,每个所述导滑腔54顶部均相通设有沿所述导滑腔54顶部左右两侧延展设置的过槽53,每个所述过槽53右侧延展段顶部相通设有导滑槽51,所述导滑腔54内平滑配合连接有第一滑块542,所述第一滑块542顶部左侧设有伸进所述过槽53内的凸缘块531,所述第一滑块542内螺线纹配合连接有左右延展设置的第一螺杆541,每个所述导滑腔54左侧的所述基架5内均设有传导腔55,每个所述传导腔55右侧内壁上回旋配合连接第一锥面轮551,每个所述传导腔55内底面均设有右侧上侧与所述第一锥面轮551左侧下侧齿合连接的第二锥面轮552,左侧所述导滑腔54下侧的所述基架5内设有左右延展设置的滑腔56,所述滑腔56左侧延展段位于左侧所述传导腔55下侧位置,所述滑腔56右侧延展段位于右侧所述传导腔55下侧位置,所述滑腔56内顶部中端位置设有滑槽57,所述滑腔56内设有第二滑块562,所述第二滑块562顶部中端位置固定设置有向上延展设置的第三滑块563,所述第三滑块563顶部延展段伸进所述滑槽57内且平滑配合连接,所述滑槽57内设有左右延展设置且与所述第三滑块563螺线纹配合连接的第二螺杆571,所述第二滑块562左右两侧顶部固定设有支承杆5621,所述滑腔56内的所述第三滑块563内设有第一电动机5631,所述第一电动机5631左右两侧均配合连接有旋轴566,所述支承柱61底部与所述基架5顶部固定连接,所述支承柱61右侧面内设有第二电动机62,所述基架5上顶面右侧边缘处设置有紧急按钮501,所述紧急按钮501与所述第二电动机62电力连接,按下所述紧急按钮501即可使所述第二电动机62停止运转,防止意外事故发生,所述第一电动机5631外表面设置有降温缓震装置。
其中,所述第二电动机62右侧配合连接有伸出所述支承柱61右侧面外的第一卡紧件64,所述第一卡紧件64相对的所述调试柱63左侧面内回旋配合连接第二卡紧件65,从而实现卷盘7的固定连接。
其中,每个所述导滑槽51右侧内壁内均设有凹槽52,所述凹槽52右侧内壁固定设置有向左侧延展设置的导滑杆510,所述导滑杆510左侧延展段伸进所述导滑槽51内且与所述导滑槽51左侧内壁固定连接,所述调试柱63底部穿过所述导滑槽51后伸进所述过槽53内,所述导滑槽51内的所述调试柱63与所述导滑杆510平滑配合连接,所述调试柱63右侧的所述导滑杆510外表面设有弹性件511,从而实现调试柱63的左右定向滑工作,实现对卷盘7的快速设置和拆卸工作,提高拆装速度。
其中,每个所述第一螺杆541左侧延展段分别穿透每个所述导滑腔54左侧内壁且回旋配合连接,所述第一螺杆541左侧尾端伸进所述传导腔55内且与所述第一锥面轮551右侧固定连接,所述第一螺杆541右侧与所述传导腔55右侧内壁回旋配合连接,从而实现第三锥面轮561对第一螺杆541的传导控制工作。
其中,所述第二螺杆571左侧与所述滑槽57左侧内壁回旋配合连接,所述第二螺杆571右侧与第三电动机572配合连接,所述第三电动机572外表面设置于所述滑槽57右侧内壁内且固定连接,从而实现左右轮换调整,实现对左右两侧的卷电缆装置6轮换调整控制。
其中,左侧所述传导腔55下侧的所述滑腔56内顶部与右侧所述传导腔55下侧的所述滑腔56内顶部均回旋配合连接有第三锥面轮561,每个所述第三锥面轮561与所述第二锥面轮552均固定设有传导轴553,左右两侧所述传导轴553分别穿透左右两侧所述传导腔55与所述滑腔56之间的所述基架5内壁体且回旋配合连接。
其中,左侧所述旋轴566左侧尾端与左侧所述支承杆5621回旋配合连接,右侧所述旋轴566右侧尾端与右侧所述支承杆5621回旋配合连接,左右两侧的所述旋轴566离开所述第一电动机5631一侧均固定设有第四锥面轮5661,从而实现第一电动机5631对第一螺杆541的传导控制工作,减少设备投入,降低生产成本以及维护成本。
其中,所述滑腔56左右两侧内壁分别固定设有第一触碰感应器564和第二触碰感应器565,所述第一触碰感应器564与所述第二滑块562左侧面相对设置,所述第二触碰感应器565与所述第二滑块562右侧面相对设置,所述第一触碰感应器564与左侧所述卷电缆装置6内的所述第二电动机62电力连接,所述第二触碰感应器565与右侧所述卷电缆装置6内的所述第二电动机62电力连接,提高工作效率以及安全性。
其中,所述降温缓震装置包括降温片56321和缓震垫56311,所述降温片56321固定设置在所述第一电动机5631左右两侧面,所述降温片56321上设置有旋轴过槽5661,所述缓震垫56311固定设置在所述第一电动机5631的上下两侧并与所述第三滑块563相连接,通过设置所述降温缓震装置能加快所述第一电动机5631降温,减少所述第一电动机5631工作产生的震动。
初始状态时,第三滑块563位于滑槽57内的中端位置,同时由第三滑块563带动第二滑块562位于滑腔56内的中端位置,此时,第二滑块562左侧与第一触碰感应器564以及第二滑块562右侧与第二触碰感应器565均保持一定距离且距离相等,同时,每个导滑腔54内的第一滑块542均位于导滑腔54内的最左侧位置,此时,左右两侧的第一滑块542分别带动左右两侧的凸缘块531分别位于左右两侧过槽53内的最左侧位置,同时,左右两侧卷电缆装置6内的调试柱63均受到弹性件511的顶压力,使左右两侧卷电缆装置6内的调试柱63分别位于左右两侧导滑槽51内的最左侧位置。
当需要拆装更换左侧卷电缆装置6时,首先通过第三电动机572带动第二螺杆571回旋,进而由第二螺杆571带动第三滑块563逐渐沿滑槽57内的左侧方向移动,同时,由第三滑块563带动第二滑块562逐渐沿滑腔56内的左侧方向滑,直至如图2所示第三滑块563移动到滑槽57内的最左侧位置,同时,由第三滑块563带动第二滑块562左侧面与第一触碰感应器564相抵接,此时,由第一触碰感应器564发送信号并控制左侧卷电缆装置6内第二电动机62停止回旋,同时,左侧旋轴566上的第四锥面轮5661与滑腔56内左侧的第三锥面轮561齿合连接,此时,第二滑块562右侧面最大程度离开第二触碰感应器565,同时,右侧旋轴566上的第四锥面轮5661最大程度离开滑腔56内右侧的第三锥面轮561,然后控制第三电动机572停止回旋,此时,通过第一电动机5631带动两侧旋轴566回旋,由于左侧旋轴566上的第四锥面轮5661与滑腔56内左侧的第三锥面轮561齿合连接,进而由左侧旋轴566上的第四锥面轮5661带动滑腔56内左侧的第三锥面轮561回旋,由滑腔56内左侧的第三锥面轮561带动左侧的第三锥面轮561顶部的传导轴553回旋,进而由左侧的传导轴553带动左侧传导腔55内的第二锥面轮552回旋,由于第二锥面轮552与第一锥面轮551齿合连接,进而由左侧传导腔55内的第一锥面轮551带动左侧导滑腔54内的第一滑块542逐渐沿左侧导滑腔54内的右侧方向移动,同时由左侧导滑腔54内的第一滑块542带动左侧导滑腔54内的第一滑块542顶部的凸缘块531逐渐沿左侧过槽53内的右侧方向移动,直至如图3所示使左侧过槽53内的凸缘块531与左侧卷电缆装置6内的调试柱63底部段的左侧面相抵接,此时继续控制第一电动机5631带动两侧旋轴566回旋,由左侧导滑腔54内的第一滑块542顶部的凸缘块531带动左侧卷电缆装置6内的调试柱63克服弹性件511逐渐沿左侧导滑槽51内的导滑杆510右侧方向移动,直至如图4所示左侧卷电缆装置6内的调试柱63移动到左侧导滑槽51内的最右侧位置,此时,从而实现左侧卷电缆装置6内的卷盘7的拆装工作;
当需要拆装更换右侧卷电缆装置6时,首先通过第三电动机572带动第二螺杆571反向回旋,进而由第二螺杆571带动第三滑块563逐渐沿滑槽57内的右侧方向移动,同时,由第三滑块563带动第二滑块562逐渐沿滑腔56内的右侧方向滑,直至如图5所示第三滑块563移动到滑槽57内的最右侧位置,同时,由第三滑块563带动第二滑块562右侧面与第二触碰感应器565相抵接,此时,由第二触碰感应器565发送信号并控制右侧卷电缆装置6内的第二电动机62停止回旋,同时,右侧旋轴566上的第四锥面轮5661与滑腔56内右侧的第三锥面轮561齿合连接,此时,第二滑块562左侧面最大程度离开第一触碰感应器564,同时,左侧旋轴566上的第四锥面轮5661最大程度离开滑腔56内左侧的第三锥面轮561,然后控制第三电动机572停止回旋,此时,通过第一电动机5631带动两侧旋轴566回旋,由于右侧旋轴566上的第四锥面轮5661与滑腔56内右侧的第三锥面轮561齿合连接,进而由右侧旋轴566上的第四锥面轮5661带动滑腔56内右侧的第三锥面轮561回旋,由滑腔56内右侧的第三锥面轮561带动右侧的第三锥面轮561顶部的传导轴553回旋,进而由右侧的传导轴553带动右侧传导腔55内的第二锥面轮552回旋,由于第二锥面轮552与第一锥面轮551齿合连接,进而由右侧传导腔55内的第一锥面轮551带动右侧导滑腔54内的第一滑块542逐渐沿右侧导滑腔54内的右侧方向移动,同时由右侧导滑腔54内的第一滑块542带动右侧导滑腔54内的第一滑块542顶部的凸缘块531逐渐沿右侧过槽53内的右侧方向移动,直至如图6所示使右侧过槽53内的凸缘块531与右侧卷电缆装置6内的调试柱63底部段的左侧面相抵接,此时继续控制第一电动机5631带动两侧旋轴566回旋,由右侧导滑腔54内的第一滑块542顶部的凸缘块531带动右侧卷电缆装置6内的调试柱63克服弹性件511逐渐沿右侧导滑槽51内的导滑杆510右侧方向移动,直至如图7所示右侧卷电缆装置6内的调试柱63移动到右侧导滑槽51内的最右侧位置,此时,从而实现右侧卷电缆装置6内的卷盘7的拆装工作;
本发明的有益效果是:
1.通过滑腔内顶部中端位置设滑槽,滑腔内设第二滑块,第二滑块顶部中端位置固定设置向上延展设置的第三滑块,第三滑块顶部延展段伸进滑槽内且平滑配合连接,滑槽内设左右延展设置且与第三滑块螺线纹配合连接的第二螺杆,第二滑块左右两侧顶部固定设支承杆,滑腔内的第三滑块内设第一电动机,第一电动机左右两侧均配合连接旋轴,从而实现左右轮换带动控制,提高工作效率以及实现自动控制拆装工作。
2.通过每个导滑槽右侧内壁内均设凹槽,凹槽右侧内壁固定设置向左侧延展设置的导滑杆,导滑杆左侧延展段伸进导滑槽内且与导滑槽左侧内壁固定连接,调试柱底部穿过导滑槽后伸进过槽内,导滑槽内的调试柱与导滑杆平滑配合连接,调试柱右侧的导滑杆外表面设弹性件,从而实现调试柱的左右定向滑工作,实现对卷盘的快速设置和拆卸工作,同时实现自动复位设置工作,提高拆装速度。
3.通过滑腔左右两侧内壁分别固定设第一触碰感应器和第二触碰感应器,第一触碰感应器与第二滑块左侧面相对设置,第二触碰感应器与第二滑块右侧面相对设置,第一触碰感应器与左侧卷电缆装置内的第二电动机电力连接,第二触碰感应器与右侧卷电缆装置内的第二电动机电力连接,提高工作效率以及安全性。
4.本发明结构简单,设计合理,提高安全性,通过调试柱的左右移动能实现卷盘的快速设置和拆卸,同时通过弹性件实现自动复位设置工作,提高设置速度,能实现自动控制轮换工作,减少设备投入降低制造成本以及维护成本。
以上所述,仅为本发明的具体实施方式,但本发明的保护范围并不局限于此,任何不经过创造性劳动想到的变化或替换,都应涵盖在本发明的保护范围之内。因此,本发明的保护范围应该以权利要求书所限定的保护范围为准。
技术研发人员:陈旭东
技术所有人:陈旭东
备 注:该技术已申请专利,仅供学习研究,如用于商业用途,请联系技术所有人。
声 明 :此信息收集于网络,如果你是此专利的发明人不想本网站收录此信息请联系我们,我们会在第一时间删除
