动物呼气收集装置的制作方法

本实用新型涉及动物呼气实验技术领域,特别涉及一种动物呼气收集装置。
背景技术:
动物呼出气体中除含有氮气、氧气、二氧化碳以及稀有气体等这些空气中所含成分外,也会有许多种来自自身生命活动所产生的物质,这些物质会随着动物呼吸而呼出,各项研究表明呼出物的种类和浓度在一定程度上能反映生物体健康状态,对这些物质进行研究是寻找新的生物标注物的重要手段,从而对疾病的发生、发展过程进行监测,并可以起到对疾病早起预防的目的。
在设计实验时,很多基础医学及生物学的研究是建立在动物模型上的,动物实验的优点有很多,如可避免在人身上进行实验所带来的风险,而且临床上平时不易见到的疾病可用动物随时复制出来,可以克服人类某些疾病潜伏期长,病程和发病率低的缺点,并且严格控制实验条件,简化实验操作等,总的来说,动物实验是无法被取代的。
现有技术中通常以大型动物为实验对象,采用类似于检验人类呼气酒精度的仪器,设法将该仪器固定至动物口部从而进行检测,但是大型动物不太受控,动物自身好动的特性会影响实验进行。而由于小型动物体型较小,不适宜采用上述仪器,而因此尚未有适合的方法对小型动物进行试验。无论是针对大型动物还是小型动物至今都还没有任何专门的实验装置得以应用。
因此,本领域技术人员亟待解决的技术问题是,发明一种简便的动物呼气收集装置,以推动呼气研究在学科发展。
技术实现要素:
为解决上述技术问题,本实用新型的目的在于一种动物呼气收集装置,其组装简易、操作方便,专门用于收集动物的呼气。
为达到上述目的,本实用新型提供一种动物呼气收集装置,包括动物存放箱,所述动物存放箱由进气管路供应空气,并通过排气管路排出动物的呼气,所述排气管路上设置有呼气收集管,所述呼气收集管内填吸附剂以吸附动物的呼气。
优选地,所述进气管路上设置有空气净化管,所述空气净化管内填能够去除异味的空气净化材料。
优选地,所述呼气收集管的下游设置有泵,所述泵将动物的呼气抽吸离开所述动物存放箱。
优选地,所述呼气收集管和所述泵之间设置有气体流量计。
优选地,所述动物存放箱下部设置有支撑网以支撑动物在其上活动,所述动物存放箱在所述支撑网的下方设置有漏斗状收集器以收集动物的排泄物。
优选地,所述动物存放箱内部设置有风扇和与所述风扇电连接的内置电源,以促使所述动物存放箱中的空气循环。
本实用新型提供了专门用于动物试验的动物呼气收集装置,其能够实现对大型动物和小型动物呼出的气体进行采样收集,组装简易、操作简单,同时避免了动物好动特点带来的不便,可以反复用于各种受测动物。
此外,本实用新型提供的动物呼气收集装置可使动物在一段时间中滞留在限定的容器范围内正常活动,并通过一整套气体流通装置,满足动物正常呼气活动,将其呼气以及排泄物中所含成分带入采样管中,使有利于科学研究的动物散发的气体中的物质成分得以富集浓缩,采样结束后,采样管可供后续分析检测使用。
附图说明
图1为本实用新型提供的一种动物呼气收集装置的结构图;
图2为本实用新型提供的一种动物呼气收集装置的结构图,其中示出气体流向。
附图标记说明:
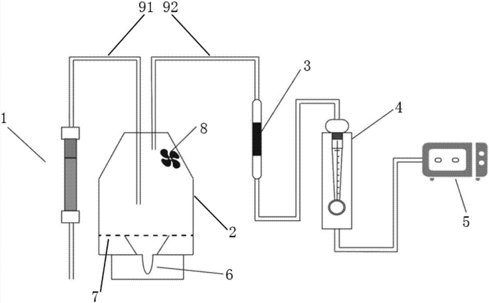
动物存放箱 2
空气净化管 1
风扇 8
支撑网 7
漏斗状收集器 6
呼气收集管 3
气体流量计 4
泵 5
进气管路 91
排气管路 92
动物 10。
应当了解,所附附图并非按比例地显示了本实用新型的基本原理的图示性的各种特征的略微简化的画法。本文所公开的本实用新型的具体设计特征包括例如具体尺寸、方向、位置和外形将部分地由具体所要应用和使用的环境来确定。
具体实施方式
现在将对本实用新型的各个实施方式详细地作出引用,这些实施方式的实例被显示在附图中并描述如下。尽管本实用新型将与示例性实施方式相结合进行描述,但是应当意识到,本说明书并非旨在将本实用新型限制为那些示例性实施方式。相反,本实用新型旨在不但覆盖这些示例性实施方式,而且覆盖可以被包括在由所附权利要求所限定的本实用新型的精神和范围之内的各种选择形式、修改形式、等价形式及其它实施方式。
研究发现,动物呼气中所含物质成分的变化,很大程度上可以反映其身体健康状况,而呼气研究也日益变成疾病早期诊断的研究热点。但是,气体不同其他如血浆、尿液等生物标本那样小体积,易长期储存的特点,目前采集、保存气体中物质最好的方法就是吸附剂吸附法。据此,提出一种可以收集动物呼气收集的装置,包括了动物箱和呼气收集系统。可以根据动物体积大小,设计适合其活动的动物试验箱,可以根据实验动物大小及活动剧烈程度,调整气体采集时间和气体的流量。
为收集动物的呼气以用于实验,本实用新型提供一种动物呼气收集装置,包括动物存放箱2,所述动物存放箱2由进气管路91供应空气,并通过排气管路92排出动物的呼气,所述排气管路92上设置有呼气收集管3,所述呼气收集管3内填吸附剂以吸附动物的呼气。
动物存放箱2为动物提供活动空间,其具有进气口和排气口,进气口与进气管路91气体连通,排气口与排气管路92气体连通,其它部位不与外界连通,也就是说,动物存放箱2与外界的连通严格地受到控制,仅仅通过进气管路91和排气管路92与外界连通。这样,不易受到外部环境中空气的影响而保证实验用气体采集的精准性。进气管路91和排气管路92包括两端开口的管,而且管路上还设置其它用途的附加装置,比如设置有呼气收集管3。呼气收集管3内部具有吸附剂,该吸附剂用于吸附动物呼气中的物质,最终呼气收集管3供后续分析实验用,其内的气体用于实验取样。所述吸附剂是一种现有技术中普遍存在的能够用于吸附气体中存在的物质的材料,其常见于现有技术中,本领域技术人员可以合理预测其具体实施例。
本实用新型提供了专门用于动物试验的动物呼气收集装置,其能够实现对大型动物和小型动物呼出的气体进行采样收集,组装简易、操作简单,同时避免了动物好动特点带来的不便,可以反复用于各种受测动物。
所述进气管路91上设置有空气净化管2,所述空气净化管2内填能够去除异味的空气净化材料,该净化材料具有去除向动物提供的空气中的异味、杂质颗粒等的功能。该净化材料是一种现有技术中普遍存在的能够用于去除空气中的异味、杂质颗粒等的材料,其常见于现有技术中,本领域技术人员可以合理预测其具体实施例。环境中的空气首先流动到空气净化管2,经过净化后进入动物存放箱2以用于动物呼入。
这样的设置有利于保证动物呼入气体的纯净度,从而避免外部环境对采样气体产生干扰,因为对动物进行实验的房间通常存在较大异味,空气净化管2显得尤为适用。
更进一步的,在呼气收集管3的下游还设置有泵5,所述泵5将动物的呼气抽吸离开所述动物存放箱2。
泵5为动物呼气收集装置提供动力,在动物存放箱2中的动物呼气后,呼出的气体在泵5的抽吸作用下通过排气管路92进入呼气收集管3。当然,泵5也可以设置在动物存放箱2的上游。
将泵5设置在动物存放箱2的下游具有以下优势:这样的设置在为动物呼气收集装置提供动力的基础上,还有助于动物存放箱2内的环境处于室温大气压下,不会造成向内压力过高,不会影响动物活动。
在另一优选的实施方案中,该动物呼气收集装置在呼气收集管3和泵5之间还设置有气体流量计4。该气体流量计4是一种现有技术中普遍存在的能够测量流量的设备,其常见于现有技术中,本领域技术人员可以合理预测其具体实施例。
通过读取流量计的读数,实验人员能够控制采样时间、采样量等。
优选地,所述动物存放箱2下部设置有支撑网7以支撑动物在其上活动,所述动物存放箱2在所述支撑网7的下方设置有漏斗状收集器6以收集动物的排泄物。
支撑网7可以是刚性较强的网状结构,用于为动物提供充足的支撑。优选为不锈钢制成。漏斗状收集器6是呈漏斗状的收集用的结构,其底部与常规漏斗不同,是封闭的,从而能够盛装动物排泄物,其是单独设置的。所述漏斗接收从支撑网7漏下的动物的排泄物。
用于实验的动物可以在支撑网7上进行日常活动,并且动物的排泄物通过漏斗状收集器6被收集起来,保证动物生活环境干净整洁,从而可使动物在一段时间中滞留在限定的容器范围内正常活动,并通过一整套气体流通装置,满足动物正常呼气活动,将其呼气以及排泄物中所含成分带入采样管中,使有利于科学研究的动物散发的气体中的物质成分得以富集浓缩,采样结束后,采样管可供后续分析检测使用。
更为优选地,所述动物存放箱2内部设置有风扇8,所述风扇8促使所述动物存放箱2中的空气循环。
所述动物存放箱2内部设置有风扇8和与所述风扇8电连接的内置电源,以促使所述动物存放箱2中的空气循环。
风扇8在内置电源的作用下运转起来,使动物存放箱2内的空气混合均匀,动物呼出的气体均匀地在动物存放箱2内扩散,从而被采样的气体内均匀地含有动物的呼气,有利于采样精准。
更进一步地,所述进气管路91和所述排气管路92可以由硅胶等不散发气味的材料制成,所述动物存放箱2可以由玻璃、金属等不散发气味的材料制成。
硅胶、玻璃、金属等不会散发气味的材料有利于减少对动物呼出气体的气味的影响。
下面详细描述该动物呼气收集装置的具体使用方法:
在采气前,从动物存放箱2取出动物,放入金属笼中在通气环境下放置半小时以上,以便减少其身体携带的气味并尽量减少其在动物箱内的排泄情况。将实验动物放入动物箱内,不宜立即采气,在不接采样管的前提下,系统运行10至15分钟,这样可以先使动物适应新环境,并在这段时间内观察动物情况,判定其适不适合采样。如合适,可使其呼气稳定,呼气中成分与系统内壁的微弱吸附作用充分接触,使其吸附饱和,从而减少实验误差。采样结束后,关闭泵5,打开动物存放箱2,将动物送回笼中继续饲养,将采样管两端密封保存即可。动物箱洗刷干净后可进行下次采样活动。
前面对本实用新型具体示例性实施方式所呈现的描述是出于说明和描述的目的。前面的描述并不想要成为毫无遗漏的,也不是想要把本实用新型限制为所公开的精确形式,显然,根据上述教导很多改变和变化都是可能的。选择示例性实施方式并进行描述是为了解释本实用新型的特定原理及其实际应用,从而使得本领域的其它技术人员能够实现并利用本实用新型的各种示例性实施方式及其各种选择形式和修改形式。本实用新型的范围意在由所附权利要求书及其等效形式所限定。
技术研发人员:高友鹤,刘永涛
技术所有人:北京师范大学
备 注:该技术已申请专利,仅供学习研究,如用于商业用途,请联系技术所有人。
声 明 :此信息收集于网络,如果你是此专利的发明人不想本网站收录此信息请联系我们,我们会在第一时间删除
