一种轴承套圈精密加工用数控车床的制作方法

本发明涉及数控车床领域,尤其涉及一种轴承套圈精密加工用数控车床。
背景技术:
数控车床、车削中心,是一种高精度、高效率的自动化机床。配备多工位刀塔或动力刀塔,机床就具有广泛的加工工艺性能,可加工直线圆柱、斜线圆柱、圆弧和各种螺纹、槽、蜗杆等复杂工件,具有直线插补、圆弧插补各种补偿功能,并在复杂零件的批量生产中发挥了良好的经济效果。
在现有的轴承套圈精密加工用数控车床中,大多数的数控车床在进行加工轴承时,由于不能够对轴承进行全方位的固定,常常导致加工失误的现象,为此我们设计出了一种轴承套圈精密加工用数控车床来解决以上问题。
技术实现要素:
本发明的目的是为了解决现有技术中存在的缺点,而提出的一种轴承套圈精密加工用数控车床。
为了实现上述目的,本发明采用了如下技术方案:
一种轴承套圈精密加工用数控车床,包括工作台,所述工作台的顶部设置有相对平行的第一滑动轨道,所述两个第一滑动轨道的两侧均安装有固定板,两个所述固定板的顶部均设置有固定架,所述固定架的顶部均设置有第一气缸,两个所述第一气缸的输出端均贯穿固定架连接有第一伸缩杆,两个所述固定板相互靠近的一侧均设置有竖直的第二滑动轨道,两个所述第二滑动轨道之间连接有按压板,两个所述第一伸缩杆的底部均与按压板固定连接,所述按压板的两侧底部均设置有第三滑动轨道,所述第三滑动轨道的内部两侧设置有相对平行的滑动块,两个滑动块的底部均连接有限位板,两个所述滑动块相互远离的一侧均设置有转动杆,所述转动杆的另一端贯穿按压板连接有转动块。
优选的,所述所述转动块的截面呈六边形结构。
优选的,所述按压板的两侧均设置有与转动杆相适配的通孔。
优选的,所述转动块与转动杆的连接处设置有相适配的螺纹。
优选的,两个所述固定板相互远离的一侧均设置有第二伸缩杆,所述第二伸缩杆的另一端连接有第二气缸的输出端,且第二气缸设置在工作台上。
优选的,两个所述限位板均为圆弧形结构。
与现有技术相比,本发明的有益效果是:本发明中,两个第一滑动轨道的两侧均安装有固定板的设计,有利于根据轴承的长度对加工中的轴承进行调节固定,两个第二滑动轨道之间连接有按压板的设计,有利于根据轴承的直径对加工中的轴承进行调节固定,两个滑动块的底部均连接有限位板的设计,有利于对加工中的轴承的顶部两侧进行限位固定,防止滑动,该发明整体结构简单,能够对加工中的轴承进行全方位的固定,并可以根据不同型号的轴承进行调节固定,使用更加方便。
附图说明
图1为本发明提出的一种轴承套圈精密加工用数控车床的结构示意图;
图2为本发明提出的一种轴承套圈精密加工用数控车床的限位板的结构示意图。
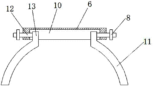
图中:1工作台、2第一滑动轨道、3固定板、4固定架、5第一气缸、6按压板、7第一伸缩杆、8转动块、9第二滑动轨道、10第三滑动轨道、11限位板、12转动杆、13滑动块。
具体实施方式
下面将结合本发明实施例中的附图,对本发明实施例中的技术方案进行清楚、完整地描述,显然,所描述的实施例仅仅是本发明一部分实施例,而不是全部的实施例。
参照图1-2,一种轴承套圈精密加工用数控车床,包括工作台1,工作台1的顶部设置有相对平行的第一滑动轨道2,两个第一滑动轨道2的两侧均安装有固定板3,两个固定板3的顶部均设置有固定架4,固定架4的顶部均设置有第一气缸5,两个第一气缸5的输出端均贯穿固定架4连接有第一伸缩杆7,两个固定板3相互靠近的一侧均设置有竖直的第二滑动轨道9,两个第二滑动轨道9之间连接有按压板6,两个第一伸缩杆7的底部均与按压板6固定连接,按压板6的两侧底部均设置有第三滑动轨道10,第三滑动轨道10的内部两侧设置有相对平行的滑动块13,两个滑动块13的底部均连接有限位板11,两个限位板11均为圆弧形结构,两个滑动块13相互远离的一侧均设置有转动杆12,按压板6的两侧均设置有与转动杆12相适配的通孔,转动杆12的另一端贯穿按压板6连接有转动块8,转动块8的截面呈六边形结构,转动块8与转动杆12的连接处设置有相适配的螺纹,两个固定板3相互远离的一侧均设置有第二伸缩杆,第二伸缩杆的另一端连接有第二气缸的输出端。
应用方法:在使用时,首先对加工中的轴承进行固定,方便加工,通过两个第一滑动轨道2的两侧均安装有固定板3的设计,可以根据轴承的长度控制第二气缸,让第二气缸带动第二伸缩杆对固定板3施力,让固定板3对加工中的轴承进行调节固定,两个第二滑动轨道9之间连接有按压板6的设计,可以根据轴承的直径控制第一气缸5,让第一气缸5带动第一伸缩杆7对按压板6进行施力,让按压板6对加工中的轴承进行调节固定,两个滑动块13的底部均连接有限位板11的设计,可以通过调节旋转杆12,让旋转杆12对滑动块施力,让限位板11对加工中的轴承的顶部两侧进行限位固定,防止滑动,该发明整体结构简单,能够对加工中的轴承进行全方位的固定,并可以根据不同型号的轴承进行调节固定,使用更加方便。
以上所述,仅为本发明较佳的具体实施方式,但本发明的保护范围并不局限于此,任何熟悉本技术领域的技术人员在本发明揭露的技术范围内,根据本发明的技术方案及其发明构思加以等同替换或改变,都应涵盖在本发明的保护范围之内。
技术特征:
技术总结
本发明公开了一种轴承套圈精密加工用数控车床,包括工作台,所述工作台的顶部设置有相对平行的第一滑动轨道,所述两个第一滑动轨道的两侧均安装有固定板,两个所述固定板的顶部均设置有固定架,所述固定架的顶部均设置有第一气缸,两个所述第一气缸的输出端均贯穿固定架连接有第一伸缩杆,两个所述固定板相互靠近的一侧均设置有竖直的第二滑动轨道,两个所述第二滑动轨道之间连接有按压板,两个所述第一伸缩杆的底部均与按压板固定连接,所述按压板的两侧底部均设置有第三滑动轨道。本发明整体结构简单,能够对加工中的轴承进行全方位的固定,并可以根据不同型号的轴承进行调节固定,使用更加方便。
技术研发人员:张艳
受保护的技术使用者:张艳
技术研发日:2017.07.19
技术公布日:2017.09.08
技术研发人员:张艳
技术所有人:张艳
备 注:该技术已申请专利,仅供学习研究,如用于商业用途,请联系技术所有人。
声 明 :此信息收集于网络,如果你是此专利的发明人不想本网站收录此信息请联系我们,我们会在第一时间删除
