一种无人驾驶汽车用障碍物激光测距装置的制作方法

本实用新型涉及无人驾驶汽车零配件技术领域,具体为一种无人驾驶汽车用障碍物激光测距装置。
背景技术:
无人驾驶汽车是一种智能汽车,也可以称之为轮式移动机器人,主要依靠车内的以计算机系统为主的智能驾驶仪来实现无人驾驶。无人驾驶汽车是利用车载传感器来感知车辆周围环境,并根据感知所获得的道路、车辆位置和障碍物信息,控制车辆的转向和速度,从而使车辆能够安全、可靠地在道路上行驶。无人驾驶是集自动控制、体系结构、人工智能、视觉计算等众多技术于一体,是计算机科学、模式识别和智能控制技术高度发展的产物,也是衡量一个国家科研实力和工业水平的一个重要标志,在国防和国民经济领域具有广阔的应用前景。
在无人驾驶时都是先通过毫米波雷达扫描数据建模方法,识别障碍物,再通过障碍物激光测距头探测无人驾驶汽车与障碍物的距离,最后作出相对应的措施。
目前的障碍物激光测距头都是裸露在车外的,裸露在车外常常会触碰到尖锐物造成损坏,安全性能低,经常需要对障碍物激光测距头进行维修,障碍物激光测距头的使用寿命短。
技术实现要素:
(一)解决的技术问题
针对现有技术的不足,本实用新型提供了一种无人驾驶汽车用障碍物激光测距装置,解决了安全性能低、使用寿命短的问题。
(二)技术方案
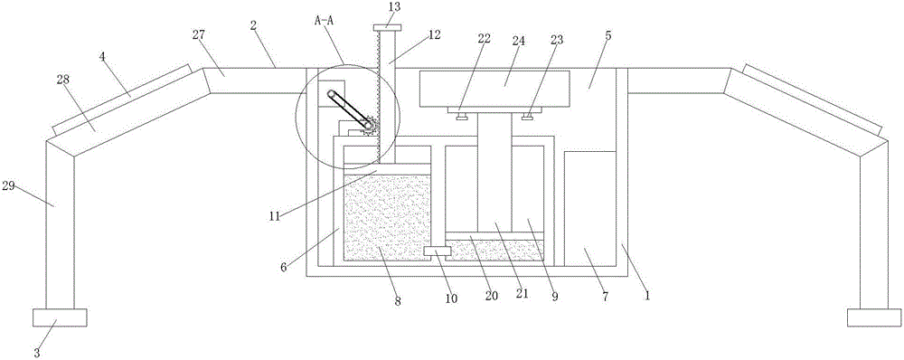
为实现以上目的,本实用新型通过以下技术方案予以实现:一种无人驾驶汽车用障碍物激光测距装置,包括壳体,所述壳体的两侧均固定连接有固定架,所述固定架远离壳体的一端固定连接有安装板,所述安装板远离固定架的一侧与无人驾驶汽车的车顶焊接,所述固定架上固定连接有太阳能电池板,所述壳体的顶部开设有凹槽,所述凹槽内壁的底部从左到右依次固定连接有调节箱和蓄电池,所述调节箱的内部从左到右依次开设有第一空腔和第二空腔,所述第一空腔通过连通管与第二空腔连通,所述第一空腔的内部活动连接有调节板,所述调节板的顶部固定连接有调节杆,所述调节杆远离调节板的一端贯穿调节箱且延伸至调节箱的顶部与限位块固定连接,所述调节箱顶部的左侧固定连接有L型支架,所述L型支架上活动连接有转杆,所述转杆的一端贯穿L型支架且延伸至L型支架的外部,位于L型支架内部的转杆表面固定安装有旋转轮,所述旋转轮的表面与调节杆的左侧活动连接,所述壳体内壁左侧的上方固定安装有微型电机,所述微型电机上设置有转轴,所述转轴的表面通过皮带与延伸至L型支架外部的转杆传动连接,所述第二空腔的内部活动连接有活动板,所述活动板的顶部固定连接有活动杆,所述活动杆远离活动板的一端贯穿调节箱且延伸至调节箱的顶部与固定板固定连接,所述固定板通过螺栓与障碍物激光测距头的底部螺纹连接,所述第一空腔和第二空腔的内部均设置有油液,所述太阳能电池板通过逆变器与蓄电池电连接,所述蓄电池的输出端与微型电机电连接,所述微型电机的输入端与无人驾驶汽车车体内部的控制器电性连接,所述障碍物激光测距头的输入端与无人驾驶汽车车体内部的汽车电源电连接。
优选的,所述第一空腔内部的油液位于调节板的底部与第一空腔内壁的底部之间。
优选的,所述第二空腔内部的油液位于活动板的底部与第二空腔内壁的底部之间。
优选的,所述调节杆的左侧固定连接有第一齿牙,所述旋转轮的表面设置有与第一齿牙相适配的第二齿牙。
优选的,所述固定架包括横连接板,所述横连接板的一端与壳体固定连接,所述横连接板的另一端与斜连接板的一端固定连接,所述斜连接板的另一端与竖连接板固定连接,所述太阳能电池板位于斜连接板的正表面,所述竖连接板远离斜连接板的一端与安装板固定连接。
(三)有益效果
本实用新型提供了一种无人驾驶汽车用障碍物激光测距装置。具备以下有益效果:
1、该无人驾驶汽车用障碍物激光测距装置,电机旋转时通过皮带带动L型支架上的旋转轮旋转,旋转轮旋转时调动调节杆运动,调节杆运动时将第一空腔内部的油液注入第二空腔的内部或者将注入第二空腔内部的油液抽回到第一空腔的内部,从而促使无人驾驶汽车在行使时障碍物激光测距头从壳体的内部弹出或者在停靠时障碍物激光测距头收回壳体的内部,有效的对障碍物激光测距头进行保护,安全性能高,减少了对障碍物激光测距头的维修次数,增加了障碍物激光测距头的使用寿命,方便实用。
2、该无人驾驶汽车用障碍物激光测距装置,通过太阳能电池板为蓄电池进行充电,蓄电池再对微型电机进行供电,有效利用了太阳能,成本低,无污染,节能环保。
附图说明
图1为本实用新型结构示意图;
图2为本实用新型A-A的局部放大图。
图中:1壳体、2固定架、3安装板、4太阳能电池板、5凹槽、6调节箱、7蓄电池、8第一空腔、9第二空腔、10连通管、11调节板、12调节杆、13限位块、14L型支架、15转杆、16旋转轮、17微型电机、18转轴、19皮带、20活动板、21活动杆、22固定板、23螺栓、24障碍物激光测距头、25第一齿牙、26第二齿牙、27横连接板、28斜连接板、29竖连接板。
具体实施方式
下面将结合本实用新型实施例中的附图,对本实用新型实施例中的技术方案进行清楚、完整地描述,显然,所描述的实施例仅仅是本实用新型一部分实施例,而不是全部的实施例。基于本实用新型中的实施例,本领域普通技术人员在没有做出创造性劳动前提下所获得的所有其他实施例,都属于本实用新型保护的范围。
本实用新型实施例提供一种无人驾驶汽车用障碍物激光测距装置,如图1-2所示,包括壳体1,壳体1的两侧均固定连接有固定架2,固定架2远离壳体1的一端固定连接有安装板3,固定架2包括横连接板27,横连接板27的一端与壳体1固定连接,横连接板27的另一端与斜连接板28的一端固定连接,斜连接板28的另一端与竖连接板29固定连接,太阳能电池板4位于斜连接板28的正表面,竖连接板29远离斜连接板28的一端与安装板3固定连接,安装板3远离固定架2的一侧与无人驾驶汽车的车顶焊接,无人驾驶汽车用障碍物激光测距装置通过安装板3与无人驾驶汽车的车顶焊接,固定架2上固定连接有太阳能电池板4,壳体1的顶部开设有凹槽5,凹槽5内壁的底部从左到右依次固定连接有调节箱6和蓄电池7,调节箱6的内部从左到右依次开设有第一空腔8和第二空腔9,第一空腔8通过连通管10与第二空腔9连通,第一空腔8的内部活动连接有调节板11,调节板11的顶部固定连接有调节杆12,调节杆12远离调节板11的一端贯穿调节箱6且延伸至调节箱6的顶部与限位块13固定连接,调节箱6顶部的左侧固定连接有L型支架14,L型支架14上活动连接有转杆15,转杆15的一端贯穿L型支架14且延伸至L型支架14的外部,位于L型支架14内部的转杆15表面固定安装有旋转轮16,旋转轮16的表面与调节杆12的左侧活动连接,调节杆12的左侧固定连接有第一齿牙25,旋转轮16的表面设置有与第一齿牙25相适配的第二齿牙26,壳体1内壁左侧的上方固定安装有微型电机17,微型电机17为正反转电机,正反转电机指的是电子既能顺时针转动又能逆时针转动的电机,微型电机17上设置有转轴18,转轴18的表面通过皮带19与延伸至L型支架14外部的转杆15传动连接,第二空腔9的内部活动连接有活动板20,活动板20的顶部固定连接有活动杆21,活动杆21远离活动板20的一端贯穿调节箱6且延伸至调节箱6的顶部与固定板22固定连接,固定板22通过螺栓23与障碍物激光测距头24的底部螺纹连接,固定板22与障碍物激光测距头24通过螺栓23进行连接,拆卸简单,便于更换,第一空腔8和第二空腔9的内部均设置有油液,第一空腔8内部的油液位于调节板11的底部与第一空腔8内壁的底部之间,第二空腔9内部的油液位于活动板20的底部与第二空腔9内壁的底部之间,当需要升起或者收回障碍物激光测距头24时,无人驾驶汽车车体内部的控制器控制微型电机17旋转,微型电机17旋转时通过皮带19带动L型支架14上的旋转轮16旋转,旋转轮16旋转时带动调节杆12运动,调节杆12运动时将第一空腔8内部的油液注入第二空腔9的内部或者将注入第二空腔9内部的油液抽回到第一空腔8的内部,从而促使无人驾驶汽车在行使时障碍物激光测距头24从凹槽5的内部弹出或者在停靠时障碍物激光测距头24收回凹槽5的内部,有效的对障碍物激光测距头24进行保护,避免障碍物激光测距头24发生损坏,太阳能电池板4通过逆变器与蓄电池7电连接,蓄电池7的输出端与微型电机17电连接,蓄电池7只对微型电机17进行供电,微型电机17的输入端与无人驾驶汽车车体内部的控制器电性连接,无人驾驶汽车车体内部的控制器控制微型电机17旋转,障碍物激光测距头24的输入端与无人驾驶汽车车体内部的汽车电源电连接,障碍物激光测距头24的电源由无人驾驶汽车车体内部的汽车电源提供,通过太阳能电池板4对蓄电池7进行充电,蓄电池7再对微型电机17供电,有效了利用太阳能,降低了成本,节省了人力。
综上所述,该无人驾驶汽车用障碍物激光测距装置,微型电机17旋转时通过皮带19带动L型支架14上的旋转轮16旋转,旋转轮16旋转时带动调节杆12运动,调节杆12运动时将第一空腔8内部的油液注入第二空腔9的内部或者将注入第二空腔9内部的油液抽回到第一空腔8的内部,从而促使无人驾驶汽车在行使时障碍物激光测距头24从凹槽5的内部弹出或者在停靠时障碍物激光测距头24收回凹槽5的内部,有效的对障碍物激光测距头24进行保护,安全性能高,减少了对障碍物激光测距头24的维修次数,增加了障碍物激光测距头24的使用寿命,方便实用。
并且,通过太阳能电池板4为蓄电池7进行充电,蓄电池7再对微型电机17进行充电,有效利用了太阳能,成本低,无污染,节能环保。
需要说明的是,在本文中,诸如第一和第二等之类的关系术语仅仅用来将一个实体或者操作与另一个实体或操作区分开来,而不一定要求或者暗示这些实体或操作之间存在任何这种实际的关系或者顺序。而且,术语“包括”、“包含”或者其任何其他变体意在涵盖非排他性的包含,从而使得包括一系列要素的过程、方法、物品或者设备不仅包括那些要素,而且还包括没有明确列出的其他要素,或者是还包括为这种过程、方法、物品或者设备所固有的要素。在没有更多限制的情况下,由语句“包括一个……限定的要素,并不排除在包括所述要素的过程、方法、物品或者设备中还存在另外的相同要素。
尽管已经示出和描述了本实用新型的实施例,对于本领域的普通技术人员而言,可以理解在不脱离本实用新型的原理和精神的情况下可以对这些实施例进行多种变化、修改、替换和变型,本实用新型的范围由所附权利要求及其等同物限定。
技术研发人员:付云飞,李伊宁,付江,郭青
技术所有人:鄂尔多斯市普渡科技有限公司
备 注:该技术已申请专利,仅供学习研究,如用于商业用途,请联系技术所有人。
声 明 :此信息收集于网络,如果你是此专利的发明人不想本网站收录此信息请联系我们,我们会在第一时间删除
