一种用于无人驾驶汽车的车座的制作方法

本实用新型涉及无人汽车技术领域,具体为一种用于无人驾驶汽车的车座。
背景技术:
无人驾驶汽车是一种智能汽车,也可以称之为轮式移动机器人,主要依靠车内的以计算机系统为主的智能驾驶仪来实现无人驾驶,无人驾驶汽车是通过车载传感系统感知道路环境,自动规划行车路线并控制车辆到达预定目标的智能汽车,随着科技的发展,无人汽车技术也逐渐的成熟,并且在一些地方已经试跑,在不久的将来无人汽车技术将会替代现有的人工驾驶,将会减少交通事故的发生和噪音的产生,在无人汽车中,不仅在驾驶方面做出巨大的改进,车座也与现有技术不同,现有技术中,虽然可以调整车座的倾斜度和位置,但是不方便与坐在后排的人进行交流,使用不方便。
技术实现要素:
本实用新型的目的在于提供一种用于无人驾驶汽车的车座,具备可以随便调整车座的方向,方便交流的优点,解决了现有技术中使用不方便的问题。
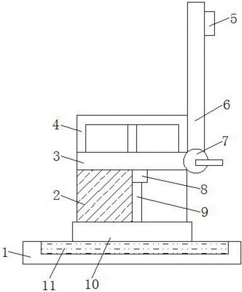
为实现上述目的,本实用新型提供如下技术方案:一种用于无人驾驶汽车的车座,包括支撑座和后座,所述支撑座的上表面开设有矩形滑槽,所述支撑座的上侧设置有支撑板,所述矩形滑槽通过其内部设置的滑块与支撑板滑动连接,所述支撑板上表面的中部开设有轴孔,所述轴孔的外侧开设有环形滑槽,所述支撑板的上侧设置有呈圆筒状的连接板,所述环形滑槽通过其内部设置的滑块与连接板滑动连接,所述连接板的顶部设置有座椅,所述座椅下表面的中部固定连接有连接块,所述连接块的下侧设置有支撑杆,所述支撑杆的两端分别与支撑板和连接块活动连接,所述座椅上表面的两侧均固定连接有把手,所述座椅的一端活动连接有转轴,所述转轴的一侧安装有制动闸,所述座椅通过转轴铰接有靠背。
优选的,所述座椅的外侧套设有海绵垫,所述座椅的内部设置有电加热管,且电加热管的内腔中安装有电加热丝,所述电加热管的上侧和下侧均设置有弹簧片。
优选的,所述后座的下侧设置有固定板,所述后座通过其下表面开设的连接槽与固定板滑动连接,所述固定板上表面的一侧开设有卡槽。
优选的,所述靠背背面的上部固定连接有与卡槽相适配的卡块,所述靠背通过其背面设置的卡块与固定板卡接。
与现有技术相比,本实用新型的有益效果如下:
1、本实用新型通过在车座的下侧设置有支撑板,且支撑板的上表面开设有环形滑槽,乘客可以自由的控制车座的方向,方便与他人进行交流,如果都是陌生人,也可以调向前方做自己的事情,为乘客的使用提供了方便,方便打发时间,可以消除乘车时的无聊,更加的人性化,能够更好的被人们接受,且可以通过矩形滑槽调整车座的位置,使坐起来更加舒适,且本实用新型结构比较简单,使用方便。
2、本实用新型通过在后座的下侧设置有固定板,可以将靠背完全放倒,然后将卡块与卡槽卡接,乘客可以躺着休息,方便在进行长途旅行时进行休息,可以更好的缓解身体的疲劳,方便乘客的使用,而且通过在车座内安装有电加热管,在冬天的时候乘客发出使用汽车的指令之后,控制系统会控制电加热管给车座进行预热,方便乘客使用,避免寒气入侵导致身体不适。
附图说明
图1为本实用新型结构示意图;
图2为本实用新型支撑板俯视图;
图3为本实用新型支撑板仰视图;
图4为本实用新型座椅内部结构示意图;
图5为本实用新型后座结构示意图。
图中:1支撑座、2连接板、3座椅、4把手、5卡块、6靠背、7转轴、8连接块、9支撑杆、10支撑板、11矩形滑槽、12环形滑槽、13轴孔、14滑块、15海绵垫、16弹簧片、17电加热管、18后座、19连接槽、20固定板、21卡槽。
具体实施方式
下面将结合本实用新型实施例中的附图,对本实用新型实施例中的技术方案进行清楚、完整地描述,显然,所描述的实施例仅仅是本实用新型一部分实施例,而不是全部的实施例。基于本实用新型中的实施例,本领域普通技术人员在没有做出创造性劳动前提下所获得的所有其他实施例,都属于本实用新型保护的范围。
请参阅图1-5,一种用于无人驾驶汽车的车座,包括支撑座1和后座18,可以充分利用车内的空间,同时承载更多的人,不仅缓解了交通压力,也方便人们的使用,后座18的下侧设置有固定板20,后座18通过其下表面开设的连接槽19与固定板20滑动连接,在不使用的时候可以将固定板20收缩进后座18下面,避免影响他人的使用,固定板20上表面的一侧开设有卡槽21,可以将靠背6背面的卡块5与卡槽21卡接,方便靠背6的放置,可以起到支撑靠背6的作用,保持靠背6的稳定,方便乘客进行休息,也可以避免靠背6损坏,支撑座1的上表面开设有矩形滑槽11,支撑座1的上侧设置有支撑板10,矩形滑槽11通过其内部设置的滑块14与支撑板10滑动连接,可以通过矩形滑槽11调整车座的位置,使坐起来更加舒适,支撑板10上表面的中部开设有轴孔13,轴孔13的外侧开设有环形滑槽12,支撑板10的上侧设置有呈圆筒状的连接板2,环形滑槽12通过其内部设置的滑块14与连接板2滑动连接,乘客可以自由的控制车座的方向,方便与他人进行交流,如果都是陌生人,也可以调向前方做自己的事情,为乘客的使用提供了方便,方便打发时间,可以消除乘车时的无聊,更加的人性化,能够更好的被人们接受,连接板2的顶部设置有座椅3,座椅3的外侧套设有海绵垫15,使乘客坐起来更加舒适,座椅3的内部设置有电加热管17,且电加热管17的内腔中安装有电加热丝,在冬天的时候乘客发出使用汽车的指令之后,控制系统会控制电加热管17给车座进行预热,方便乘客使用,避免寒气入侵导致身体不适,电加热管17的上侧和下侧均设置有弹簧片16,可以与海绵垫配合使用,起到很好的减震作用,减弱在颠簸的路面行驶时的震动,方便乘客的使用,提高汽车的舒适度,座椅3下表面的中部固定连接有连接块8,连接块8的下侧设置有支撑杆9,可以起到支撑座椅3的作用,分担连接板2的压力,避免座椅3受到损坏,支撑杆9的两端分别与支撑板10和连接块8活动连接,方便调整座椅3的方向,方便乘客之间进行交流,座椅3上表面的两侧均固定连接有把手4,可以保持乘客的稳定,避免乘客休息时摔倒,而且可以减弱汽车转向时乘客身体的晃动,使用更加安全,座椅3的一端活动连接有转轴7,转轴7的一侧安装有制动闸,座椅3通过转轴7铰接有靠背6,方便调整靠背6的角度,使身体更加舒适,缓解身体疲劳,靠背6背面的上部固定连接有与卡槽21相适配的卡块5,靠背6通过其背面设置的卡块5与固定板20卡接,可以将靠背6完全放倒,然后将卡块5与卡槽21卡接,乘客可以躺着休息,方便在进行长途旅行时进行休息,可以更好的缓解身体的疲劳,方便乘客的使用。
工作原理:使用时,乘客上车后,可以通过支撑板10上表面的环形滑槽12自由的调整车座的方向,可以通过转轴7调整靠背6的角度,然后通过矩形滑槽11调整车座的位置,使用起来更加的舒适,而且冬天的时候,座椅3内部的电加热管17可以自动给车座预热,方便乘客的使用。
综上所述:该用于无人驾驶汽车的车座,通过在后座18的下侧设置有固定板20,可以将靠背6完全放倒,然后将卡块5与卡槽21卡接,乘客可以躺着休息,方便在进行长途旅行时进行休息,可以更好的缓解身体的疲劳,方便乘客的使用,而且通过在车座内安装有电加热管17,在冬天的时候乘客发出使用汽车的指令之后,控制系统会控制电加热管17给车座进行预热,方便乘客使用,避免寒气入侵导致身体不适,解决了现有技术中使用不方便的问题。
尽管已经示出和描述了本实用新型的实施例,对于本领域的普通技术人员而言,可以理解在不脱离本实用新型的原理和精神的情况下可以对这些实施例进行多种变化、修改、替换和变型,本实用新型的范围由所附权利要求及其等同物限定。
技术研发人员:付云飞,李伊宁,付江,郭青
技术所有人:鄂尔多斯市普渡科技有限公司
备 注:该技术已申请专利,仅供学习研究,如用于商业用途,请联系技术所有人。
声 明 :此信息收集于网络,如果你是此专利的发明人不想本网站收录此信息请联系我们,我们会在第一时间删除
