一种煤泥水分监测系统的制作方法

:本技术涉及煤矿设备,具体为一种煤泥水分监测系统。
背景技术
0、
背景技术:
1、板框压滤机是一种常见的工业过滤设备,用于固液分离和液体的澄清。它由一系列的滤板和滤框组成,通过交替堆叠形成一个过滤单元,它通过自动压紧、进料、保压、压榨、反吹、拉板、卸料组成。而刮板机是和板框压滤机进行配套使用设备,是运输板框压滤机压榨的煤泥的。
2、通常刮板机以机头高、机尾低进行倾斜设置,机尾设置在板框压滤机出料口的下方,压榨后的煤泥会掉落在刮板机上,通过机尾上的刮板输送到机头处。
3、目前存在的问题是:在板框压滤机压榨煤泥时,存在煤泥压榨不合格的现象,即:煤泥的水分大;水分大会严重影响煤泥的质量,通常是通过人工观测煤泥含水量的多少进行判断,增加了检查的工作量以及存在严重的滞后性,影响生产效率和生产质量,增加岗位工人的工作强度,为了解决这一问题,提出了一种技术方案。
技术实现思路
0、
技术实现要素:
1、本实用新型的目的在于提供一种煤泥水分监测系统,以解决上述背景技术中提出的问题。
2、本实用新型由如下技术方案实施:
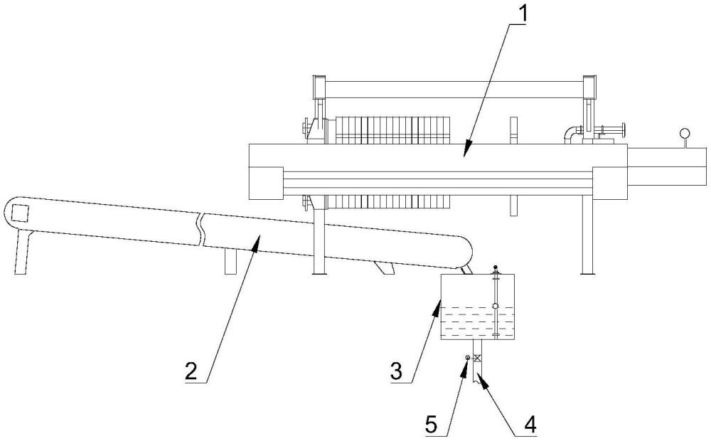
3、一种煤泥水分监测系统,包括板框压滤机和倾斜设置的刮板机,所述刮板机的机尾设置在所述板框压滤机出料口的下方,在所述刮板机的机尾处还固定有导水槽,在所述刮板机的机尾下方还固定设置有收集池,所述收集池的底部连接有排水管,在所述排水管上安装有电动阀,在所述收集池内部竖直安装有浮球开关,所述板框压滤机上安装有和所述刮板机电性连接的控制电路,所述刮板机上安装有煤泥水分监测电路;
4、所述煤泥水分监测电路包括:刮板机上的停止按钮sb1、刮板机上的启动按钮sb2、刮板机主回路上的断路器qf1、设置在刮板机电源主线路上的控制电源断路器qf2、刮板机上的接触器km1、浮球开关上的上限位器k1、浮球开关上的下限位器k2、浮球开关上的上限位中间继电器ka1、浮球开关上的下限位中间继电器ka2、煤泥水分高报警上的中间继电器ka3、收集池上的电动阀开线圈ym开、收集池上的电动阀关线圈ym关、刮板机运行电机上的热继电器fr1、煤泥水分高报警上的指示灯hl1、刮板机运行电机过载报警上的指示灯hl2和刮板机上的电机m1;
5、所述刮板机上的停止按钮sb1、刮板机上的启动按钮sb2、上限位中间继电器ka1的常闭触点、接触器km1的线圈、控制电源断路器qf2和热继电器fr1的常闭触点串联后与电源连接;接触器km1的常开触点与刮板机上的启动按钮sb2并联;上限位器k1的常开触点、下限位中间继电器ka2的常开触点和上限位中间继电器ka1的线圈串联后与电源连接;上限位中间继电器ka1的常开触点与上限位器k1的常开触点并联;下限位器k2的常开触点与下限位中间继电器ka2的线圈串联后与电源连接;上限位中间继电器ka1的常开触点、接触器km1的常闭触点和中间继电器ka3的线圈串联后与电源连接;中间继电器ka3的常开触点与上限位中间继电器ka1的常开触点并联;上限位中间继电器ka1的常开触点与电动阀开线圈ym开的线圈串联后与电源连接;下限位中间继电器ka2的常闭触点、接触器km1的常开触点和电动阀关线圈ym关的线圈串联后与电源连接;
6、所述控制电路包括:板框压滤机上的停止按钮sb3、板框压滤机上的启动按钮sb4、板框压滤机上的断路器qf3、设置在板框压滤机电源主线路上的控制电源断路器qf4、板框压滤机上的接触器km2、板框压滤机运行电机上的热继电器fr2和板框压滤机上的电机m2;
7、所述板框压滤机上的停止按钮sb3、板框压滤机上的启动按钮sb4、接触器km1的常闭触点、接触器km2的线圈和控制电源断路器qf4串联后与电源连接;接触器km2的常开触点与板框压滤机上的启动按钮sb4并联。
8、优选的,接触器km1的主触点串联在断路器qf1与热继电器fr1之间。
9、优选的,中间继电器ka3的常开触点与指示灯hl1串联后与电源连接。
10、优选的,热继电器fr1的常开触点与指示灯hl2串联后与电源连接。
11、优选的,接触器km2的主触点串联在断路器qf3与热继电器fr2之间。
12、优选的,所述刮板机内部自带有导水槽。
13、优选的,所述收集池最大容量为3升,即当浮球到达上限位器k1处,收集池内的泥水达到3升。
14、本实用新型的优点:通过煤泥水分监测装置,通过浮球开关的浮动位置控制两个独立的电路实现对板框压滤机压榨后的煤泥含水量进行监测,一旦当日的煤泥含水量超过3升就会报警,同时该系统通过电路控制,会自动进行对板框压滤机和刮板机停机,方便岗位工人的设备检修。
15、相比原来的处理方式,本申请减轻了岗位工检查煤泥水分高低的滞后性和工作量,提高了煤泥的产品质量和生产效率,减轻了岗位工的工作强度。
技术特征:
1.一种煤泥水分监测系统,包括板框压滤机(1)和倾斜设置的刮板机(2),所述刮板机(2)的机尾设置在所述板框压滤机(1)出料口的下方,其特征在于:在所述刮板机(2)的机尾处还固定有导水槽(2.1),在所述刮板机(2)的机尾下方还固定设置有收集池(3),所述收集池(3)的底部连接有排水管(4),在所述排水管(4)上安装有电动阀(5),在所述收集池(3)内部竖直安装有浮球开关(6),所述板框压滤机(1)上安装有和所述刮板机(2)电性连接的控制电路,所述刮板机(2)上安装有煤泥水分监测电路;
2.根据权利要求1所述的一种煤泥水分监测系统,其特征在于:接触器(km1)的主触点串联在断路器(qf1)与热继电器(fr1)之间。
3.根据权利要求2所述的一种煤泥水分监测系统,其特征在于:中间继电器(ka3)的常开触点与指示灯(hl1)串联后与电源连接。
4.根据权利要求3所述的一种煤泥水分监测系统,其特征在于:热继电器(fr1)的常开触点与指示灯(hl2)串联后与电源连接。
5.根据权利要求1所述的一种煤泥水分监测系统,其特征在于:接触器(km2)的主触点串联在断路器(qf3)与热继电器(fr2)之间。
6.根据权利要求1所述的一种煤泥水分监测系统,其特征在于:所述导水槽(2.1)固定在所述刮板机(2)底板的端部。
7.根据权利要求1所述的一种煤泥水分监测系统,其特征在于:所述收集池(3)最大容量为3升,即当浮球(6.1)到达上限位器(k1)处,收集池(3)内的泥水达到3升。
技术总结
本技术公开了一种煤泥水分监测系统,包括板框压滤机和倾斜设置的刮板机,刮板机的机尾设置在板框压滤机出料口的下方,在刮板机的机尾处还固定有导水槽,在刮板机的机尾下方还固定设置有收集池,收集池的底部连接有排水管,在排水管上安装有电动阀,在收集池内部竖直安装有浮球开关,板框压滤机上安装有和刮板机电性连接的控制电路,刮板机上安装有煤泥水分监测电路;本技术的优点:通过煤泥水分监测装置,通过浮球开关的浮动位置控制两个独立的电路,自动进行对板框压滤机和刮板机停机,方便岗位工人的设备检修。相比原来的处理方式,本申请减轻了岗位工检查煤泥水分高低的滞后性和工作量,提高了煤泥的产品质量和生产效率。
技术研发人员:郝英超,何瑞峰,张永飞,郝天宝,岳俊成,刘志明,杨艳超
受保护的技术使用者:鄂尔多斯市钰泰圆翰技术有限公司
技术研发日:20231130
技术公布日:2024/8/20
技术研发人员:郝英超,何瑞峰,张永飞,郝天宝,岳俊成,刘志明,杨艳超
技术所有人:鄂尔多斯市钰泰圆翰技术有限公司
备 注:该技术已申请专利,仅供学习研究,如用于商业用途,请联系技术所有人。
声 明 :此信息收集于网络,如果你是此专利的发明人不想本网站收录此信息请联系我们,我们会在第一时间删除
