一种复合弯管合金的智能激光切割设备

本发明涉及激光切割,具体为一种复合弯管合金的智能激光切割设备。
背景技术:
1、复合弯管合金为一种经过热处理后的高硬度、强度与韧性的金属合金材料,若采用传统的机械切割,可能会对复合弯管合金的内部结构造成破坏,进而导致复合弯管的合金性能降低,合金的几何尺寸与形状精度被影响,且机械切割方式无法满足复合弯管合金所需的高精度要求,因此通常采用激光切割作为复合弯管合金的切割方式,然而激光切割主要通过高功率密度激光束照射被切割材料,使材料迅速熔化、气化、烧蚀或达到燃点,同时借助与光束同轴的高速气流吹除熔融物质,从而实现将材料割开,若单纯的使用激光高温作为切割复合弯管合金的方式,可能由于激光束可能形成的锥度,造成切割面不平行的问题发生,且激光切割的热影响区较大,会导致切割面的形变较为严重,而激光微射流切割由于通过水流引导激光,激光在水流内全内反射并不断前进,从而对材料表面进行切割,而激光在水流的引导下不会产生锥度,切割面高度平行,并且水流可以带走工件表面热量,使得切割面不会产生形变,因此可以更好的切割复合弯管合金。
2、激光微射流切割主要将水流过耦合系统并通过高质量的金刚石等材质喷嘴进行高强度的水流压缩,以形成高压水射流,而激光束穿过高压水腔中,利用水射流引导激光,当激光到达材料表面后,利用激光的高温特性切割材料表面,以此形成高精度的复合弯管合金的切割工作。
3、然而本领域技术人员发现激光微射流切割虽然可以满足高精度的复合弯管合金的切割要求,但是仍然存在一定的缺陷:当水射流到达工件表面上时,会快速的溅射起来,而激光在水射流内进行全内反射,因此在水射流溅射时,激光的行进路径会发生一定的偏移,降低了一定的切割效率与精度,此外水射流会对熔断的复合弯管合金进行快速的降温处理,而复合弯管合金的切割面由于受热会导致其体积会增大,但当水射流经过时,复合弯管合金的切割面会被快速冷却进而,导致其切割面迅速收缩,从而产生较大的内应力,使得复合弯管合金的表面出现一定的裂纹与变形,从而影响复合弯管合金的性能,基于上述理由,本领域技术人员提出了一种复合弯管合金的智能激光切割设备,以解决上述所存在的问题。
技术实现思路
1、(一)解决的技术问题
2、针对现有技术的不足,本发明提供了一种复合弯管合金的智能激光切割设备,解决了激光微射流工艺由于水射流与复合弯管合金接触时溅射导致激光能量不集中的问题,通过设置在水射流外侧的淬火油油幕,缩小水射流的溅射范围,并通过淬火油对复合弯管合金的切割面进行淬火,使复合弯管合金的切割面以得到满意的淬硬性和淬透性,进而可防止复合弯管合金切割面的开裂和变形。
3、(二)技术方案
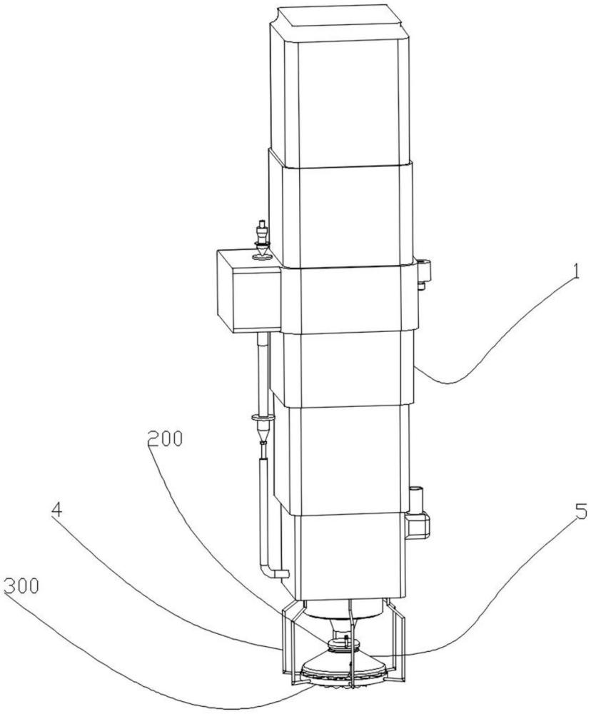
4、为实现以上目的,本发明通过以下技术方案予以实现:一种复合弯管合金的智能激光切割设备,包括水导激光喷头与若干电容式传感器,所述水导激光喷头的下侧壁有若干呈圆周阵列分布的连接杆,若干所述连接杆的另一端连接有淬火油组件,所述淬火油组件的上侧壁靠内侧位置连接有衔接架,所述衔接架的另一端连接有高压风组件,所述淬火油组件包括环形油管、若干分油管路、喷油底座与若干球形喷头,若干所述分油管路连接在环形油管的下侧壁上且若干分油管路的管道与环形油管的管道相连通,若干所述分油管路嵌于喷油底座的上侧壁上,若干所述球形喷头滚动连接在若干分油管路内,若干所述电容式传感器呈圆周阵列分布且安装在喷油底座的下侧壁上,所述高压风组件包括环形风管,所述环形风管下侧壁开设有若干呈圆周阵列分布的排风通道,若干所述排风通道与环形风管内的风道连通,所述喷油底座的上侧壁靠中心轴的位置安装有调节组件,所述喷油底座的上侧壁靠外侧的位置安装有传动组件。
5、优选的,所述环形风管还包括进风管道、若干滑槽与若干滑动挡风块,所述进风管道连接在环形风管的上侧壁靠左侧位置,若干所述滑槽开设在环形风管的下侧壁且分别连接在若干排风通道的外侧,若干所述滑动挡风块限位滑动连接在滑槽内,每个所述滑动挡风块的下侧壁中间靠外侧位置均开设有调节槽。
6、优选的,所述淬火油组件还包括进油管道与若干传动齿轮,所述进油管道连接在环形油管的上侧壁靠左侧位置,若干所述传动齿轮通过轴承安装在分油管路的底部且分别与若干球形喷头连接。
7、优选的,所述调节组件包括调节盘、螺纹管、若干调节杆、若干衔接块、若干调节齿板、若干限位滑块与若干限位架,所述螺纹管贯穿连接在调节盘靠外侧的位置上,若干所述调节杆呈圆周阵列分布且固定连接在调节盘的上侧壁上,若干所述衔接块呈圆周阵列分布且固定连接在调节盘的下侧壁,若干所述调节齿板分别固定连接在若干衔接块的下侧壁,若干所述限位滑块固定连接在调节盘的下侧壁靠外侧的位置,若干所述限位架分别限位滑动连接在若干限位滑块的外侧壁上。
8、优选的,若干所述限位滑块固定连接在喷油底座的上侧壁,若干所述调节齿板分别与若干传动齿轮啮合。
9、优选的,若干所述调节杆的另一端限位滑动连接在若干滑动挡风块的调节槽内。
10、优选的,所述传动组件包括传动电机、电机齿轮、调节轴杆、螺纹头与轴杆齿轮,所述传动电机安装在喷油底座上,所述电机齿轮安装在传动电机的活动端上,所述调节轴杆通过轴承安装在喷油底座上,所述轴杆齿轮安装在调节轴杆的外侧壁,所述轴杆齿轮与电机齿轮啮合,所述螺纹头固定连接在调节轴杆的顶部。
11、优选的,所述螺纹头螺纹连接在螺纹管内。
12、工作原理:冷却油组件通过抽油泵与油箱连接,而高压风组件通过风压风量调节阀与高压风机连接,通过水导激光喷头发出水射流,从而对复合弯管合金进行切割,通过进油管道将淬火油液填装入环形油管中,而分油管路将储于环形油管中的油液分流至若干球形喷头中,从而将淬火油喷出,所喷出的淬火油呈环形,通过进风管道将高压气流引入到环形风管中,而高压气流从环形风管通入到排风通道中,并借由排风通道吹出,所吹出的高压气流与水导激光喷头的中轴线相平行,高压气流作用在淬火油液上,使得淬火油液垂直下降呈现油幕,油幕包裹在水射流外侧,水射流击打在材料上方时,水射流所溅出的较高的水滴,在与喷出的淬火油接触时,由于水与淬火油的表面张力差异,使得淬火油与水滴接触时迅速聚集成团,再通过高压气流将水滴压在复合弯管合金的材料表面,进而防止水射流直接溅射到水导激光喷头上,提高了水导激光喷头的使用寿命,而水射流所溅射出的高度较低的水雾会挂在油幕上,使得水射流的溅射范围大幅缩减,从而提高激光的聚能效应,进而提高了激光的切割效率,而淬火油溅射出的油滴,会被高压风压下,不会进入到水射流内部,同时淬火油可以流向复合弯管合金的切割面,辅助水射流的冷却作用,由于淬火油降温速度慢,使得复合弯管合金的切割面以得到满意的淬硬性和淬透性,进而可防止复合弯管合金切割面的开裂和变形,利用若干电容式传感器可实时监测工件表面到喷油底座的距离,当水导激光喷头升高或是切割深度上升时,工件表面到喷油底座的距离上升,电容式传感器将距离监测信号反馈给控制系统,控制系统控制水导激光喷头的激光聚焦点并控制传动电机转动,当传动电机转动时,会带动轴杆齿轮转动,通过轴杆齿轮带动调节轴杆转动,并通过固定在调节轴杆顶部的螺纹头带动调节组件向上推动,当调节组件向上推动时,调节杆的顶部沿着滑动挡风块中的调节槽滑动,进而将滑动挡风块向着排风通道内移动,此时排风通道出风口面积降低,气流喷出速度更快,从而保持高压气流对油幕的成型效果,同时调节齿板带动传动齿轮转动,从而带动球形喷头的向下方转动,同时球形喷头的出油口与分油管路的出油口完全重合,此时瞬时出油量提升,从而保证了淬火油油幕始终包裹在水射流外侧,同时油幕厚度提升,防止因高度上升,水射流溅射出的水雾击出油幕。
13、(三)有益效果
14、本发明提供了一种复合弯管合金的智能激光切割设备。具备以下技术要点与有益效果:
15、本发明通过水导激光喷头发出水射流,从而对复合弯管合金进行切割,而分油管路将储于环形油管中的油液分流至若干球形喷头中,从而将淬火油喷出,所喷出的淬火油呈环形,而高压气流从环形风管通入到排风通道中,并借由排风通道吹出,所吹出的高压气流与水导激光喷头的中轴线相平行,高压气流作用在淬火油液上,使得淬火油液垂直下降呈现油幕,油幕包裹在水射流外侧,水射流所溅出的较高的水滴,在与喷出的淬火油接触时,由于水与淬火油的表面张力差异,使得淬火油与水滴接触时迅速聚集成团,再通过高压气流将水滴压在复合弯管合金的材料表面,进而防止水射流直接溅射到水导激光喷头上,提高了水导激光喷头的使用寿命,而水射流所溅射出的高度较低的水雾会挂在油幕上,使得水射流的溅射范围大幅缩减,从而提高激光的聚能效应,进而提高了激光的切割效率,而淬火油溅射出的油滴,会被高压风压下,不会进入到水射流内部,同时淬火油可以流向复合弯管合金的切割面,辅助水射流的冷却作用,由于淬火油降温速度慢,使得复合弯管合金的切割面以得到满意的淬硬性和淬透性,进而可防止复合弯管合金切割面的开裂和变形。
技术研发人员:符学龙,刘欢,嵇正波,林伟
技术所有人:江苏财经职业技术学院
备 注:该技术已申请专利,仅供学习研究,如用于商业用途,请联系技术所有人。
声 明 :此信息收集于网络,如果你是此专利的发明人不想本网站收录此信息请联系我们,我们会在第一时间删除
