一种夹持切割装置的制作方法

本技术涉及金属物料切割领域,具体涉及一种夹持切割装置。
背景技术:
1、金属桌是一种以金属为材料制作而成的桌体,目前金属桌通常由金属支腿和金属面板组成,在组装的过程中,需要根据尺寸要求对金属支腿或金属面板切割,然后对切割完成的金属支腿和金属面板进行焊接固定。
2、然而当金属支腿或金属面板等物料需要切割作业时,需要提前测量好切割的距离位置,然后在该位置进行标记,接着利用夹具对物料进行夹持固定,最后再利用切割装置对物料进行切割,现有的夹具和切割装置都是分离的,并且大多都是夹具装在工作台两侧,切割装置装在工作台上方,不仅占用体积较大,且操作较为繁琐,不便于携带到室外进行作业,具有较大的局限性。
3、因此,发明一种夹持切割装置很有必要。
技术实现思路
1、本实用新型的目的是为解决上述背景技术中提出的问题。
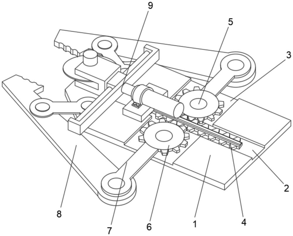
2、为了实现上述目的,本实用新型提供如下技术方案:一种夹持切割装置,包括固定座和移动槽,所述移动槽开设在固定座的上端中间,所述移动槽的两侧对称开设有凹槽,所述移动槽内部安装有齿条,所述凹槽内部安装有连接轴,所述连接轴上端转动连接有推动齿轮,所述推动齿轮远离齿条的一侧安装有连杆,所述连杆远离推动齿轮的一端安装有夹持臂,所述固定座的上端设置有切割组件。
3、基于上述特征:当齿条向前推动时,齿条将在移动槽内部向前移动并于推动齿轮发生啮合,在此推动齿轮可以通过连接轴在凹槽内部发生转动,而推动齿轮也就同时通过连杆拉动夹持臂向后移动,此时夹持臂将无法对物料进行夹持固定,而当齿条向后拉动时,齿条将带动推动齿轮反转,此时推动齿轮将通过连杆拉动夹持臂向前移动,最后两个夹持臂可以对物料进行夹持固定,当物料夹持固定后,可以利用切割组件对物料进行切割。
4、优选的,所述移动槽的上端固定安装有定位座,所述定位座表面对称开设有螺纹孔,所述定位座底面中间开设有防脱槽。
5、基于上述特征:定位座可以在移动槽的上方对齿条进行限位,并且也可以在切割组件的底部进行支撑固定。
6、优选的,所述齿条的上端固定安装有防脱凸条,所述防脱凸条与防脱槽滑动连接。
7、基于上述特征:齿条利用防脱凸条在定位座底面的防脱槽内限位滑动,避免齿条前后移动时一端向上翘起,影响切割组件的切割效果。
8、优选的,所述夹持臂与固定座之间活动铰接有助力臂,所述夹持臂远离连杆的一侧安装有夹板,所述夹板表面开设有防滑齿。
9、基于上述特征:夹持臂利于夹板对物料夹持固定,设置的防滑齿避免夹板夹持物料时发生打滑的状况。
10、优选的,所述切割组件包括推动气缸以及所述推动气缸活动端安装的无杆气缸,所述无杆气缸的一侧滑动连接有导向滑块,所述导向滑块远离无杆气缸的一侧安装有刀架。
11、基于上述特征:推动气缸可以带动无杆气缸和刀架前后伸缩调节,而无杆气缸可以通过导向滑块带动刀架左右移动调节,方便夹持臂夹持物料后可以对物料进行切割作业。
12、优选的,所述推动气缸的外部安装有固定卡箍。
13、基于上述特征:当推动气缸放在定位座的上端时,固定卡箍可以卡在推动气缸的外部,使固定卡箍的两侧与定位座贴合,最后再利用螺栓对固定卡箍固定,提高固定效果,尽量避免推动气缸发生移动。
14、优选的,所述刀架的中间安装有切割刀片,所述刀架的上端安装有切割电机。
15、基于上述特征:当切割电机启动后,可以带动切割刀片旋转对物料进行切割。
16、本实用新型的有益效果是:
17、1、将夹持装置与切割装置组合为一体式结构,方便外出携带使用,当齿条在移动槽内部向前移动时,齿条将与推动齿轮发生啮合,这时推动齿轮可以通过连接轴在凹槽内部发生转动,而推动齿轮也将同时通过连杆拉动夹持臂向后移动,此时夹持臂将无法对物料进行夹持固定,当齿条向后拉动时,齿条将带动推动齿轮反转,此时推动齿轮将通过连杆拉动夹持臂向前移动,最后两个夹持臂可以对物料进行夹持固定,当物料被夹持固定后,推动气缸可以带动无杆气缸、刀架和切割刀片前后伸缩调节,而无杆气缸可以通过导向滑块带动刀架左右移动调节,方便对夹持的物料进行切割作业。
18、2、齿条在移动槽内部导向移动,并且利用防脱凸条在防脱槽内部滑动,避免齿条在推拉操作时发生左右偏移,同时定位座可以在推动气缸下方支撑固定,并且定位座也可以在移动槽的上方对齿条进行限位,避免齿条前后移动时一端向上翘起,影响切割组件的切割效果。
技术特征:
1.一种夹持切割装置,包括固定座(1)和移动槽(2),所述移动槽(2)开设在固定座(1)的上端中间,其特征在于:所述移动槽(2)的两侧对称开设有凹槽(3),所述移动槽(2)内部安装有齿条(4),所述凹槽(3)内部安装有连接轴(5),所述连接轴(5)上端转动连接有推动齿轮(6),所述推动齿轮(6)远离齿条(4)的一侧安装有连杆(7),所述连杆(7)远离推动齿轮(6)的一端安装有夹持臂(8),所述固定座(1)的上端设置有切割组件(9)。
2.根据权利要求1所述的一种夹持切割装置,其特征在于:所述移动槽(2)的上端固定安装有定位座(21),所述定位座(21)表面对称开设有螺纹孔(22),所述定位座(21)底面中间开设有防脱槽(23)。
3.根据权利要求2所述的一种夹持切割装置,其特征在于:所述齿条(4)的上端固定安装有防脱凸条(41),所述防脱凸条(41)与防脱槽(23)滑动连接。
4.根据权利要求1所述的一种夹持切割装置,其特征在于:所述夹持臂(8)与固定座(1)之间活动铰接有助力臂(81),所述夹持臂(8)远离连杆(7)的一侧安装有夹板(82),所述夹板(82)表面开设有防滑齿(83)。
5.根据权利要求1所述的一种夹持切割装置,其特征在于:所述切割组件(9)包括推动气缸(91)以及所述推动气缸(91)活动端安装的无杆气缸(92),所述无杆气缸(92)的一侧滑动连接有导向滑块(93),所述导向滑块(93)远离无杆气缸(92)的一侧安装有刀架(94)。
6.根据权利要求5所述的一种夹持切割装置,其特征在于:所述推动气缸(91)的外部安装有固定卡箍(911)。
7.根据权利要求5所述的一种夹持切割装置,其特征在于:所述刀架(94)的中间安装有切割刀片(941),所述刀架(94)的上端安装有切割电机(942)。
技术总结
本技术涉及金属物料切割领域,具体涉及一种夹持切割装置,其技术方案是:包括固定座和移动槽,移动槽的两侧对称开设有凹槽,移动槽内部安装有齿条,凹槽内部安装有连接轴,连接轴上端转动连接有推动齿轮,推动齿轮远离齿条的一侧安装有连杆,连杆远离推动齿轮的一端安装有夹持臂,固定座的上端设置有切割组件,本技术的有益效果是:当齿条向后拉动时,齿条将带动推动齿轮反转,此时推动齿轮将通过连杆拉动夹持臂向前移动,最后两个夹持臂可以对物料进行夹持固定,当物料被夹持固定后,推动气缸可以带动无杆气缸、刀架和切割刀片前后伸缩调节,而无杆气缸可以通过导向滑块带动刀架左右移动调节,方便对夹持的物料进行切割作业。
技术研发人员:钟林,胡玉
受保护的技术使用者:天津市意鑫隆自动化设备有限公司
技术研发日:20231130
技术公布日:2024/8/20
技术研发人员:钟林,胡玉
技术所有人:天津市意鑫隆自动化设备有限公司
备 注:该技术已申请专利,仅供学习研究,如用于商业用途,请联系技术所有人。
声 明 :此信息收集于网络,如果你是此专利的发明人不想本网站收录此信息请联系我们,我们会在第一时间删除
