油水分离器的制作方法

本实用新型涉及一种油水分离器。
背景技术:
在机加工流水线上会产生许多清洗液,清洗液中带有较多的废油,在去除这些废油的时候需要用到油水分离器,以往的油水分离器主要存在这些缺陷:刮油板只设置一块,通常只对吸油皮带的外表面进行刮油,内表面的油不刮,刮油效率不高;其次,吸油皮带一般也会吸进清洗液,清洗液在与皮带轮大力挤压的时候会被挤压出来,而这些清洗液以往都是直接落入导油槽内,影响油水分离的质量。
技术实现要素:
本实用新型要解决的技术问题是:克服现有技术的不足,提供一种油水分离器,解决以往油水分离质量差的缺陷。
本实用新型解决其技术问题所采用的技术方案是:一种油水分离器,包括设置在切削液箱上端的分离箱以及位于切削液箱内的配重轮,所述分离箱的上端设置有电机,所述电机连接皮带轮,所述皮带轮与配重轮之间连接有吸油皮带,所述配重轮的下端倾斜设置有内刮油板和外刮油板,所述内刮油板和外刮油板下方设置有导油盒;
所述吸油皮带包括上升侧边和下降侧边,所述内刮油板的上端与吸油皮带的上升侧边接触,所述外刮油板的上端与吸油皮带的下降侧边接触。
进一步的,所述皮带轮的下方设置有集水槽,所述集水槽下端连接出水管,所述出水管连接切削液箱。
进一步的,所述内刮油板与吸油皮带上升侧边的内侧面接触,所述外刮油板与吸油皮带下降侧边的外侧面接触。
本实用新型的有益效果是:内外刮油板对吸油皮带进行内外刮油,提升对吸油皮带的刮油效果,提升油水分离效果。
集水槽的设置可以收集从皮带轮上低落下来的清洗液,避免这些清洗液落入导油盒内。
附图说明
下面结合附图对本实用新型进一步说明。
图1是油水分离器的主视图;
图2是油水分离器的立体图;
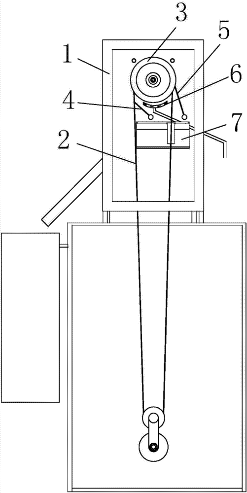
其中,1、分离箱,2、吸油皮带,3、皮带轮,4、内刮油板,5、外刮油板,6、集水槽,7、导油盒。
具体实施方式
现在结合附图对本实用新型作进一步的说明。这些附图均为简化的示意图仅以示意方式说明本实用新型的基本结构,因此其仅显示与本实用新型有关的构成。
如图1图2所示,一种油水分离器,包括设置在切削液箱上端的分离箱1以及位于切削液箱内的配重轮,分离箱1的上端设置有电机,电机连接皮带轮3,皮带轮3与配重轮之间连接有吸油皮带2,配重轮的下端倾斜设置有内刮油板4和外刮油板5,所述内刮油板4和外刮油板5下方设置有导油盒7。
吸油皮带2包括上升侧边和下降侧边,内刮油板4的上端与吸油皮带2的上升侧边接触,外刮油板5的上端与吸油皮带2的下降侧边接触。内外刮油板5的设置提升对吸油皮带2的刮油效果。
皮带轮3的下方设置有集水槽6,集水槽6下端连接出水管,出水管连接切削液箱。由于皮带轮3较大,吸油皮带2在与皮带轮3接触的时候压力较大,往往可以将吸油皮带2内的清洗液挤压出来,为避免这些清洗液滴入导油盒7内,设计了该集水槽6,集水槽6收集清洗液以及部分废水,这部分直接排入切削液箱。
内刮油板4与吸油皮带2上升侧边的内侧面接触,外刮油板5与吸油皮带2下降侧边的外侧面接触。此处设置也是本实用新型的一个重点,内刮油板4先将吸油皮带2上升侧边的内侧面上的污水刮去之后,这部分皮带接下来就与皮带轮3接触,由于先被内刮油板4刮去,可以尽量被皮带轮3挤出废油,而此时,皮带轮3对吸油皮带2外表面的油污影响并不大,随着吸油皮带2继续运动至下降边,这时正好被外刮油板5刮去吸油皮带2下降侧边的外侧面的废油;两个刮油板先刮内表面,再经过皮带轮3,最后刮外表面,这样的设计,提升刮油率的提升,也避免废油和清洗液一起被皮带轮3挤出的缺陷。
以上述依据本实用新型的理想实施例为启示,通过上述的说明内容,相关工作人员完全可以在不偏离本项实用新型技术思想的范围内,进行多样的变更以及修改。本项实用新型的技术性范围并不局限于说明书上的内容,必须要根据权利要求范围来确定其技术性范围。
技术研发人员:毛红燕
技术所有人:江苏博隆环保设备有限公司
备 注:该技术已申请专利,仅供学习研究,如用于商业用途,请联系技术所有人。
声 明 :此信息收集于网络,如果你是此专利的发明人不想本网站收录此信息请联系我们,我们会在第一时间删除
