可调节油水分离器的制作方法

本实用新型涉及一种可调节油水分离器。
背景技术:
在机加工流水线上会产生许多清洗液,清洗液中带有较多的废油,在去除这些废油的时候需要用到油水分离器,油水分离器包括分离箱和分离中间箱,分离箱设置皮带、刮油板、导油盒,通过三者配合将废油刮入导油盒内,再由导油盒引入分离中间箱内,通入分离中间箱内废油仍会包含一定的清洗液,通过分离中间箱上的溢流口流出油污,底部的清洗液在人工清理,因此,在分离中间箱的使用中存在不方便。
技术实现要素:
本实用新型要解决的技术问题是:克服现有技术的不足,提供一种可调节油水分离器。
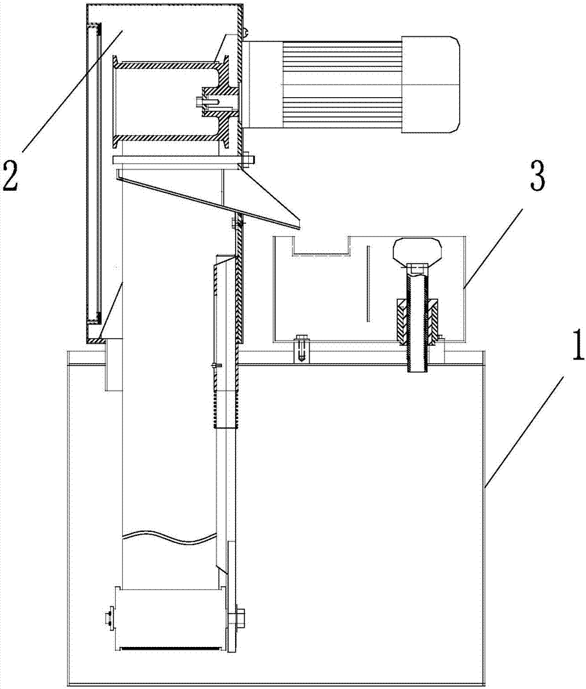
本实用新型解决其技术问题所采用的技术方案是:一种可调节油水分离器,包括切削液箱、分离箱以及分离中间箱,所述分离中间箱包括上端开口的箱体,所述箱体内竖直设置有隔板,该隔板将箱体内腔分隔成分离腔和调节腔,所述隔板下端与箱底之间形成用于连通分离腔和调节腔的通道,所述分离腔一侧的箱体侧壁上开设有溢流口,该溢流口低于隔板的上端,所述调节腔的底部设置有可做上下调节的导管,所述导管竖直设置,所述导管与箱体之间形成螺旋配合,所述导管的下端伸入切削液箱内。
进一步的,所述调节腔的底部设置有导管座,所述导管座上设置有导套,所述导套内设置有内螺纹,所述导管的外部形成螺纹段,所述导管与导套之间形成螺旋配合。
进一步的,所述导管包括管体,所述管体的上端设置有用于带动管体转动的调节板,所述调节板下端与管体进口之间进液口。
本实用新型的有益效果是:隔板将分离中间箱内腔一分为二,可以分别废油和清洗液,防止废油进入调节腔内,通过控制导管上端进口的高度可以控制箱体内整个液面的高度,便于将进入箱体内的废油从溢流口排出以及将清洗液从从导管排入切削液箱内。
附图说明
下面结合附图对本实用新型进一步说明。
图1是油水分离器的示意图;
图2是中间分离箱的示意图;
图3是导管的示意图;
其中,1、切削液箱,2、分离箱,3、分离中间箱,4、隔板,5、溢流口,6、导管,61、调节板,7、导管座,8、导套。
具体实施方式
现在结合附图对本实用新型作进一步的说明。这些附图均为简化的示意图仅以示意方式说明本实用新型的基本结构,因此其仅显示与本实用新型有关的构成。
如图1至图3所示,一种可调节油水分离器,包括切削液箱1、分离箱2以及分离中间箱3,分离中间箱3包括上端开口的箱体,箱体内竖直设置有隔板4,该隔板4将箱体内腔分隔成分离腔和调节腔,隔板4下端与箱底之间形成用于连通分离腔和调节腔的通道,分离腔一侧的箱体侧壁上开设有溢流口5,该溢流口5低于隔板4的上端,调节腔的底部设置有可做上下调节的导管6,导管6竖直设置,导管6与箱体之间形成螺旋配合,导管6的下端伸入切削液箱1内。
具体的,调节腔的底部设置有导管座7,导管座7上设置有导套8,导套8内设置有内螺纹,导管6的外部形成螺纹段,导管6与导套8之间形成螺旋配合。
导管6包括管体,管体的上端设置有用于带动管体转动的调节板61,调节板61下端与管体进口之间进液口。
作业时,先往分离中间箱3内添加一定的清洗液,使清洗液高出隔板4下端,然后分离箱2中排出的废油和清洗液落入分离腔,油比水轻,因此漂浮在清洗液上,随着废油和清洗液的不断排入,分离腔和调节腔的清洗液高度不断增高,两腔内的清洗液高度等高,废油因隔板4存在不会进入调节腔内,随着高度不断上升,废油最终从溢流口5排出,调节腔内导管6高度可以调节,当导管6上端低于清洗液时便将废水排入切削液箱1内。
以上述依据本实用新型的理想实施例为启示,通过上述的说明内容,相关工作人员完全可以在不偏离本项实用新型技术思想的范围内,进行多样的变更以及修改。本项实用新型的技术性范围并不局限于说明书上的内容,必须要根据权利要求范围来确定其技术性范围。
技术研发人员:刘贤伟
技术所有人:江苏博隆环保设备有限公司
备 注:该技术已申请专利,仅供学习研究,如用于商业用途,请联系技术所有人。
声 明 :此信息收集于网络,如果你是此专利的发明人不想本网站收录此信息请联系我们,我们会在第一时间删除
