一种多道流程加热的黄曲霉毒素免疫亲和柱的制作方法

本实用新型涉及试剂检测领域,具体涉及一种多道流程加热的黄曲霉毒素免疫亲和柱。
背景技术:
现有的亲和柱都是一根简单的柱子,用于盛装相应的药品,在使用时需要倒入检测药物。真菌毒素检测前最有效的方式是通过免疫亲和吸附作用特异性将毒素分子从待检样品的复杂组分中分离出来,由于抗原和抗体的结合受温度影响较大,因此不进行控温会对检测的结构带来极大的误差,无法满足实际使用时的需求,因此亟需设计一种多道流程加热的黄曲霉毒素免疫亲和柱来解决现有技术中的问题。
技术实现要素:
本实用新型的目的是针对上述现有技术的缺陷,提供了一种多道流程加热的黄曲霉毒素免疫亲和柱,促进了抗原和抗体的结合效率和质量,有效提高了检测的效率。
本实用新型的目的可以通过以下技术方案实现:
一种多道流程加热的黄曲霉毒素免疫亲和柱,包括柱体、流出管、盖子、支架、刺穿棒、柱体上沿、塞子、通透腔、防滑纹、盖子上沿、衔接凸块、加热箱体、加热电机、第一安装框、第一加热管、第二安装框、第二加热管、第三安装框、第三加热管和进料套架,所述流出管位于柱体的下方,在流出管上套有盖子,所述塞子位于柱体的顶端,所述柱体的中部设有两个支架,所述支架的内夹有刺穿棒,所述盖子的下半端设有防滑纹,所述盖子的上方设有衔接凸块,在衔接凸块的下边缘设有盖子上沿,所述塞子的内部设有通透腔,所述柱体的顶部设有柱体上沿,所述刺穿棒底部为尖部,所述塞子由橡胶制成,所述柱体河沿上刻度,所述柱体的外周安装有加热箱体,所述加热箱体的外周安装有加热电机,所述加热箱体的上短暂有第一安装框,所述第一安装框的内部安装有多个第一加热管,所述第一安装框远离加热箱体的一端安装有第三安装框,所述第三安装框上安装有进料套架,所述第三安装框的内壁上安装有第三加热管,所述加热箱体的下端安装有第二安装框,所述第二安装框的内壁上安装有第二加热管。
优选地,所述第三安装框所为围成的结构为类球体。
优选地,所述第一安装框安装在柱体的外周,且所述第一安装框内壁上的第一加热管与柱体不接触。
优选地,所述第二安装框内壁上的第二加热管与流出管不接触。
本实用新型可以方便的将液体提交封闭在新型免疫亲和柱中,而不不会失效,减少了操作步骤,带有刺穿棒可以快速实现对塞子的刺穿,在盖子上设有盖子上沿可以方便的与外部检测装置相匹配,柱体上带有刻度,可以清楚的了解免疫亲和柱内试剂的量。
附图说明
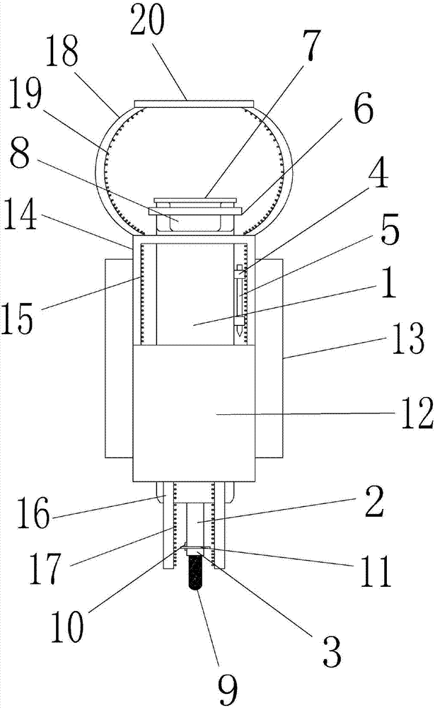
图1是本实用新型提出的一种多道流程加热的黄曲霉毒素免疫亲和柱的主视结构示意图;
图中,1、柱体;2、流出管;3、盖子;4、支架;5、刺穿棒;6、柱体上沿;7、塞子;8、通透腔;9、防滑纹;10、盖子上沿;11、衔接凸块;12、加热箱体;13、加热电机;14、第一安装框;15、第一加热管;16、第二安装框;17、第二加热管;18、第三安装框;19、第三加热管;20、进料套架。
具体实施方式
下面结合附图对本实用新型的具体实施方式做进一步详细说明:
如图1所示,图1是本实用新型提出的一种多道流程加热的黄曲霉毒素免疫亲和柱的主视结构示意图。
参照图1,本实用新型提出的一种多道流程加热的黄曲霉毒素免疫亲和柱,包括柱体1、流出管2、盖子3、支架4、刺穿棒5、柱体上沿6、塞子7、通透腔8、防滑纹9、盖子上沿10、衔接凸块11、加热箱体12、加热电机13、第一安装框14、第一加热管15、第二安装框16、第二加热管17、第三安装框18、第三加热管19和进料套架20,所述流出管2位于柱体1的下方,在流出管2上套有盖子,所述塞子7位于柱体1的顶端,所述柱体1的中部设有两个支架4,所述支架4的内夹有刺穿棒5,所述盖子的下半端设有防滑纹1,所述盖子3的上方设有衔接凸块11,在衔接凸块11的下边缘设有盖子上沿10,所述塞子7的内部设有通透腔8,所述柱体1的顶部设有柱体上沿6,所述刺穿棒5底部为尖部,所述塞子7由橡胶制成,所述柱体1河沿上刻度,所述柱体1的外周安装有加热箱体12,所述加热箱体12的外周安装有加热电机13,所述加热箱体12的上短暂有第一安装框14,所述第一安装框14的内部安装有多个第一加热管15,所述第一安装框14远离加热箱体12的一端安装有第三安装框18,所述第三安装框18上安装有进料套架20,所述第三安装框18的内壁上安装有第三加热管19,所述加热箱体12的下端安装有第二安装框16,所述第二安装框16的内壁上安装有第二加热管17。
在具体实施方式中,所述第三安装框18所为围成的结构为类球体,为入料提供了足够的空间,避免加热管对入料产生不利的影响。
在具体实施方式中,所述第一安装框14安装在柱体1的外周,且所述第一安装框14内壁上的第一加热管15与柱体1不接触,通过空气进行传热,不仅更均匀,而且加热的效果更好,控温也更加科学。
在具体实施方式中,所述第二安装框16内壁上的第二加热管17与流出管2不接触,通过空气进行传热,不仅更均匀,而且加热的效果更好,控温也更加科学。
当本实用新型投入使用时,通过加热电机13对加热箱体12、第一安装框14内壁上的第一加热管15、第二安装框16内壁上的第二加热管17和第三安装框18内壁上的第三加热管19进行通电工作,以实现第一加热管15、第二加热管17和第三安装框18通过对空气进行加热,实现对入料的料液、柱体1内的料液,以及流出管2内的料液进行控温,以提高抗原和抗体的结合效率和质量,使得检测的数据更加准确。
以上显示和描述了本实用新型的基本原理和主要特征和本实用新型的优点。本行业的技术人应该了解,本实用新型不受上述实施例的限制,上述实施例和说明书中描述的只是说明本实用新型的原理,在不脱离本实用新型精神和范围的前提下,本实用新型还会有各种变化和改进,这些变化和改进都落入要求保护的本实用新型范围内。本实用新型要求保护范围由所附的权利要求书及其等效物界定。
技术研发人员:崔谱,李丰伯,姚婷
技术所有人:黄山学院
备 注:该技术已申请专利,仅供学习研究,如用于商业用途,请联系技术所有人。
声 明 :此信息收集于网络,如果你是此专利的发明人不想本网站收录此信息请联系我们,我们会在第一时间删除
