面包自动化生产用高速排盘的制作方法

本技术涉及自动化排盘,特别是涉及面包自动化生产用高速排盘。
背景技术:
1、排盘机是处理面带或者其他产品成型机后面的一道工序,目的把前面成型的面包片按照一定的规则序列排放在烘盘上,然后由烘盘传入隧道炉进行烘烤。
2、在中国专利公告号201620355235.7中公开的一种自动排盘机,本实用新型涉及排盘机技术领域,更具体地涉及一种自动排盘机,包括机体,机体上的物料传送装置,物料移放装置,排料盘装置,所述物料移放装置设置在物料传送装置尾端上方,所述排料盘装置安装在物料移放装置下方,本实用新型公开的自动排盘机,通过物料传送装置,物料移放装置,排料盘装置,使物料快速有序地被排列在器皿内,方便运送到物料加工点,充分利用加工点技术生产优质产品。
3、本此实用新型存在一定的弊端:排盘机在进行面包的排盘时不能良好的保持面包的形状,同时在运送的时候会发生抖动,机器在运作中会出现颤动,物料容易从机体上掉落。
技术实现思路
1、为克服现有技术存在的技术缺陷,本实用新型提供面包自动化生产用高速排盘,以解决排盘机在进行面包的排盘时不能良好的保持面包的形状,同时在运送的时候物料容易从机体上掉落的问题。
2、本实用新型采用的技术解决方案是:面包自动化生产用高速排盘,包括排盘机体,所述排盘机体底端固定连接有机体基座,所述排盘机体顶部一端开设有面包投放口,所述排盘机体顶端固定连接有电机保护壳,所述排盘机体内壁固定连接有第一固定板,所述排盘机体顶端固定连接有传动电机,所述第一固定板内壁活动连接有运输轴,所述运输轴表面活动连接有运输带,所述运输轴一端活动连接有运输电机带,所述运输电机带一端活动连接有运输电机,所述机体基座顶端固定连接有第二固定板,所述第二固定板内壁活动连接有输送轴,所述输送轴表面活动连接有输送带,且所述传动电机在电机保护壳体内空腔中,所述第一固定板在机体基座顶端固定连接,所述运输电机固定连接在机体基座的内壁顶端。
3、优选的,所述输送带表面固定连接有多个定格板,所述定格板一端活动连接有排盘,所述排盘体内开设有排盘孔,且所述排盘活动连接在输送带表面上。
4、优选的,所述传动电机一端固定连接有转动杆,所述转动杆一端固定连接有输送盘,所述转动杆一端活动连接有输送杆,且所述输送杆活动连接在输送盘顶端。
5、优选的,所述输送盘表面固定连接有输送盘壁,所述输送盘体内开设有落入口。
6、优选的,所述输送轴一端活动连接有输送电机带,所述输送电机带一端活动连接有输送电机,且所述输送电机在排盘机体一端固定连接。
7、优选的,所述排盘机体一侧活动连接有收集柜,所述收集柜内壁设有收集板。
8、本实用新型的有益效果是:
9、1、本实用新型通过设计落入口与排盘孔,将面包输送至落入口,排盘位于输送盘的正下方位置,排盘孔是作为面包的一个落入孔位,收集柜可以将落入好面包的排盘进行收集放置收集板,设置排盘孔和落入口可以更加完善的保持面包的一个完整形状。
10、2、本实用新型设计传送带和上面的定格板来进行对排盘的运输,输送带是可以进行排盘的一个输送,定格板可以让每个排盘可以均匀的进行分布,同时也可以更精准的对应输送盘的位置,让排盘机可以更好的稳定工作。
技术特征:
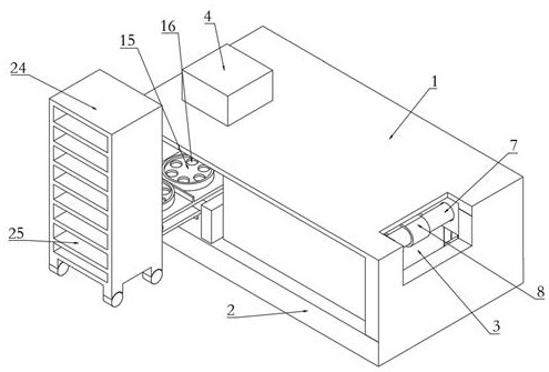
1.面包自动化生产用高速排盘,其特征在于:包括排盘机体(1),所述排盘机体(1)底端固定连接有机体基座(2),所述排盘机体(1)顶部一端开设有面包投放口(3),所述排盘机体(1)顶端固定连接有电机保护壳(4),所述排盘机体(1)内壁固定连接有第一固定板(5),所述排盘机体(1)顶端固定连接有传动电机(6),所述第一固定板(5)内壁活动连接有运输轴(7),所述运输轴(7)表面活动连接有运输带(8),所述运输轴(7)一端活动连接有运输电机带(9),所述运输电机带(9)一端活动连接有运输电机(10),所述机体基座(2)顶端固定连接有第二固定板(11),所述第二固定板(11)内壁活动连接有输送轴(12),所述输送轴(12)表面活动连接有输送带(13),且传动电机(6)位于电机保护壳(4)体内空腔中,所述第一固定板(5)固定连接在机体基座(2)的顶端,所述运输电机(10)固定连接在机体基座(2)的内壁顶端。
2.根据权利要求1所述的面包自动化生产用高速排盘,其特征在于:所述输送带(13)表面固定连接有多个定格板(14),所述定格板(14)一端活动连接有排盘(15),所述排盘(15)内壁开设有排盘孔(16),且排盘(15)活动连接在输送带(13)表面上。
3.根据权利要求1所述的面包自动化生产用高速排盘,其特征在于:所述传动电机(6)一端固定连接有转动杆(20),所述转动杆(20)一端固定连接有输送盘(17),所述转动杆(20)一端活动连接有输送杆(21),且输送杆(21)活动连接在输送盘(17)顶端。
4.根据权利要求3所述的面包自动化生产用高速排盘,其特征在于:所述输送盘(17)表面固定连接有输送盘壁(18),所述输送盘(17)内壁开设有落入口(19)。
5.根据权利要求1所述的面包自动化生产用高速排盘,其特征在于:所述输送轴(12)一端活动连接有输送电机带(22),所述输送电机带(22)一端活动连接有输送电机(23),且输送电机(23)固定连接在排盘机体(1)一端。
6.根据权利要求1所述的面包自动化生产用高速排盘,其特征在于:所述排盘机体(1)一侧活动连接有收集柜(24),所述收集柜(24)内壁活动连接有收集板(25)。
技术总结
本技术公开了面包自动化生产用高速排盘,包括排盘机体,所述排盘机体底端固定连接有机体基座,所述排盘机体顶部一端开设有面包投放口,所述排盘机体顶端固定连接有电机保护壳,所述排盘机体内壁固定连接有第一固定板,所述排盘机体顶端固定连接有传动电机,本技术通过设计落入口与排盘孔,排盘位于输送盘的正下方位置,排盘孔是作为面包的一个落入孔位,收集柜可以将落入好面包的排盘进行收集放置收集板,排盘孔和落入口可以更加完善的保持面包的完整形状,设计传送带和上面的定格板来进行对排盘的运输,定格板可以让每个排盘可以均匀的进行分布,同时也可以更精准的对应输送盘的位置,让排盘机可以更好的稳定工作。
技术研发人员:郭继光,郭旭,黄俊杰,黄雄英,陈剑冰
受保护的技术使用者:福建复茂食品有限公司
技术研发日:20240117
技术公布日:2024/9/2
技术研发人员:郭继光,郭旭,黄俊杰,黄雄英,陈剑冰
技术所有人:福建复茂食品有限公司
备 注:该技术已申请专利,仅供学习研究,如用于商业用途,请联系技术所有人。
声 明 :此信息收集于网络,如果你是此专利的发明人不想本网站收录此信息请联系我们,我们会在第一时间删除
