一种施工用防护设备的制作方法

本技术涉及建筑施工设备,具体为一种施工用防护设备。
背景技术:
1、爆破工程是指利用炸药进行土、石方开挖,基础、建筑物、构筑物的拆除或破坏的一种施工方法,炸药的种类很多,在建筑工程施工中常用的炸药主要有硝铵炸药、硝化甘油炸药及黑火药等,而在爆炸施工过程中经常会有碎石子等杂物被崩飞,操作人员远离爆炸范围的话并不会受到伤害,而如果有需要观察现场或其他需要接近爆炸范围的情况下,操作人员需要提前搭建防护措施来对自身安全进行保护。
2、如申请号为201921689342.3,的专利文件公开了一种爆破施工用防护结构,该实用新型涉及建筑施工设备技术领域,且公开了一种爆破施工用防护结构,包括机体,所述机体的底部开设有空腔,所述空腔顶部的前后两侧均开设有放置槽,所述放置槽的底部开设有滑腔,且滑腔与空腔相通,所述放置槽的内左侧壁固定连接有固定块,所述固定块的右侧与限位杆的左端固定连接。该爆破施工用防护结构,通过弹簧与移动块之间的配合,进而当拔出挡板时,弹簧将第二伸缩板弹出,而当第二伸缩板的底部不被顶板顶住时,其底部的活动套板随重力下降,再通过第二伸缩板和第一伸缩板之间的配合即可起到防护的作用,操作人员处于该装置后即可不被爆炸所产生的飞溅物伤害,由此达到了该装置便于安装的效果,但是该爆破施工用防护结构在频繁的进行小孔爆破时,需要频繁的移动爆破施工用防护结构,为此不能使用膨胀螺丝等直接固定的装置,需要施工人员进行手动扶持,放置起来极其的费时费力。
3、于是,有鉴于此,针对现有的结构不足予以研究改良,提出一种施工用防护设备。
技术实现思路
1、本实用新型的目的在于提供一种施工用防护设备,以解决上述背景技术中提出的问题。
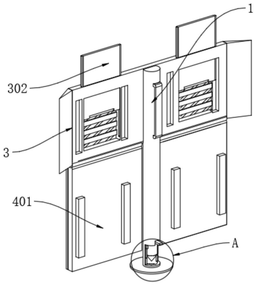
2、为实现上述目的,本实用新型提供如下技术方案:一种施工用防护设备,包括防护设备主体,所述防护设备主体的下端设置有支撑底板,且防护设备主体的内部开设有滑动槽,所述滑动槽的内部两侧设置有伸缩杆,且伸缩杆由压缩弹簧和限位杆组成,并且伸缩杆的上端设置有定位滑块,所述定位滑块的一侧表面设置有圆柱插块,且圆柱插块滑动安装在滑动槽的内部,并且圆柱插块的前端安装有脚踏板。
3、优选的,所述防护设备主体的前端上表面设置有防护板,且防护板的表面开设有观察口。
4、优选的,所述防护板的观察口的前端设置有防护条,且防护条的后端设置有钢化玻璃。
5、优选的,所述防护板的观察口的内部安装有滑动挡板,且滑动挡板与防护板的观察口之间为滑动连接。
6、优选的,所述防护板的下端设置有拓展板,且拓展板与防护板之间为转动连接。
7、优选的,所述拓展板的前端设置有缓冲装置,且缓冲装置由缓冲弹簧和限位杆组成。
8、优选的,所述缓冲装置的后端设置有缓冲板,且缓冲装置的下半部分安装有缓冲板的内部,所述缓冲装置的后端表面安装有缓冲垫片,且缓冲垫片由橡胶或泡沫材料组成。
9、与现有技术相比,本实用新型的有益效果是:
10、1.本实用新型通过防护设备主体、支撑底板、脚踏板、圆柱插块、伸缩杆、滑动槽和定位滑块的设置,通过圆柱插块的设置,可以在松软土地进行爆破时,对防护设备进行固定,省去施工人员手动扶持防护设备的时间,方便施工人员更好的观察爆破的效果;
11、2.本实用新型通过防护板、防护条、钢化玻璃和滑动挡板的设置,通过防护条和钢化玻璃的设置,可以在施工人员观察小孔爆破时,避免飞溅的砂石对观察口观看的施工人员进行保护,进一步的提高防护设备的防护能力;
12、3.本实用新型通过缓冲板、拓展板、缓冲装置和缓冲垫片的设置,通过缓冲板的设置,可以在小孔爆破时,抵抗因爆破产生的碎石对拓展板的冲击,减少碰撞产生的震动,保证拓展板的外观完整,提高拓展板的使用寿命,通过缓冲装置的设置,内部的缓冲弹簧通过压缩缓冲受到的冲击后再通过缓冲垫片传递给缓冲板减少拓展板受到的冲击。
技术特征:
1.一种施工用防护设备,包括防护设备主体(1),其特征在于,所述防护设备主体(1)的下端设置有支撑底板(101),且防护设备主体(1)的内部开设有滑动槽(203),所述滑动槽(203)的内部两侧设置有伸缩杆(202),且伸缩杆(202)由压缩弹簧和限位杆组成,并且伸缩杆(202)的上端设置有定位滑块(204),所述定位滑块(204)的一侧表面设置有圆柱插块(201),且圆柱插块(201)滑动安装在滑动槽(203)的内部,并且圆柱插块(201)的前端安装有脚踏板(2)。
2.根据权利要求1所述的一种施工用防护设备,其特征在于,所述防护设备主体(1)的前端上表面设置有防护板(3),且防护板(3)的表面开设有观察口。
3.根据权利要求2所述的一种施工用防护设备,其特征在于,所述防护板(3)的观察口的前端设置有防护条(301),且防护条(301)的后端设置有钢化玻璃(302)。
4.根据权利要求2所述的一种施工用防护设备,其特征在于,所述防护板(3)的观察口的内部安装有滑动挡板(303),且滑动挡板(303)与防护板(3)的观察口之间为滑动连接。
5.根据权利要求2所述的一种施工用防护设备,其特征在于,所述防护板(3)的下端设置有拓展板(401),且拓展板(401)与防护板(3)之间为转动连接。
6.根据权利要求5所述的一种施工用防护设备,其特征在于,所述拓展板(401)的前端设置有缓冲装置(402),且缓冲装置(402)由缓冲弹簧和限位杆组成。
7.根据权利要求6所述的一种施工用防护设备,其特征在于,所述缓冲装置(402)的后端设置有缓冲板(4),且缓冲装置(402)的下半部分安装有缓冲板(4)的内部,所述缓冲装置(402)的后端表面安装有缓冲垫片(403),且缓冲垫片(403)由橡胶或泡沫材料组成。
技术总结
本技术公开了一种施工用防护设备,涉及建筑施工设备技术领域,包括防护设备主体。所述防护设备主体的下端设置有支撑底板,且防护设备主体的内部开设有滑动槽,所述滑动槽的内部两侧设置有伸缩杆,且伸缩杆由压缩弹簧和限位杆组成,并且伸缩杆的上端设置有定位滑块,所述定位滑块的一侧表面设置有圆柱插块,且圆柱插块滑动安装在滑动槽的内部,并且圆柱插块的前端安装有脚踏板,该施工用防护设备,与现有的普通爆破施工用防护结构相比,通过圆柱插块的设置,可以频繁的对防护设备进行安装和拆除,确保防护设备的稳定性,减少人工扶持的时间,方便施工人员更好的观察小孔爆破的效果的同时,节省施工人员的体力。
技术研发人员:黄祝全,华金伟,严厚治,曾林涛,陈文科
受保护的技术使用者:中国安能集团第三工程局有限公司
技术研发日:20240222
技术公布日:2024/9/2
技术研发人员:黄祝全,华金伟,严厚治,曾林涛,陈文科
技术所有人:中国安能集团第三工程局有限公司
备 注:该技术已申请专利,仅供学习研究,如用于商业用途,请联系技术所有人。
声 明 :此信息收集于网络,如果你是此专利的发明人不想本网站收录此信息请联系我们,我们会在第一时间删除
