烯碳片压延用离型膜的制作方法

本技术涉及离型膜,具体为烯碳片压延用离型膜。
背景技术:
1、离型膜是指薄膜表面能有区分的薄膜,离型膜与特定的材料在有限的条件下接触后不具有粘性,或轻微的粘性,碳片由石墨制成的片状物体,一般呈黑色,烯碳片经过加热,通过相对旋转、水平设置的两辊筒之间的辊隙,制成胶片等半成品的工艺称为烯碳片压延。
2、烯碳片压延前需要对其外壁粘连离型膜,但有些离型膜在使用时导热能力较差,同时在压延完成后,需要将离型膜撕下时,由于有些离型膜抗拉性较差,导致撕下时离型膜断裂,影响了离型膜的使用寿命,对此有必要提出烯碳片压延用离型膜。
技术实现思路
1、本实用新型的目的在于提供烯碳片压延用离型膜,以解决上述背景技术中提出的问题。
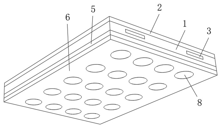
2、为实现上述目的,本实用新型提供如下技术方案:烯碳片压延用离型膜,包括离型膜主体与烯碳片主体,所述离型膜主体的上端设有烯碳片主体,所述离型膜主体靠近烯碳片主体的一端外壁呈对称状贯穿开设有两个凹槽,两个所述凹槽的内壁均固定连接有固定条,所述离型膜主体的下表面固定连接有加固层,所述加固层的外壁固定连接有导热层。
3、优选的,所述离型膜主体与加固层以及导热层的外壁共同等距贯穿开设有若干个导热孔,若干个所述导热孔的内壁均固定连接有导热块。
4、优选的,所述固定条与加固层的材质为聚乙烯。
5、优选的,所述导热层材质为硅胶。
6、优选的,所述导热孔与导热块均呈圆形状设置。
7、与现有技术相比,本实用新型的有益效果是:导热层对热量进行吸收,导热块在导热孔内对导热层内部的热量导入离型膜内,离型膜将热量传递至烯碳片内,当烯碳片压延后,将烯碳片与离型膜进行分离,加固带层对离型膜进行加固,防止离型膜拉扯时断裂,固定条对离型膜本体进行加固,增加离型膜的抗撕拉性,并可通过导热块对热量进行穿丝,增加离型膜的导热效率。
技术特征:
1.烯碳片压延用离型膜,包括离型膜主体(1)与烯碳片主体(2),所述离型膜主体(1)的上端设有烯碳片主体(2),其特征在于,所述离型膜主体(1)靠近烯碳片主体(2)的一端外壁呈对称状贯穿开设有两个凹槽(3),两个所述凹槽(3)的内壁均固定连接有固定条(4),所述离型膜主体(1)的下表面固定连接有加固层(5),所述加固层(5)的外壁固定连接有导热层(6)。
2.根据权利要求1所述的烯碳片压延用离型膜,其特征在于:所述离型膜主体(1)与加固层(5)以及导热层(6)的外壁共同等距贯穿开设有若干个导热孔(7),若干个所述导热孔(7)的内壁均固定连接有导热块(8)。
3.根据权利要求1所述的烯碳片压延用离型膜,其特征在于:所述固定条(4)与加固层(5)的材质为聚乙烯。
4.根据权利要求1所述的烯碳片压延用离型膜,其特征在于:所述导热层(6)材质为硅胶。
5.根据权利要求2所述的烯碳片压延用离型膜,其特征在于:所述导热孔(7)与导热块(8)均呈圆形状设置。
技术总结
本技术公开了烯碳片压延用离型膜,包括离型膜主体与烯碳片主体,所述离型膜主体的上端设有烯碳片主体,所述离型膜主体靠近烯碳片主体的一端外壁呈对称状贯穿开设有两个凹槽,两个所述凹槽的内壁均固定连接有固定条,所述离型膜主体的下表面固定连接有加固层,所述加固层的外壁固定连接有导热层,所述离型膜主体与加固层以及导热层的外壁共同等距贯穿开设有若干个导热孔,若干个所述导热孔的内壁均固定连接有导热块,所述固定条与加固层的材质为聚乙烯,加固带层对离型膜进行加固,防止离型膜拉扯时断裂,固定条对离型膜本体进行加固,增加离型膜的抗撕拉性,并可通过导热块对热量进行穿丝,增加离型膜的导热效率。
技术研发人员:田明智,罗汝明,徐福平
受保护的技术使用者:广东伟博新材料科技有限公司
技术研发日:20231226
技术公布日:2024/9/2
技术研发人员:田明智,罗汝明,徐福平
技术所有人:广东伟博新材料科技有限公司
备 注:该技术已申请专利,仅供学习研究,如用于商业用途,请联系技术所有人。
声 明 :此信息收集于网络,如果你是此专利的发明人不想本网站收录此信息请联系我们,我们会在第一时间删除
