一种基于AGV技术的物流分拣系统及分拣方法

本发明属于根据目标分拣邮件的设备领域,特别是涉及一种基于agv技术的物流分拣系统及分拣方法。
背景技术:
1、随着互联网技术的发展,人们利用网络采购物品的数量逐年增加,物流行业也飞速发展起来。在物流行业中,分拣和配送物流包裹是核心步骤。为了降低人力资源成本,目前,在物流包裹的分拣过程中使用了大量的自动化设备,其中,由于agv(automated guidedvehicle,自动导向车,又称自动导向搬运车)的工作噪音小、耗能低,所以越来越多的企业选择利用agv来进行物流分拣工作。
2、例如,申请公布号为cn117753672a,申请公布日为2024.03.26的中国发明专利中公开了一种基于agv技术的柔性交叉带分拣系统,该分拣系统包括环形路径(相当于环形主路)和用于控制整个分拣系统的控制单元,agv沿环形路径行驶,在环形路径的左右两侧设有用于将包裹放置到agv上的供包模块;在环形路径的前后两侧设有用于容纳分拣后的包裹的格口单元(相当于用于容纳包裹的容器单元),格口单元具有用于容纳异常包裹的异常格口(相当于异常包裹容器)和分别容纳不同地域的包裹的多个目的地移动格口(相当于容器单元具有至少两个分别用于容纳具有不同设定信息的包裹的正常包裹容器);环形路径包括供空载状态的agv接收包裹的接包区以及供载有包裹的agv向对应的格口移动的运输区,agv上设有用于沿垂直于agv运动方向移动包裹的皮带输送机,以将皮带输送机上的包裹移动至相应的格口内。
3、在使用上述分拣系统分拣包裹时,首先,工人将包裹放置到供包模块中,供包模块扫描包裹条码信息并测量包裹重量,同时,供包模块将相关的信息传送给控制系统,控制单元确定该包裹的目的地;之后,供包模块将该包裹运输至位于agv上,控制单元向载有该包裹的agv发送该包裹对应的目的地;再之后,agv沿环形路径向相应的目的地移动格口移动,在agv快到相应的目的地移动格口时,皮带输送机开始工作,该包裹的一端逐渐从agv上脱离,在该包裹从agv上脱离后,该包裹还会在惯性的作用下运动一定的距离并落入相应的目的地移动格口内,从而实现在agv不停止运动的情况下将包裹输送至相应的目的地移动格口。在agv将包裹运输至相应的目的地移动格口内后,控制单元将相应的agv的状态变更为空载状态,空载状态的agv沿着环形路径绕回供包模块处,从而接收下一个包裹。在包裹信息异常时,agv将异常的包裹运输至异常格口内。
4、但是,在上述分拣系统中,由于所有的agv均在同一条环形路径上运动,所以为了避免相邻两个agv撞车,空载状态的agv的移动速度与载有包裹的agv的移动速度相同,不利于空载状态的agv快速接收下一个包裹。同时,为了保证在agv不停止运动的情况下将不同大小的包裹输送至相应的目的地移动格口,agv的移动速度不能太快,从而给皮带输送机足够的时间将不同大小的包裹均运输至相应的目的地移动格口内。综上所述,agv的速度较慢,且空载状态的agv不能快速地回到供包模块处,从而导致分拣系统的分拣效率较低。
技术实现思路
1、本发明的目的在于提供一种基于agv技术的物流分拣方法,以解决现有技术中由于所有的agv均在同一条环形路径上运动,且为了保证在agv不停止运动的情况下将不同大小的包裹输送至相应的目的地移动格口,从而导致agv的速度较慢,且空载状态的agv不能快速地回到供包模块处,进而导致分拣系统的分拣效率较低的技术问题。
2、本发的目的还在于提供一种基于agv技术的物流分拣系统,以解决上述相同的技术问题。
3、为实现上述目的,本发明所提供的基于agv技术的物流分拣方法的技术方案是:
4、一种基于agv技术的物流分拣方法,将agv行驶的道路单元划分为环形主路、至少一条回车辅路和至少两条与正常包裹容器一一对应以供agv卸载包裹时行驶的分拣辅路,将环形主路划分为接包区和运输区,各分拣辅路均位于环形主路外部,各回车辅路均位于运输区内侧,使用时agv首先在接包区接收包裹,之后载有包裹的agv沿着运输区移动至相应的分拣辅路上并向对应的正常包裹容器卸载包裹,agv卸载包裹后穿过运输区进入回车辅路上,并通过回车辅路快速行驶至接包区以分拣下一个包裹。
5、本发明的基于agv技术的物流分拣方法的有益效果为:本发明为开拓性发明创造。载有包裹的agv能够离开环形主路的运输区并在相应的分拣辅路上将包裹卸载,避免agv在运输区上运行的速度受agv卸载包裹时所要求的速度的限制,从而提高agv在运输区上的运行速度。同时,运输区内侧设有回车辅路,载有包裹的agv行驶在运输区上,从而方便载有包裹的agv进入相应的分拣辅路,处于空载状态的agv行驶在回车辅路上,并利用回车辅路快速回到接包区并分拣下一个包裹,此时,位于回车辅路上的处于空载状态的agv的速度不受位于运输区上的载有包裹的agv的速度的限制,从而提升分拣系统的分拣效率。
6、为实现上述目的,本发明所提供的基于agv技术的物流分拣系统的技术方案是:
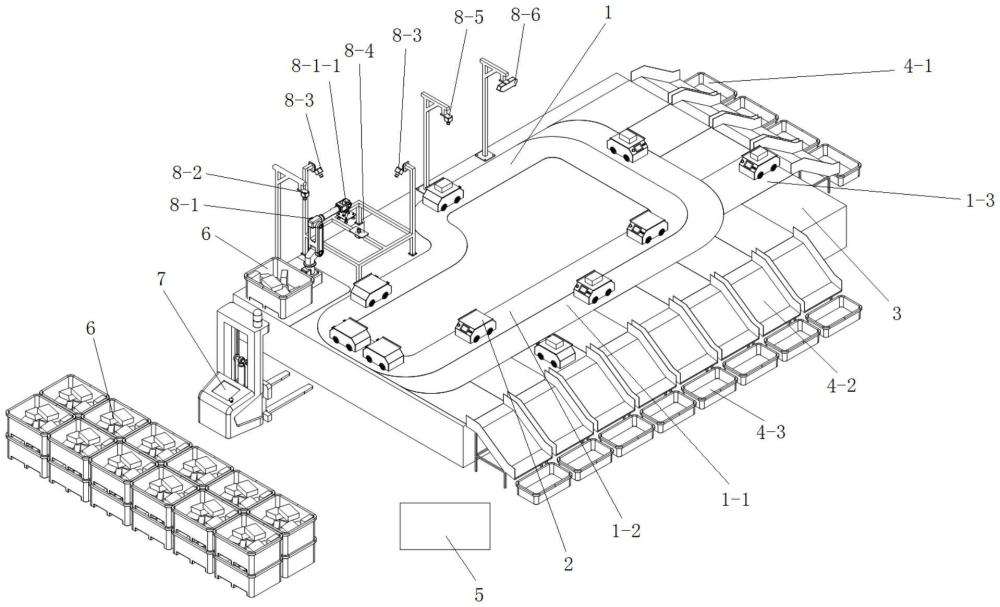
7、一种基于agv技术的物流分拣系统,包括agv、用于供agv行驶的道路单元和用于容纳包裹的容器单元,容器单元包括至少两个分别用于容纳具有不同设定信息的包裹的正常包裹容器,道路单元包括环形主路,环形主路包括供空载状态的agv接收包裹的接包区以及供载有包裹的agv向对应的正常包裹容器移动的运输区,道路单元还包括用于供agv卸载包裹时行驶的分拣辅路,各正常包裹容器均对应一条分拣辅路,且各分拣辅路均位于环形主路外部,运输区内侧设置有至少一条用于供卸载包裹后处于空载状态的agv行驶至接包区的回车辅路。
8、更进一步地,至少一条回车辅路的起始端和末端分别与运输区的起始端和末端相连通。
9、更进一步地,基于agv技术的物流分拣系统还包括工作台,道路单元设置在工作台的上表面上,容器单元设置在工作台的至少一侧,分拣辅路延伸至工作台的边缘处。
10、更进一步地,各分拣辅路与相应的正常包裹容器之间设有用于在包裹脱离agv后将包裹引导至正常包裹容器中的导向滑道。
11、更进一步地,容器单元还包括用于容纳异常包裹的异常包裹容器,异常包裹容器位于运输区的起始端,且异常包裹容器配置也有位于环形主路外部的分拣辅路。
12、更进一步地,道路单元的旁侧还设有用于将包裹放置到小车上并扫描包裹的识别码的扫码识别单元,环形主路与扫码识别单元相对应的区域构成所述的接包区。
13、更进一步地,基于agv技术的物流分拣系统还包括用于盛装至少两个包裹的中转箱,扫码识别单元包括用于拍摄中转箱内包裹的状态的视觉相机、用于根据视觉相机拍摄到的信息来吸住单个包裹的顶面以转运包裹的机械臂式机器人、用于拍摄包裹底面的底面拍摄相机和用于拍摄包裹全部侧面的至少一个侧面拍摄相机,机器臂式机器人具有用于伸入中转箱内以吸取包裹的吸取工位、用于将包裹移动至底面拍摄相机和侧面拍摄相机处以供对应相机拍摄包裹的扫码工位和用于将包裹放置到agv上的释放工位,机械臂式机器人依次执行吸取工位、扫码工位和释放工位;扫码识别单元还包括用于拍摄位于agv上的包裹的顶面的顶面拍摄相机。
14、更进一步地,扫码识别单元还包括用于在包裹的识别码被扫描后检测包裹三维尺寸的体积检测相机。
15、更进一步地,基于agv技术的物流分拣系统还包括用于存储中转箱的存储区和叉车,叉车具有将存储区中装有包裹的中转箱运输至扫码单元处的上料工作状态和将扫码单元处的空的中转箱移走的卸料工作状态。
16、本发明的基于agv技术的物流分拣系统的有益效果为:本发明为改进型发明创造。载有包裹的agv能够离开运输区并在相应的分拣辅路上将包裹卸载至容器单元中,避免agv在运输区上运行的速度受agv卸载包裹时所要求的速度的限制,从而提高agv在运输区上的运行速度。同时,运输区内侧设有回车辅路,载有包裹的agv行驶在运输区上,从而方便载有包裹的agv进入相应的分拣辅路,处于空载状态的agv行驶在回车辅路上,并利用回车辅路快速回到接包区并分拣下一个包裹,此时,位于回车辅路上的处于空载状态的agv的速度不受位于运输区上的载有包裹的agv的速度的限制,从而提升分拣系统的分拣效率。
17、具体地,在使用本技术方案中的基于agv技术的物流分拣系统分拣包裹时,以其中一个agv(下称示例agv)为例进行介绍,首先,示例agv在接包区接收包裹;之后,示例agv在接包区上行驶,在环形主路运行到运输区上后,示例agv行驶在运输区上;再之后,示例agv行驶至相应的分拣辅路中,并在分拣辅路中将包裹卸载至容器单元中;最后,示例agv穿越运输区进入回车辅路中,示例agv在回车辅路中快速行驶以去分拣下一个包裹。
18、综上所述,在运输区上的agv不受agv卸载包裹时所要求的速度的限制,在回车辅路上行驶的处于空载状态的agv不受在运输区上行驶的载有包裹的agv的速度的限制,从而提升分拣系统的分拣效率。
技术研发人员:张丰收,韩宇,庄高帅,屈源昊,何奥辉,段庆阳
技术所有人:河南科技大学
备 注:该技术已申请专利,仅供学习研究,如用于商业用途,请联系技术所有人。
声 明 :此信息收集于网络,如果你是此专利的发明人不想本网站收录此信息请联系我们,我们会在第一时间删除
