一种两轮电动车锂离子电池充换电火灾防控装置的制作方法

本发明属于火灾防控,具体为一种两轮电动车锂离子电池充换电火灾防控装置。
背景技术:
1、两轮电动车的锂离子电池在使用的过程中电量会降低,而在一些外卖等需要长时间使用两轮电动车的情况下,会使用充换电形式的电池,将电池放入两轮电动车锂离子电池充换电柜中,进行充电,再将充换电柜中已经充满的电池拿出进行使用即可;
2、申请号为“cn202210842753.1”的中国发明专利公开了一种锂离子电池储能系统火灾防控装置,火灾探测器本体能够在储能电站内侧进行移动检测工作,从而不需要在每个电池架上均安装一个火灾探测器本体,通过一个火灾探测器本体即可以完成储能电站内侧的火灾检测工作,极大的节省了火灾探测的成本,且在发生火灾时,可以通过防护盖板将移动至凸板平板部处的火灾探测器本体盖住,从而避免颗粒物以及全氟己酮掉落在火灾探测器本体上对火灾探测器本体的探测性能造成影响;
3、但是在使用时,仅仅是对探测器进行保护,无法更为有效的进行火灾防控,锂离子电池在充电时需要更为及时的进行火灾防控,如果没有及时防控,会出现短路漏电的情况,从而造成更大的危险。
技术实现思路
1、本发明的目的在于提供一种两轮电动车锂离子电池充换电火灾防控装置,以解决上述背景技术中提出的问题。
2、为了实现上述目的,本发明提供如下技术方案:一种两轮电动车锂离子电池充换电火灾防控装置,包括充换电柜和感应器,还包括:
3、分隔结构,其设置在充换电柜的内腔且用于分隔电池的电力来源;
4、密封结构,其设置在充换电柜的内腔且用于充换电柜内部空间的密封;
5、保护降温结构,其设置在充换电柜的内腔且用于对感应器的保护;
6、驱动结构,其设置在的充换电柜的内腔且用于驱动分隔结构和密封结构运转;
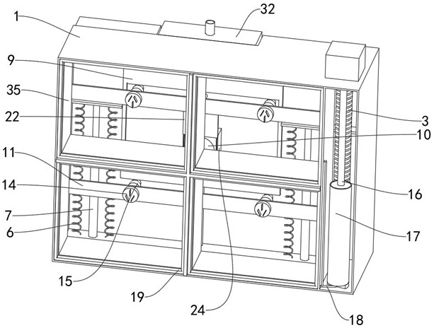
7、其中,分隔结构包括支撑弹簧,所述支撑弹簧和支撑阻尼伸缩杆均固定安装在充换电柜内腔的底端,活动板固定连接在支撑阻尼伸缩杆的顶端,隔开板固定连接在活动板靠近充换电柜中心处的一侧,固定板固定安装在充换电柜内腔的中部,弹簧组件固定安装在固定板靠近隔开板的一侧,电触头一固定安装在弹簧组件远离固定板的一侧,充电头固定连接在固定板远离弹簧组件的一侧,电触头二固定连接在充换电柜远离电触头一的一侧。
8、优选的,所述弹簧组件由弹簧和空心阻尼伸缩杆组成,所述电触头一的前侧固定连接有导线,所述导线穿过空心阻尼伸缩杆,所述电触头一和充电头通过导线电性连接。
9、优选的,所述隔开板共有两个,两个所述隔开板通过矩形杆固定连接,所述活动板与矩形杆固定连接。
10、优选的,所述密封结构包括活塞杆,所述活塞杆固定安装在驱动结构的远离压板的一侧,活塞筒固定安装在充换电柜内腔的底部的一侧,所述活塞杆活动套接在活塞筒的内腔,连接管固定安装在活塞筒的底端,密封气囊固定安装在连接管远离活塞筒的一侧,密封气囊通过连接管与活塞筒的内腔贯通,开关门设置在充换电柜远离密封气囊的一侧,充电仓设置在充换电柜内腔远离充电头的一侧。
11、优选的,所述密封气囊共有四个,四个所述密封气囊相互贯通,密封气囊设置在充电仓的边框上,且和开关门配合。
12、优选的,所述保护降温结构包括保护组件和降温组件,所述保护组件包括连接板,所述连接板固定连接在隔开板远离电触头二的一侧,阻挡板固定连接在连接板的底部,卡接条固定安装在阻挡板靠近感应器的一侧,降温空心仓固定安装在充换电柜内腔靠近阻挡板的一侧,阻挡板通过卡接条与降温空心仓滑动连接,感应器位于降温空心仓的内腔。
13、优选的,所述降温组件包括控制管,所述控制管固定安装在降温空心仓的顶端,支撑管固定连接在控制管远离阻挡板的一侧,挤压弹簧固定连接在支撑管的内腔,堵塞头固定连接在挤压弹簧远离支撑管的一侧,活动块固定连接在堵塞头远离挤压弹簧的一侧,进水管固定连接在控制管的顶端,慢出水阀固定安装在进水管的顶端,储水仓固定安装在进水管的顶端且与进水管的内腔贯通,出水管固定安装在降温空心仓的底端,出水管的底部穿过充换电柜的底端,斜面板固定安装在连接板靠近阻挡板的一侧,斜面板位于阻挡板的顶部。
14、优选的,所述活动块与阻挡板接触,所述堵塞头位于控制管的内腔,所述控制管与降温空心仓的内部贯通,所述出水管与降温空心仓的内部贯通。
15、优选的,所述驱动结构包括伺服电机,所述伺服电机固定安装在充换电柜的顶部,螺纹杆固定套装在伺服电机的输出轴,所述移动环啮合在螺纹杆的表面,所述压板和活塞杆均与移动环固定连接。
16、本发明的有益效果如下:
17、本发明通过在发生火灾时,通过隔开板将电触头一和电触头二隔开,进而使得充电头断电,从而实现了在发生火灾时对正在充电的电池进行及时断电,防止出现短路或者漏电引起更多的危险。同时检测到火灾的初步信号时,会驱动活塞筒内腔的空气挤入密封气囊的内腔,从而使得密封气囊的体积增大,进而通过密封气囊对开关门与充换电柜的空隙处进行堵塞,避免充换电柜和外部的空气流通,从而隔绝氧气,使得燃烧无法进行。在火灾发生时,阻挡板下移对降温空心仓的内腔进行密封,从而对感应器进行保护,避免火灾烟雾中的粉尘以及全氟己酮与感应器接触,导致感应器损坏的情况出现,并且使得储水仓内腔的冷却水能够沿着进水管和慢出水阀缓慢的通过控制管进入降温空心仓的内部,对降温空心仓的热量进行吸收,确保感应器不会受到高温影响而损坏。
技术特征:
1.一种两轮电动车锂离子电池充换电火灾防控装置,包括充换电柜(1)和感应器(10),其特征在于,还包括:
2.根据权利要求1所述的一种两轮电动车锂离子电池充换电火灾防控装置,其特征在于,所述弹簧组件(12)由弹簧和空心阻尼伸缩杆组成,所述电触头一(13)的前侧固定连接有导线,所述导线穿过空心阻尼伸缩杆,所述电触头一(13)和充电头(14)通过导线电性连接。
3.根据权利要求1所述的一种两轮电动车锂离子电池充换电火灾防控装置,其特征在于,所述隔开板(9)共有两个,两个所述隔开板(9)通过矩形杆固定连接,所述活动板(8)与矩形杆固定连接。
4.根据权利要求1所述的一种两轮电动车锂离子电池充换电火灾防控装置,其特征在于,所述密封结构包括活塞杆(16),所述活塞杆(16)固定安装在驱动结构的远离压板(5)的一侧,活塞筒(17)固定安装在充换电柜(1)内腔的底部的一侧,所述活塞杆(16)活动套接在活塞筒(17)的内腔,连接管(18)固定安装在活塞筒(17)的底端,密封气囊(19)固定安装在连接管(18)远离活塞筒(17)的一侧,密封气囊(19)通过连接管(18)与活塞筒(17)的内腔贯通,开关门(20)设置在充换电柜(1)远离密封气囊(19)的一侧,充电仓(35)设置在充换电柜(1)内腔远离充电头(14)的一侧。
5.根据权利要求4所述的一种两轮电动车锂离子电池充换电火灾防控装置,其特征在于,所述密封气囊(19)共有四个,四个所述密封气囊(19)相互贯通,密封气囊(19)设置在充电仓(35)的边框上,且和开关门(20)配合。
6.根据权利要求5所述的一种两轮电动车锂离子电池充换电火灾防控装置,其特征在于,所述降温组件包括控制管(25),所述控制管(25)固定安装在降温空心仓(24)的顶端,支撑管(26)固定连接在控制管(25)远离阻挡板(22)的一侧,挤压弹簧(27)固定连接在支撑管(26)的内腔,堵塞头(28)固定连接在挤压弹簧(27)远离支撑管(26)的一侧,活动块(29)固定连接在堵塞头(28)远离挤压弹簧(27)的一侧,进水管(30)固定连接在控制管(25)的顶端,慢出水阀(31)固定安装在进水管(30)的顶端,储水仓(32)固定安装在进水管(30)的顶端且与进水管(30)的内腔贯通,出水管(33)固定安装在降温空心仓(24)的底端,出水管(33)的底部穿过充换电柜(1)的底端,斜面板(34)固定安装在连接板(21)靠近阻挡板(22)的一侧,斜面板(34)位于阻挡板(22)的顶部。
7.根据权利要求6所述的一种两轮电动车锂离子电池充换电火灾防控装置,其特征在于,所述活动块(29)与阻挡板(22)接触,所述堵塞头(28)位于控制管(25)的内腔,所述控制管(25)与降温空心仓(24)的内部贯通,所述出水管(33)与降温空心仓(24)的内部贯通。
8.根据权利要求6所述的一种两轮电动车锂离子电池充换电火灾防控装置,其特征在于,所述驱动结构包括伺服电机(2),所述伺服电机(2)固定安装在充换电柜(1)的顶部,螺纹杆(3)固定套装在伺服电机(2)的输出轴,移动环(4)啮合在螺纹杆(3)的表面,所述压板(5)和活塞杆(16)均与移动环(4)固定连接。
技术总结
本发明属于火灾防控技术领域,且公开了一种两轮电动车锂离子电池充换电火灾防控装置,包括充换电柜和感应器,还包括分隔结构,其设置在充换电柜的内腔且用于分隔电池的电力来源,密封结构设置在充换电柜的内腔且用于充换电柜内部空间的密封,保护降温结构设置在充换电柜的内腔且用于对感应器的保护,驱动结构设置在的充换电柜的内腔且用于驱动分隔结构和密封结构运转。在发生火灾时,通过隔开板将电触头一和电触头二隔开,进而使得充电头断电,防止出现短路或者漏电引起更多的危险。同时检测到火灾的初步信号时,密封气囊的体积增大,通过密封气囊对开关门与充换电柜的空隙处进行堵塞,从而隔绝外部氧气进入,使得燃烧无法进行。
技术研发人员:艾亮东,祝文科,毛宜兵,张秦哲,艾文轩,艾滔,熊代胜
受保护的技术使用者:湖南星硕传感科技有限公司
技术研发日:
技术公布日:2024/9/2
技术研发人员:艾亮东,祝文科,毛宜兵,张秦哲,艾文轩,艾滔,熊代胜
技术所有人:湖南星硕传感科技有限公司
备 注:该技术已申请专利,仅供学习研究,如用于商业用途,请联系技术所有人。
声 明 :此信息收集于网络,如果你是此专利的发明人不想本网站收录此信息请联系我们,我们会在第一时间删除
