一种具有防卡死功能的逃生缓降器的制作方法

本技术属于逃生设备,尤其涉及一种具有防卡死功能的逃生缓降器。
背景技术:
1、缓降器是是一种可使人沿绳缓慢下降的安全营救装置。它可用专用安装器具安装在建筑物窗口、阳台或楼房平顶等处,也可安装在举高消防车上,营救处于高层建筑物火场上的受难人员,现有的防卡死逃生缓降器包括壳体、盖板、连接柱、绕绳卷筒、环形挡板、定位部、安装部、第一阻尼件、定位槽、第二阻尼件、转轴装置、旋转轴、环形凸起部、传动环、安装架、套筒、连接盘、传动装置、内齿圈、行星轮、太阳轮、连接轴、曲面段、平面段,这种防卡死逃生缓降器在进行使用的过程中无法进行遮挡防护工作以及在使用的过程中无法进行快速安装的问题。
技术实现思路
1、为了解决上述技术问题,本实用新型提供一种具有防卡死功能的逃生缓降器,通过在使用的过程中对遮挡机构进行改进,方便在使用的过程中进行遮挡工作以及在使用的过程中对固定机构进行改进,方便在使用的过程中进行快速拼装的目的。
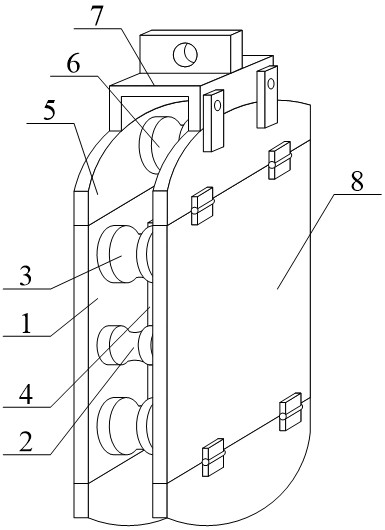
2、一种具有防卡死功能的逃生缓降器,包括支撑板1,所述的支撑板1的右侧前面中间位置和右侧后面中间位置分别销轴连接有阻线辊2;所述的支撑板1的右侧前面上部和右侧前面下部分别销轴连接有绕线辊3;所述的支撑板1的后侧后面上部和右侧后面下部分别销轴连接绕线辊3;所述的支撑板1的右侧中间位置螺栓固定有拼接块4;所述的支撑板1的上下两端分别螺栓固定有延伸板5;所述的延伸板5的右侧中间位置分别销轴连接有中心辊6,其特征在于,上端设置的所述的延伸板5的上端分别设置有可挂接安装遮挡架结构7;所述的拼接块4的右端设置有可遮挡转动复合板结构8。
3、优选的,所述的可挂接安装遮挡架结构7包括固定架71,所述的固定架71的上端中间位置焊接有悬挂板72;所述的悬挂板72的内部中间位置开设有挂接孔73;所述的固定架71的右侧前面和右侧后面分别销轴连接有转动遮挡板74。
4、优选的,所述的可遮挡转动复合板结构8包括复合板81,所述的复合板81的右侧上部前面和右侧上部后面分别螺栓固定有合页82;所述的复合板81的右侧下部前面和右侧下部后面分别螺栓固定有合页82;上端设置的所述的合页82的上端分别螺栓固定在上遮挡板83的右侧下部前面和右侧下部后面;下端设置的所述的合页82的下端分别螺栓固定在下遮挡板84的右侧上部前面和右侧上部后面。
5、与现有技术相比,本实用新型的有益效果为:
6、本实用新型中,所述的支撑板1,阻线辊2,绕线辊3,拼接块4,延伸板5,中心辊6,复合板81,合页82,上遮挡板83以及下遮挡板84相互配合的设置,有利于在使用过程中通过绳索绕过阻线辊2和绕线辊3以及中心辊6的外壁后,经过合页82和上遮挡板83以及下遮挡板84配合,进行绳索遮挡工作,防止缓降的过程中绳索卡死或者脱落的目的。
7、本实用新型中,所述的支撑板1,延伸板5,固定架71,悬挂板72,挂接孔73以及转动遮挡板74相互配合的设置,有利于在使用的过程中通过固定架71和悬挂板72以及挂接孔73进行配合后,方便在使用的过程中进行快速拼装工作。
技术特征:
1.一种具有防卡死功能的逃生缓降器,包括支撑板(1),所述的支撑板(1)的右侧前面中间位置和右侧后面中间位置分别销轴连接有阻线辊(2);所述的支撑板(1)的右侧前面上部和右侧前面下部分别销轴连接有绕线辊(3);所述的支撑板(1)的后侧后面上部和右侧后面下部分别销轴连接绕线辊(3);所述的支撑板(1)的右侧中间位置螺栓固定有拼接块(4);所述的支撑板(1)的上下两端分别螺栓固定有延伸板(5);所述的延伸板(5)的右侧中间位置分别销轴连接有中心辊(6);其特征在于,该具有防卡死功能的逃生缓降器中上端设置的所述的延伸板(5)的上端分别设置有可挂接安装遮挡架结构(7);所述的拼接块(4)的右端设置有可遮挡转动复合板结构(8)。
2.如权利要求1所述的具有防卡死功能的逃生缓降器,其特征在于,所述的可挂接安装遮挡架结构(7)包括固定架(71),所述的固定架(71)的上端中间位置焊接有悬挂板(72);所述的悬挂板(72)的内部中间位置开设有挂接孔(73);所述的固定架(71)的右侧前面和右侧后面分别销轴连接有转动遮挡板(74)。
3.如权利要求1所述的具有防卡死功能的逃生缓降器,其特征在于,所述的可遮挡转动复合板结构(8)包括复合板(81),所述的复合板(81)的右侧上部前面和右侧上部后面分别螺栓固定有合页(82);所述的复合板(81)的右侧下部前面和右侧下部后面分别螺栓固定有合页(82);上端设置的所述的合页(82)的上端分别螺栓固定在上遮挡板(83)的右侧下部前面和右侧下部后面;下端设置的所述的合页(82)的下端分别螺栓固定在下遮挡板(84)的右侧上部前面和右侧上部后面。
4.如权利要求1所述的具有防卡死功能的逃生缓降器,其特征在于,所述的拼接块(4)采用长方体的不锈钢块且所述拼接块(4)的上下两端分别胶接有软体橡胶块。
5.如权利要求2所述的具有防卡死功能的逃生缓降器,其特征在于,所述的固定架(71)的底端左侧焊接在上端设置的延伸板(5)的上端中间位置。
6.如权利要求3所述的具有防卡死功能的逃生缓降器,其特征在于,所述的拼接块(4)的右端螺栓固定在复合板(81)的左侧中间位置。
技术总结
本技术提供一种具有防卡死功能的逃生缓降器,包括支撑板1,阻线辊2,绕线辊3,拼接块4,延伸板5,中心辊6,可挂接安装遮挡架结构7以及可遮挡转动复合板结构8;所述的支撑板1的右侧前面上部和右侧前面下部分别销轴连接有绕线辊3。本技术支撑板1,阻线辊2,绕线辊3,拼接块4,延伸板5,中心辊6,复合板81,合页82,上遮挡板83以及下遮挡板84相互配合的设置,有利于在使用过程中通过绳索绕过阻线辊2和绕线辊3以及中心辊6的外壁后,经过合页82和上遮挡板83以及下遮挡板84配合,进行绳索遮挡工作,防止缓降的过程中绳索卡死或者脱落的目的。
技术研发人员:张雷,张同坤,李洋
受保护的技术使用者:山东居安特消防科技有限公司
技术研发日:20240108
技术公布日:2024/9/2
技术研发人员:张雷,张同坤,李洋
技术所有人:山东居安特消防科技有限公司
备 注:该技术已申请专利,仅供学习研究,如用于商业用途,请联系技术所有人。
声 明 :此信息收集于网络,如果你是此专利的发明人不想本网站收录此信息请联系我们,我们会在第一时间删除
